NXT-II 安装手册.pdf - 第78页
3. 机器的安装 QD139-11 66 NXT II 安装手册 3.10 料盘单元 -LTC 3.10.1 固定筋板的拆除 请拆除安装在料盘单元 -LTC 上的固定筋 板 ( 红色 )。 请保管好拆除的筋板和螺栓。移 设时需要重新使用。 30SET -0107

QD139-11 3. 机器的安装
NXT II 安装手册 65
9. 向右拧紧锁定旋钮。
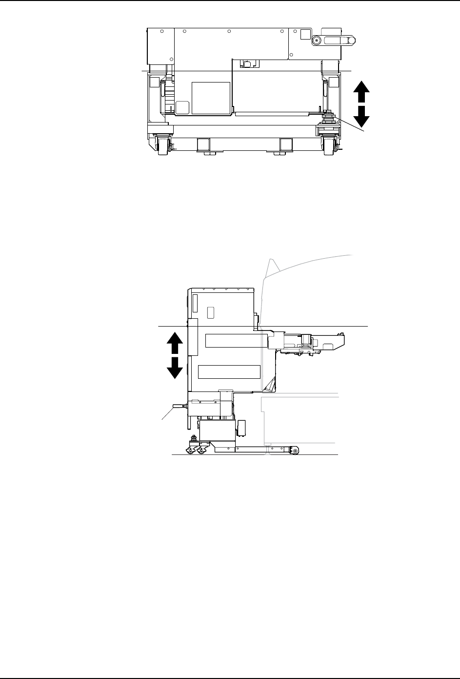
10.旋转折叠式手柄,通过调节料盘单元 -LT 的高度来调整 Y 轴方向上的水平度。
注意 )由于料盘单元 -LT 处于被机器夹紧的状态,大幅度调整高度可能使连接销损坏。请慢
慢小心的进行调整。
11.紧固锁定杆。
12.锁定左右的脚轮。
30SET-0040Sa
XX'
䈹᮪㷰ѓ
01SET-0384S
ᢡཾᘧᡭ
㝐䖤
YY'

3. 机器的安装 QD139-11
66 NXT II 安装手册
3.10 料盘单元 -LTC
3.10.1 固定筋板的拆除
请拆除安装在料盘单元 -LTC 上的固定筋板 ( 红色 )。
请保管好拆除的筋板和螺栓。移设时需要重新使用。
30SET-0107

QD139-11 3. 机器的安装
NXT II 安装手册 67
3.10.2 高度和倾斜度的调整
在新安装料盘单元 -LTC 或者移置到别处时,请调整料盘单元 -LTC 的高度和倾斜度。只要调
整一次后,在安装 / 拆卸到相同的地方时就不需要重新调整。
该作业需要使用水平仪 (2 个)。首先,在机器外预调整料盘单元 -LTC 高度和倾斜度。其
次,在料盘单元 -LTC 夹紧在机器内的状态下进行主调整。
1. 进行安装料盘单元 -LTC 的机器侧的准备。请从模组上拆下料带元件相关的单元,变更
元件相机的位置。详细请参照 「NXT II 机械手册」的 「基本操作」章节的 「料盘单元
-LTC 的拆除 / 安装」。
2. 逆时针拧松料盘单元 -LTC 下方的左右锁定杆。
3. 旋转折叠式手柄,使料盘单元 -LTC 的滚轮与模组端料站基座槽的大致高度相一致。此
时,请不要将料盘单元 -LTC 插入机器本体。
01SET-0332Sa
䫕ᅮᴚ
01SET-0331Sa
᭭Ⲭऩܗⱘ⒮䕂
ᡬᓣᶘ
᭭キᑻⱘῑ
᭭Ⲭऩܗⱘ⒮䕂