NXT-II 安装手册.pdf - 第61页
QD139-11 3. 机器的安装 NXT II 安装手册 49 三搬运轨道搭载模组用 RH2136* RH0814*(3 m) RH0816*(3 m) RH0816*(3 m) RH0814*(3 m) LANE1-F CN-M1 CN-M2 LANE1-R 01SET-0310S RH2138* (1.5 m) RH2137* (3 m) RH2139* (5 m) RH2138* (1.5 m) RH2137* (3 m) RH…

3. 机器的安装 QD139-11
48 NXT II 安装手册
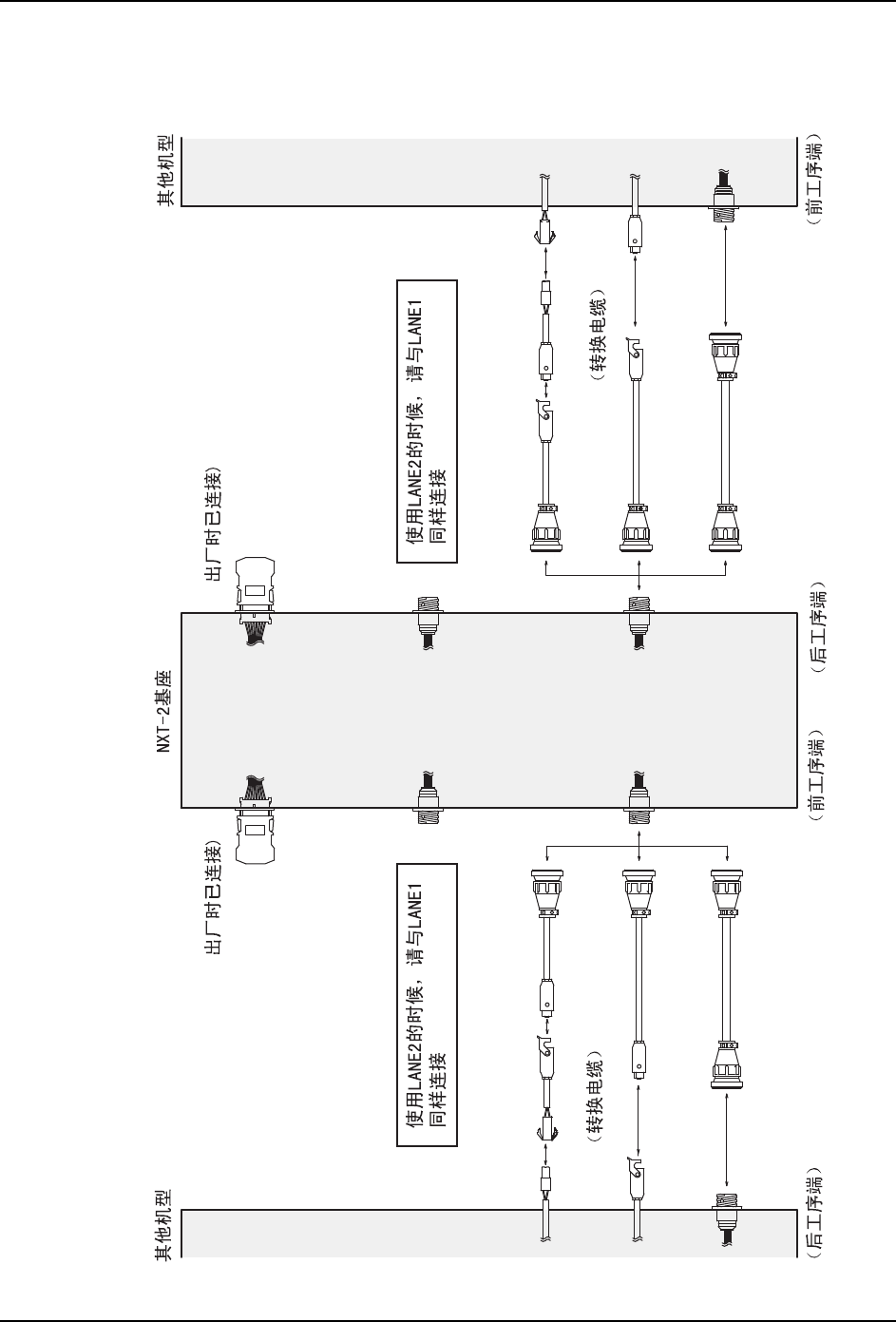
3.7.1 信号电缆连接图 (其他机型 -NXT-2- 其他机型)
标准尺寸 (单 / 双搬运轨道搭载模组用)
RH2136*
RH0814*(3 m)
RH0816*(3 m)
RH0816*(3 m)
RH0814*(3 m)
LANE1-F
LANE2-F
CN-M1 CN-M2
LANE2-R
LANE1-R
01SET-0168Sb
(
RH3485*: 2M-2
RH3442*: 4M-2
RH3487*: 2M-2
RH3444*: 4M-2
RH2138* (1.5 m)
RH2137* (3 m)
RH2139* (5 m)
RH2138* (1.5 m)
RH2137* (3 m)
RH2139* (5 m)
RH2135*
(

QD139-11 3. 机器的安装
NXT II 安装手册 49
三搬运轨道搭载模组用
RH2136*
RH0814*(3 m)
RH0816*(3 m)
RH0816*(3 m)
RH0814*(3 m)
LANE1-F
CN-M1 CN-M2
LANE1-R
01SET-0310S
RH2138* (1.5 m)
RH2137* (3 m)
RH2139* (5 m)
RH2138* (1.5 m)
RH2137* (3 m)
RH2139* (5 m)
RH2135*
LANE2-F LANE2-R
LANE3-F LANE3-R
(ߎॖᯊᏆ䖲
RH3485*: 2M-2
RH3442*: 4M-2
RH3487*: 2M-2
RH3444*: 4M-2
˄䕀ᤶ⬉㓚˅
1;7ᑻ
݊Ҫᴎൟ
݊Ҫᴎൟ
˄䕀ᤶ⬉㓚˅
(ߎॖᯊᏆ䖲
Փ⫼/$1(ⱘᯊˈ䇋Ϣ/$1(
ৠḋ䖲
Փ⫼/$1(ⱘᯊˈ䇋Ϣ/$1(
ৠḋ䖲
Փ⫼/$1(ⱘᯊˈ䇋Ϣ/$1(
ৠḋ䖲
Փ⫼/$1(ⱘᯊˈ䇋Ϣ/$1(
ৠḋ䖲
˄ࠡᎹᑣッ˅
˄ࠡᎹᑣッ˅
˄ৢᎹᑣッ˅
˄ৢᎹᑣッ˅

3. 机器的安装 QD139-11
50 NXT II 安装手册
3.7.2 连接时的注意事项
a. 在NXT-2前(後)工序机器的电路板搬送接口电路,请设置下记输入信号的电压、
电流流动的输出电路。此外,请不要从前(後)工序机器到NXT-2的电路板搬送接
口电路,施加超过下记输出信号的电压、电流。
电气规格
·输入信号 : 电压值 DC24V(±25%),电流值 10mA
·输出信号 : 电压值 DC30V,电流值 10mA
b. 连接机器间的连接电缆时,请务必使双方的机器电源 OFF。即使机器电源在某一方处
于 ON 的状态下接上了连接电缆,电路板搬送接口电路板也有损坏的可能。
c. 请将前(後)工序机器的接口信号地面线和地线(机架接地:FG)间的电位差调为
0V。NXT-2 和前 (後)工序机器的接口信号之间,地面线的电位差很大时,接口电路
板有损坏的可能。请按下面 2 种方法内的某一种进行对应。
·使接口信号地面线和地线 (FG) 间短路。但是,请务必进行机器地线 (FG) 的连接。
·接口信号地面线与地线 (FG) 完全绝缘。
备注 )NXT-2 接口信号地面线与地线 (FG) 短路。
01SET-0377S
Board available
Panel request
(䕧ߎֵো)
NXT-2
ࠡᎹᑣ
ৢᎹᑣ
+24 V
0 V
+24 V
0 V
Board available
Panel request
(䕧ֵܹো)
(䕧ߎֵো)
(䕧ֵܹো)
6(76
1;7
ࠡ˄ৢ˅Ꮉᑣ
ഄ䴶㒓gഄ㒓䯈⬉य़˖9
ഄ㒓㧔)*㧕
9
㧔
ഄ䴶㒓㧦9㧕