AIM 安装手册 QD045-03.pdf - 第44页
3. 机器的安装 QD045-03 34 AIM 安装手册 3.4.2 AIM 与其他机种连接时 在本机前后连接 AIM 以外的机种时的要点如下。 备注 ) 在此以正流向 (左→右)连接为例进行说明。

QD045-03 3. 机器的安装
AIM 安装手册 33
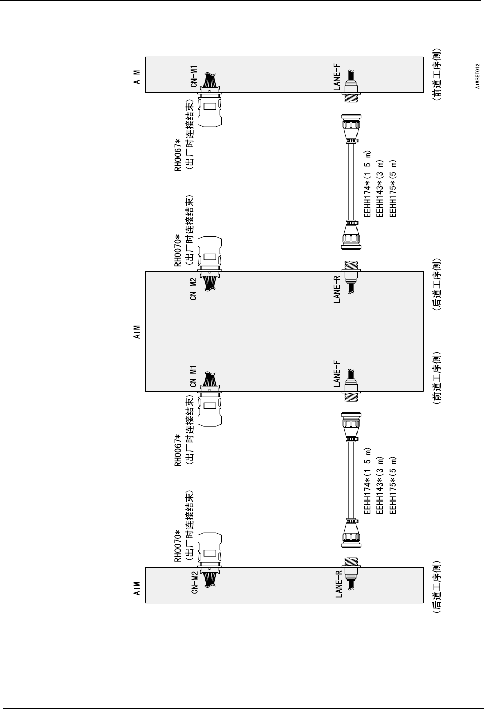
信号电缆连接图

3. 机器的安装 QD045-03
34 AIM 安装手册
3.4.2 AIM 与其他机种连接时
在本机前后连接 AIM 以外的机种时的要点如下。
备注 ) 在此以正流向 (左→右)连接为例进行说明。

QD045-03 3. 机器的安装
AIM 安装手册 35
连接方法
1. 拆除 Side1 侧的盖板。
2. 在前道工序电路板搬运 I/F 箱和后道工序电路板搬运 I/F 箱的 LANE 接插头上安装连接电
缆(a型或者b型)。
3. 在前道工序电路板搬运 I/F 箱的 CN-M1 和后道工序电路板搬运 I/F 箱的 CN-M2 上保留安
装的接插件 (RH0067*/RH0070*)。
4. 将连接好的电缆 (前后各 1 根)从基座下取出,并连接至前道工序的"送向后道工序的
输入信号"用的端子和后道工序的"从前道工序的送出的输出信号"用的端子上。
注意
·请务必在断电后进行接插件的插拔。
·连接接插头时,请注意确认接插头的名称不要有错。
·请紧紧地插入接插头。