AIM 安装手册 QD045-03.pdf - 第47页
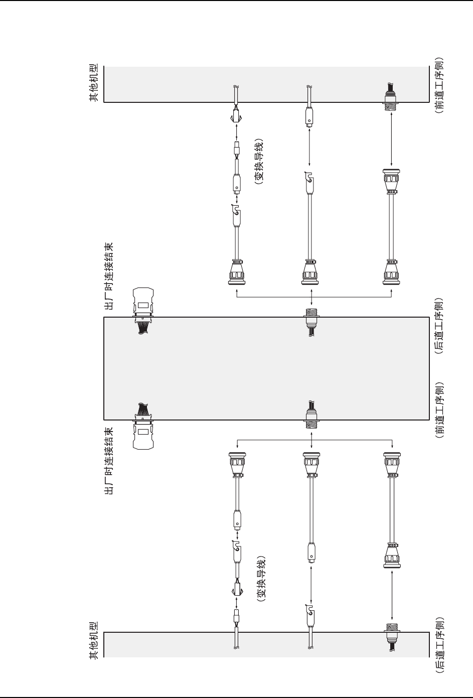
QD045-03 3. 机器的安装 AIM 安装手册 37 3.5 周围机器的连接 向 AIM 基座连接往复臂单元或双搬运轨道等周围机器 时的工序如下。 3.5.1 将周围机器连接到 AIM 之间 本机前后连接有 AIM,并在其间连接周围机器时的要点 如下。 备注 ) 在此以正流向 (左→右)连接为例进行说明。 AIM AIM 3 2 1 CN-M1/CN-M2

3. 机器的安装 QD045-03
36 AIM 安装手册
信号电缆连接图
EEHH143*(3 m)
EEHH118*
EEHH117*
RH0814*(3 m)
RH0816*(3 m)
RH0816*(3 m)
RH0814*(3 m)
EEHH174*(1.5 m)
EEHH175*(5 m)
EEHH143*(3 m)
EEHH174*(1.5 m)
EEHH175*(5 m)
LANE-F
CN-M1 CN-M2
LANE-R
AIM
RH0070*RH0067*
AIMSET015S

QD045-03 3. 机器的安装
AIM 安装手册 37
3.5 周围机器的连接
向 AIM 基座连接往复臂单元或双搬运轨道等周围机器时的工序如下。
3.5.1 将周围机器连接到 AIM 之间
本机前后连接有 AIM,并在其间连接周围机器时的要点如下。
备注 ) 在此以正流向 (左→右)连接为例进行说明。
AIM
AIM
3
2
1
CN-M1/CN-M2

3. 机器的安装 QD045-03
38 AIM 安装手册
连接方法
1. 拆除 Side1 侧的盖板。
2. 将前侧周围机器附属的信号用电缆(RH0398*)从机器基座下的孔插入到基座中,拆除前
道工序电路板搬运 I/F 箱的 CN-M1 上安装的插头(RH0067*), 将取入的周围机器的信号
用电缆连接到 CN-M1 上。
3. 将后侧周围机器附属的信号用电缆(RH0398*)从机器基座下的孔插入到基座中,拆除后
道工序电路板搬运 I/F 箱的 CN-M2 上安装的插头(RH0070*), 将取入的周围机器的信号
用电缆连接到 CN-M2 上。
4. 拆除 Side1 侧的盖板。
注意
·请务必在断电后进行接插件的插拔。
·连接接插头时,请注意确认接插头的名称不要有错。
·请紧紧地插入接插头。