XP242机械手册1.0C.pdf.pdf - 第7页
本手册的有关事宜 Edition 1.0 iii XP-242E 机械手册 版 本 号 : 发行后每修改一次,版本号都要更新。比如,对于 只有一部分内容的的变更,版本 号只作小的更新,从 Edition 1.0 变为 Edition 1.1 。 ( 对于此种修改只 要将修改部分 替换就可以。 ) 对大范围的修改,版本号从 1.0 升为 2.0 。 ( 此种情况下, 需将手册的所有页都替换 为新的内容。 ) 备注 ) 各图的右下角的英文数…

本手册的有关事宜
XP-242E 机械手册 ii Edition 1.0
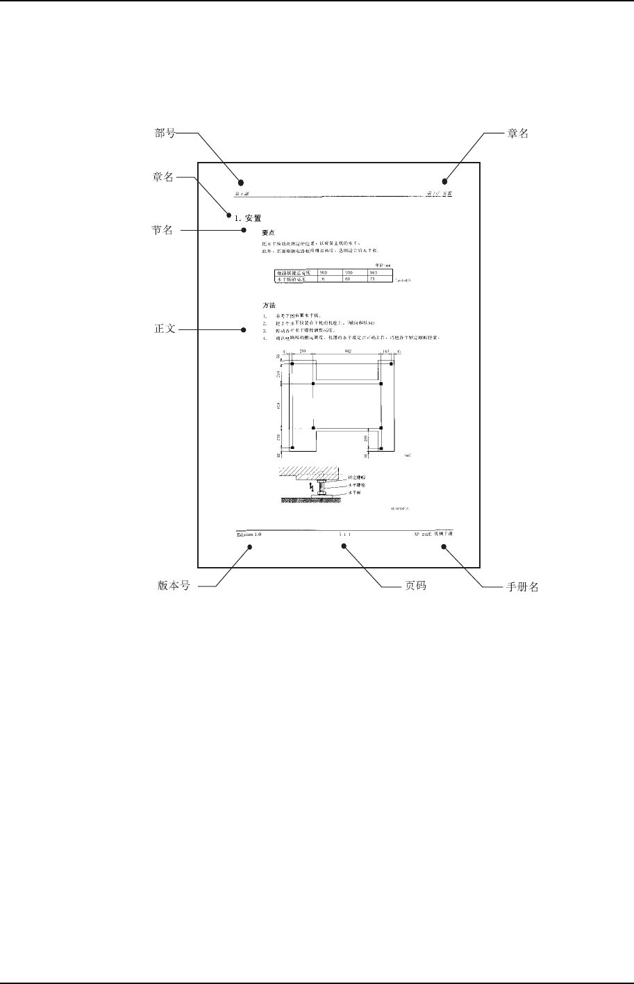
各页的构成
各页中除了正文以外有部号、章名、节名、版本号、页码以及手册名构成。
XP2MF201S
部 号: 该页所属的部名在页眉处表示。
章 名: 表示该页所属的章的名称。每 1 部是有章来构成的。
节 名: 节的编号和名称。每 1 章分为几个节。
正 文: 用图和文字记录操作中所需要的信息。
手 册 名: 表示机器的名称和手册的种类。
页 码: 有部、章、页编号 3 个内容构成。各号码之间用“-”连接。比如:3-3-1 是表示第 3
部、第 3 章、第 1 页。

本手册的有关事宜
Edition 1.0 iii XP-242E 机械手册
版 本 号: 发行后每修改一次,版本号都要更新。比如,对于只有一部分内容的的变更,版本
号只作小的更新,从 Edition 1.0 变为 Edition 1.1。(对于此种修改只要将修改部分
替换就可以。)
对大范围的修改,版本号从 1.0 升为 2.0。(此种情况下,需将手册的所有页都替换
为新的内容。)
备注) 各图的右下角的英文数字是图片的编号。与正 文无关。
表示单位和换算率
本手册里使用的表示单位和其他单位之间的换算率如下所示。
力
手册里的表示 与其他单位之间的换算率 备注
kg 1 kg = 9.80665 N
转矩
手册里的表示 与其他单位之间的换算率 备注
N·m
1 N·m = 0.10197 kgf·m
1 N·m = 10.19720 kgf·cm
压力
手册里的表示 与其他单位之间的换算率 备注
MPa 1 Mpa = 10.19716 kgf/cm
2
真空压力
手册里的表示 与其他单位之间的换算率 备注
-kPa -1 kPa = -7.5 mmHg
XP1MF202S

本手册的有关事宜
XP-242E 机械手册 iv Edition 1.0
笔记: