P-169-001e.pdf - 第110页
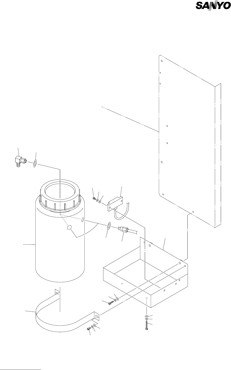
MODEL TPM-1 10F/R 0108-001 108 クリーニング部 CLEANING SECTION Fig. M-5 溶剤タンク Solvent Tank 403 407 407 404 402 468 467 466 401 406 464 465 461 464 465 463 464 465 462 405 Fig.M-5 TPM-100F/R TPM-110F/R See Fig.K-5 Key NO.401

MEMO
107

MODEL TPM-110F/R
0108-001
108
クリーニング部 CLEANING SECTION
Fig. M-5 溶剤タンク Solvent Tank
403
407
407
404
402
468
467
466
401
406
464
465
461
464
465
463
464
465
462
405
Fig.M-5
TPM-100F/R
TPM-110F/R
See Fig.K-5
Key NO.401

MODEL TPM-110F/R
0108-001
Key No. PART No. PART NAME Q’ty REMARKS
NOTE
109
M-5
401 630 044 6333 SENSOR,PROXIMITY 1 BPX083 748M--210-401
402 630 096 6831 MECH PARTS (TANK) 1 748M--210-402
403 630 096 6800 PIPE FITTINGS 2 748M--210-403
404 630 092 8402 PIPE FITTINGS 2 748M--210-404
405 630 091 0230 HOOK 1 748M--210-405
406 630 088 1523 FRAME 1 748M--210-406
407 630 088 1554 SPACER 4 748M--210-407
461 630 000 7671 BOLT,HEX-SCT 2 748M--210-461
462 630 000 7640 BOLT,HEX-SCT 2 748M--210-462
463 630 000 7602 BOLT,HEX-SCT 2 748M--210-463
464 411 141 4008 WASHER V 4X9X0.8 6 748M--210-464
465 411 141 2905 WASHER SPR 4 6 748M--210-465
466 411 119 1909 WASHER V 3X7X0.5 2 748M--210-466
467 411 086 4408 WASHER SPR 3 2 748M--210-467
468 411 042 0703 SCR PAN 3X8 2 748M--210-468