M7_ServiceManual_e.pdf - 第14页

1 Installation 1-6 ACTION: ① Locate the mounter to the specified place. ② Remove the followings: the b olt, metal fittings, and the nylon ties that fasten Beams that prevent to move during transporta tion. Check to see t…

100%1 / 103
1 Installation
1-5
Installing the Mounter
Do not touch terminals of electric components when the power is on to prevent electric shock and machine
damage.
Make sure to ground the mounter to prevent electric shock.
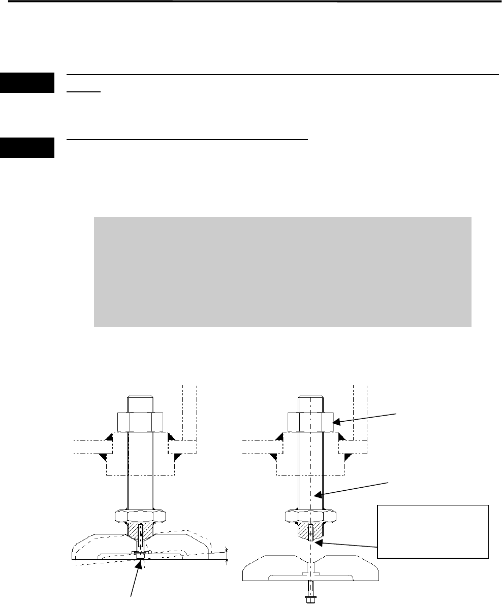
Note on Installation
It is normal that the adjust foot can be slightly inclined (within 2-degree range).
Do not tighten the bolt forcedly trying to fix the foot.
When you move and/or install the mounter, be careful not to apply excessive
force on the adjust foot. This may cause the screw of the adjust foot to break.
When placing the mounter on the floor, be sure that the mounter is kept
horizontal.
Warning
Warning
2°
If excessive force is
applied, the screw may
break at this point.
Mounting Screw
Nut
Adjust foot
1 Installation
1-6
ACTION:
Locate the mounter to the specified place.
Remove the followings: the bolt, metal fittings, and the nylon ties that fasten Beams that prevent to
move during transportation. Check to see that the X beams and heads can move to the Y direction
manually.
NOTE: Keep the removed metal fittings in case of moving the mounter for future reinstallation.
Nylon ties (Rear side)
Rear of the center beam
Metal fitting
on each head
Nylon tie (Front side)
Both at the left and right sides
The warning tag with “Remove
this.”
Only the center beam of M7-3S/3L is
fixed at the rear side
1 Installation
1-7
When the mounter is installed stand alone, turn the adjust feet so that the PCB transfer height is the
same as the conveyor height (900±20mm (see Note)) of the reference equipment. In the case of
SMEMA interface spec, the height must be 950±20mm.
When the mounter is connected to the Pre-process on production line, adjust the PCB transfer height
to the conveyor rail height of the Pre-process.
)
Production Line
NOTE: The height must be 890 to 920mm in the case of CFB wagon spec.
NOTE: The adjust feet must be turned using a M30 single-head wrench (nominal: 46mm).
Place a level on the base of the mounter. Set the position to the conveyor of the Pre-process finely until
the mounter is leveled.
) Supplementary Explanation for Installation
900±20mm
Or
950±20mm (SMEMA)
Level