P-0206-001.pdf - 第202页
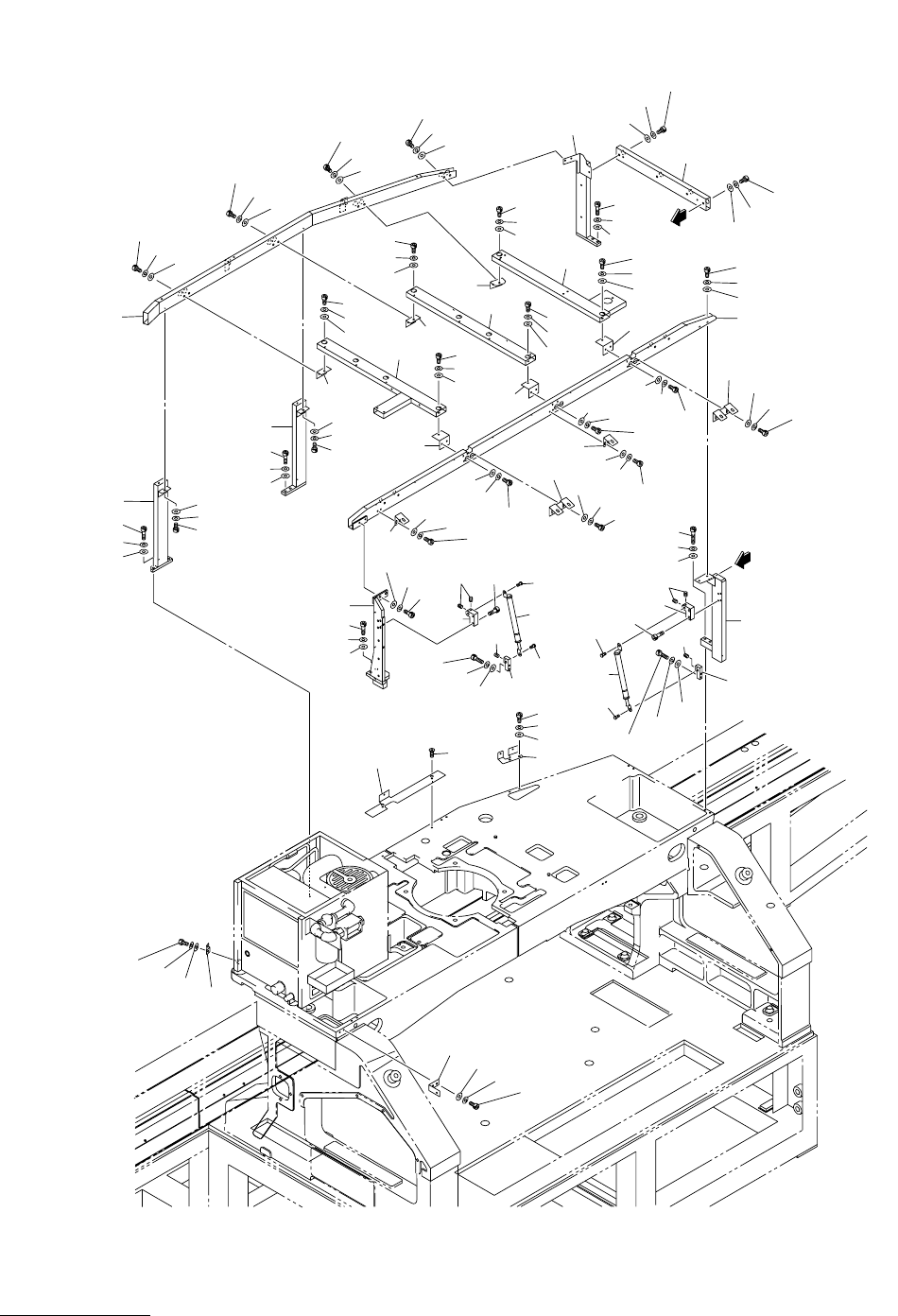
MODEL TCM-X200 021 1-003 200 ࠞࡃㇱ COVER SECTION Fig. MA-2 ㇱࡈࡓ Upper Frame Fig.MA-2 TCM-X200-003 4797A-003 147 135 148 149 140 146 147 140 113 146 147 109 140 146 147 140 108 115 146 147 140 118 140 146 147 140 146 147…

MODEL TCM-X200
0211-003
Key No. PART No. PART NAME Q’ty REMARKS
NOTE
199
MA-1
7 630 109 3529 COVER(RFR) 1 696MA-110-007
9 630 095 0960 COVER(RFR) 1 696MA-110-009
10 630 116 2744 COVER(FSL) 1 696MA-110-010
11 411 113 9109 SCR TRS 5X10 106 696MA-110-011
15 630 095 0984 COVER(FSL) 1 696MA-110-015
16 630 109 3543 COVER(RFL) 1 696MA-110-016
17 630 095 1011 COVER(RFL) 1 696MA-110-017
18 630 097 2924 COVER 1 696MA-110-018
19 630 097 2931 COVER 1 696MA-110-019
20 630 116 2713 COVER(RBC) 1 696MA-110-020
21 630 116 2720 COVER(RBC) 1 696MA-110-021
22 630 097 2962 COVER 1 696MA-110-022
23 630 097 2979 COVER 1 696MA-110-023
24 630 116 9903 COVER(RS) 2 696MA-110-024
25 630 095 1103 COVER(FSR) 1 696MA-110-025
26 630 099 6579 COVER 1 696MA-110-026
30 630 095 1127 COVER 1 696MA-110-030
31 630 097 2139 COVER(ML) 1 696MA-110-031
32 630 098 1223 COVER(MR) 1 696MA-110-032
33 630 097 7790 COVER 1 696MA-110-033

MODEL TCM-X200
0211-003
200
ࠞࡃㇱ COVER SECTION
Fig. MA-2 ㇱࡈࡓ Upper Frame
Fig.MA-2
TCM-X200-003
4797A-003
147
135
148
149
140
146
147
140
113
146
147
109
140
146
147
140
108
115
146
147
140
118
140
146
147
140
146
147
140
146
147
140
146
147
107
118
146
147
147
146
140
147
146
140
135
104
148
149
135
105
148
149
140
146
147
127
147
146
140
147
146
140
128
133
146
140
129
133
146
140
128
133
146
102
143
138
147
146
121
140
136
148
149
143
120
139
122
148
135
131
149
138
146
147
132
117
146
147
130
146
140
126
147
112
133
146
129
119
140
147
146
141
143
139
122
116
122
122
116
143
121
147
146
140
127
127
140
146
147
A
A
111
146
140
147
103
146
140
106
114
133
146
140

MODEL TCM-X200
0211-003
Key No. PART No. PART NAME Q’ty REMARKS
NOTE
201
MA-2
102 630 097 0876 STAY 1 696MA-110-102
103 630 095 3695 STAY 1 696MA-110-103
104 630 095 3701 STAY 1 696MA-110-104
105 630 095 3718 STAY 1 696MA-110-105
106 630 097 0883 FRAME 1 696MA-110-106
107 630 095 3626 FRAME 1 696MA-110-107
108 630 095 3633 FRAME 1 696MA-110-108
109 630 095 3640 FRAME 1 696MA-110-109
111 630 095 3657 FRAME 1 696MA-110-111
112 630 097 7240 BRACKET 1 696MA-110-112
113 630 095 3664 FRAME 1 696MA-110-113
114 630 097 4454 BRACKET 1 696MA-110-114
115 630 095 3480 BRACKET 1 696MA-110-115
116 630 035 6694 SPRING 2 696MA-110-116
117 411 140 4900 BOLT HEX 5X12 1 696MA-110-117
118 630 050 6785 BRACKET 2 696MA-110-118
119 630 097 0852 BLOCK 1 696MA-110-119
120 630 097 0869 BLOCK 1 696MA-110-120
121 630 097 0845 BLOCK 2 696MA-110-121
122 630 038 9609 PIN,HINGE 4 696MA-110-122
126 411 002 4307 SCR FLT 5X10 2 696MA-110-126
127 630 095 3497 BRACKET 3 696MA-110-127
128 630 099 3172 BRACKET 2 696MA-110-128
129 630 099 3189 BRACKET 2 696MA-110-129
130 630 097 7257 BRACKET 1 696MA-110-130
131 630 098 7126 FRAME 1 696MA-110-131
132 630 099 0126 BRACKET 1 696MA-110-132
133 630 029 1391 WASHER 10 696MA-110-133
135 630 000 7909 BOLT,HEX-SCT 8 696MA-110-135
136 630 000 7930 BOLT,HEX-SCT 2 696MA-110-136
138 630 000 7787 BOLT,HEX-SCT 4 696MA-110-138
139 630 000 7770 BOLT,HEX-SCT 4 696MA-110-139
140 630 000 7756 BOLT,HEX-SCT 38 696MA-110-140
141 630 000 7763 BOLT,HEX-SCT 2 696MA-110-141
143 630 000 8944 SET SCREW 6 696MA-110-143
146 411 141 6705 WASHER SPR 5 45 696MA-110-146
147 411 141 4107 WASHER V 5X10X1 35 696MA-110-147
148 411 141 3001 WASHER SPR 6 10 696MA-110-148
149 411 141 4305 WASHER V 6X12.5X1 10 696MA-110-149