4OM-1348-002_w.pdf - 第70页
1 - 17 0606 - 001 3.2 各部维护保养的查看方法 就“3.3 点检、清扫、注油部位”查看方法进行说明。 点检、清扫、注油部位的查看方法 ( 显示例 ) [1] [2] [3] 主气压 毎天 点检 所要时间:1分钟 设定空气压力0.45MPa(4.6kgf/cm 2 ) 请目视确认在运转时空气压力是否达到 Min.0.4MPa(4.1kgf/cm 2 )。 否则,请进行调整。 [4] Fig.4A9 [1] : 表示维护…

1-160606-001
3.1 整体图
(装置正面)
(装置背面)
元件识别照相机部
传送带部
线路板定位部
安装头部
XY横梁部
吸嘴储料器部
切割器部
Fig.4A8

1-170606-001
3.2 各部维护保养的查看方法
就“3.3 点检、清扫、注油部位”查看方法进行说明。
点检、清扫、注油部位的查看方法 ( 显示例 )
[1]
[2]
[3]
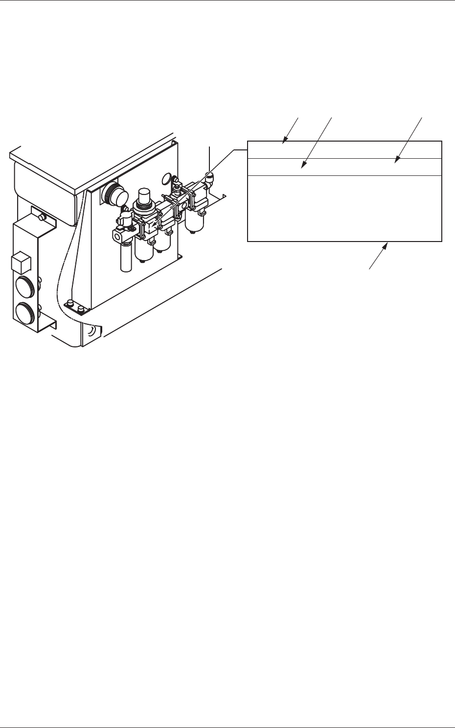
主气压
毎天 点检 所要时间:1分钟
设定空气压力0.45MPa(4.6kgf/cm
2
)
请目视确认在运转时空气压力是否达到
Min.0.4MPa(4.1kgf/cm
2
)。
否则,请进行调整。
[4]
Fig.4A9
[1] : 表示维护保养部位。
[2] : 表示维护保养的周期与内容。
[3] : 表示维护保养的详细内容。
[4] : 表示维护保养概要的所需时间。
( 不包括机盖等的装卸时间。)
3.2 各部维护保养的查看方法

1-180606-001
3.3 点检、清扫、注油部位
记载各单元必需的维护保养。
Reference
关于按周期分类的维护保养项目 , 请参照“2. 维护保养检查表”章节。
3.3.1 气源
主气压
毎天 点检 所要时间:1分钟
设定空气压力为0.45MPa(4.6kgf/cm
2
)
请目视确认在运行时空气压力是否达到
Min.0.4MPa(4.1kgf/cm
2
)。
否则,请进行调整。
吹气压
毎天 点检 所要时间:1分钟
请目视确认表压是否为初期设定值
0.05MPa
(0.5kgf/cm
2)
)
。
装置出场时已经设定好,请不要随意更改。
排放口
毎周 清扫 所要时间:5分钟
请准备容器,按各滤盒下边的橙色按钮,
从排放口排出水。
排放口
橙色按钮
Fig.4A10
3.3 点检、清扫、注油部位