PTS-FIFEEDER-09JE.pdf - 第83页
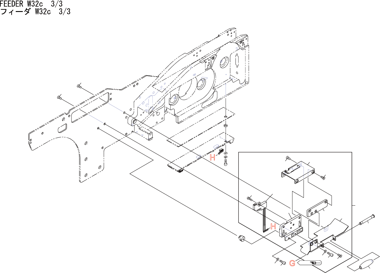
FEEDERW32c3/3 フィーダ W32c 3/3 AB10303 No. Drg.No.&CodeNo. QTY Description Rating Materials Remarks 番号 図番 &コード 番号 個数 品名 規格 材質 備考 1 AA8GL00 1 SENSOR センサ OT 2 PB03EN1 1 GUIDE ガイド FE 3 H5274A 1 BOLT,HEXSO…

H
H
G
Ref.2/
2
3
4
5
6
7
7
8
10
11
9
1
12
15
16
20
21
22
AB10303
82
PTS-FIFEEDER-09JE

FEEDERW32c3/3
フィーダW32c3/3
AB10303
No. Drg.No.&CodeNo. QTY Description Rating
Materials
Remarks
番号 図番&コード番号 個数 品名 規格 材質 備考
1 AA8GL00 1 SENSOR センサ OT
2 PB03EN1 1 GUIDE ガイド FE
3 H5274A 1 BOLT,HEXSOCKET ボルト六角穴 M03X006 FE
4 W1021A 1 WASHER,LOCK ワッシャスプリング 3M/M FE
5 PB04EW0 1 GUIDE,TAPE ガイドテープ FE
6 PB04EB0 1 PLATE プレート FE
7 K5357G 4 SCREW,HEXSOCKETCOUNTERSUNK 小ネジ六角穴皿 M03X004 FE
8 PM0D1H0 1 BKT,SENSOR BKTセンサ AL
9 K5357H 2 SCREW,HEXSOCKETCOUNTERSUNK 小ネジ六角穴皿 M03X005 FE
10 PZ48490 1 SENSOR センサ OT
11 K5175N 2 SCREW,C/RPAN 小ネジ十穴鍋 M02X003ステンレス FE
12 K5357M 1 SCREW,HEXSOCKETCOUNTERSUNK 小ネジ六角穴皿 M03X006 FE
15 H5274A 1 BOLT,HEXSOCKET ボルト六角穴 M03X006 FE
16 W1021A 1 WASHER,LOCK ワッシャスプリング 3M/M FE
20 PJ03983 1 ROLLER ローラ PL
21 PM90421 1 PIN ピン FE
22 K5357H 1 SCREW,HEXSOCKETCOUNTERSUNK 小ネジ 六角穴皿 M03X005 FE
83
PTS-FIFEEDER-09JE

21
5
6
5
6
11
12
12
22
3
14
4
4
4
4
16
14
15
15
16
7
22
9
10
8
1
2
84
PTS-FIFEEDER-09JE