JX-200_动作说明书.pdf - 第9页
Rev. 1.0 动作说明书 2-3-1 LNC60 轴 是利用激光识别贴装元件的轴, 6 轴组成。 2-3-1-1 组 成 LNC60 轴的组成如下所示。 θ 电动机 θ 电动机皮带轮 28 齿 同步皮带 Z 1.5GT-90 齿 Z 电动机皮带轮 30 齿 Z 原点传感器 Z 电动机 滚珠螺杆 滚珠花键 同步皮带 T 1.5GT-94 齿 花键皮带轮 28 齿 Z 皮带轮 30 齿 直线导轨 ・Z 轴减速比 1 . 0 ・θ 轴减速…

Rev. 1.0
动作说明书
2-2-2 性能
用于 X 轴驱动的电动机的性能如下表所示。
项目 规格 备注
电动机 额定输出 400[W]
额定转速 3000[r/min]
最大转速 6000[r/min]
编码器分辨率 262144[pulse/rev]
编码器输出 三菱串行
通过伺服放大器参数的电子齿轮设定,指令 1 脉冲的移动量被设定为 1μm。(电子齿轮:262144/30000)
2-2-3 故障检测(电机编码器的断线检测)
① 以伺服放大器进行通信异常检测,电源接通状态下电缆脱开时会产生 ALM16,关断伺服。
② 以伺服放大器进行通信异常检测,动作中间因断线等原因导致通信异常时,会产生 ALM20,关断伺
服。
2-3 贴装元件用的贴装头轴(Z,θ 轴)
贴装元件用的贴装头轴,由利用激光识别贴装元件的 LNC60 轴组成。
Z 轴是向吸取元件或贴片时的动作方向,也即向上下方向(从贴装头正面看是从上向下、从下向上驱动)
进行驱动的轴。
θ 轴是向元件识别或贴片角度控制时的动作方向,也即向旋转方向(从贴装头正面看是向右转、向左转的
旋转驱动)进行旋转驱动的轴。Zθ 轴均以半闭环控制驱动。
另外,Z 轴是利用 6 轴独立电动机进行控制,但 θ 轴是对 L1~L3 和 L4~L6 各以 1 个电动机控制,进行 3
轴同时驱动。
2-
3

Rev. 1.0
动作说明书
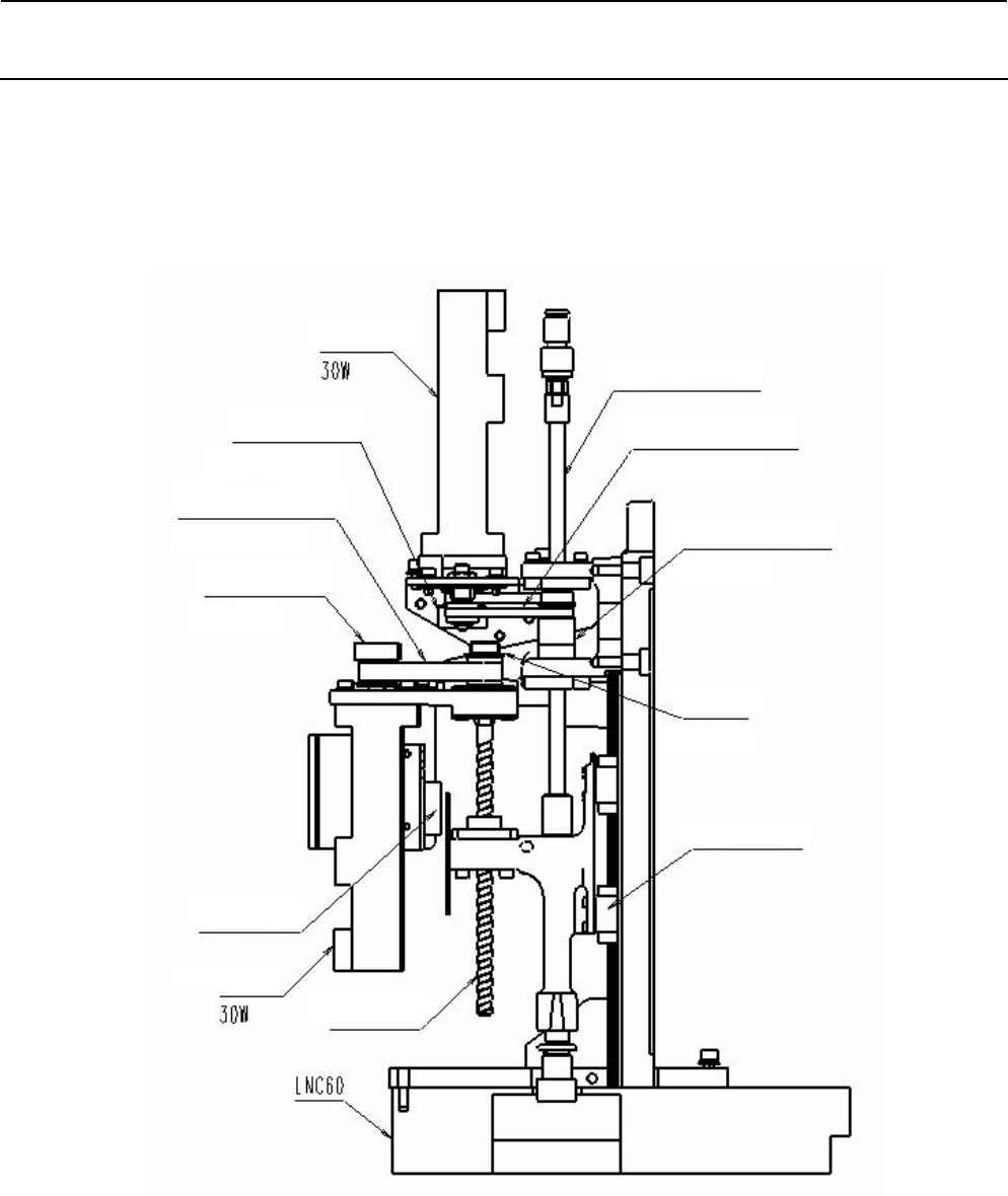
2-3-1 LNC60 轴
是利用激光识别贴装元件的轴,6 轴组成。
2-3-1-1 组成
LNC60 轴的组成如下所示。
θ 电动机
θ 电动机皮带轮
28 齿
同步皮带 Z
1.5GT-90 齿
Z 电动机皮带轮
30 齿
Z 原点传感器
Z 电动机
滚珠螺杆
滚珠花键
同步皮带 T
1.5GT-94 齿
花键皮带轮
28 齿
Z 皮带轮
30 齿
直线导轨
・Z 轴减速比 1.0
・θ 轴减速比 1.0
2-
4

Rev. 1.0
动作说明书
2-3-1-2 性能
用于 LNC 轴驱动的 Z 电动机及 θ 电动机的性能如下表所示。
项目 规格 备注
额定输出 30[W]
额定转速 3000[r/min]
最大转速 9000[r/min]
编码器分辨率 262144[pulse/rev]
编码器输出 三菱串行
Z 电动机
指令 1 脉冲的移动量 0.00125[mm]
额定输出 30[W]
额定转速 3000[r/min]
最大转速 9000[r/min]
编码器分辨率 262144[pulse/rev]
编码器输出 三菱串行
θ 电动机
指令 1 脉冲的移动量 0.005[deg/pulse]
2-3-1-3 故障检测
① 以伺服放大器进行通信异常检测,电源接通状态下电缆脱开时会产生 ALM16,关断伺服。
② 以伺服放大器进行通信异常检测,动作中间因断线等原因导致通信异常时,会产生 ALM20,关断伺
服。
③ 伺服断开时,利用装有元件贴装头的贴片头抬升气缸产生轴的上升动作,所有轴上升到 XY 移动高度。
2-
5