XP143E 机械手册MEC-XP143-3.0S.pdf - 第145页
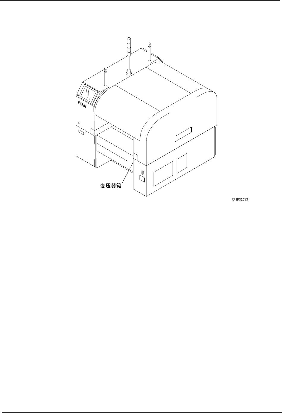
MEC-XP143-3.0S 9. 安装 XP-143E 机械手册 135 变压器的接线 1. 请打开变压器箱的盖板。 2. 把变压器的初端接线,正确地接到 与供电电压相对应的接线头上。

9. 安装 MEC-XP143-3.0S
134 XP-143E 机械手册
9.3 电源供应和变压器的接线
9.3.1 要点
根据外部供电电压进行机器内的变压器接线。
电源容量为 4.0KVA。
请一定接在具备容量高于该值的电源上。
9.3.2 方法
电源供应
1. 从机器前面 (Side 1) 取下 MFU。
2. 关闭总电源开关,卸下总电源开关部盖板的固定螺丝 (4 处 ),取下盖板。
3. 将电源电线的从机器下面的电源投入口插入到总电源开关。
4. 将接地线接入专用的接线台。
5. 将主开关以规定转矩拧紧 3 相电线。
接线头螺丝的紧固转矩∶ 5.8N·m
注意 ) 请定期地拧紧接线头螺丝。
6. 连接后,将电源电线用电源投入口的电线固定螺母把电源线固定好。
电线固定螺母的紧固转矩∶ 7.5N·m
危险
请确认外部电源已被切断之后,再开始操作。

MEC-XP143-3.0S 9. 安装
XP-143E 机械手册 135
变压器的接线
1. 请打开变压器箱的盖板。
2. 把变压器的初端接线,正确地接到与供电电压相对应的接线头上。

9. 安装 MEC-XP143-3.0S
136 XP-143E 机械手册
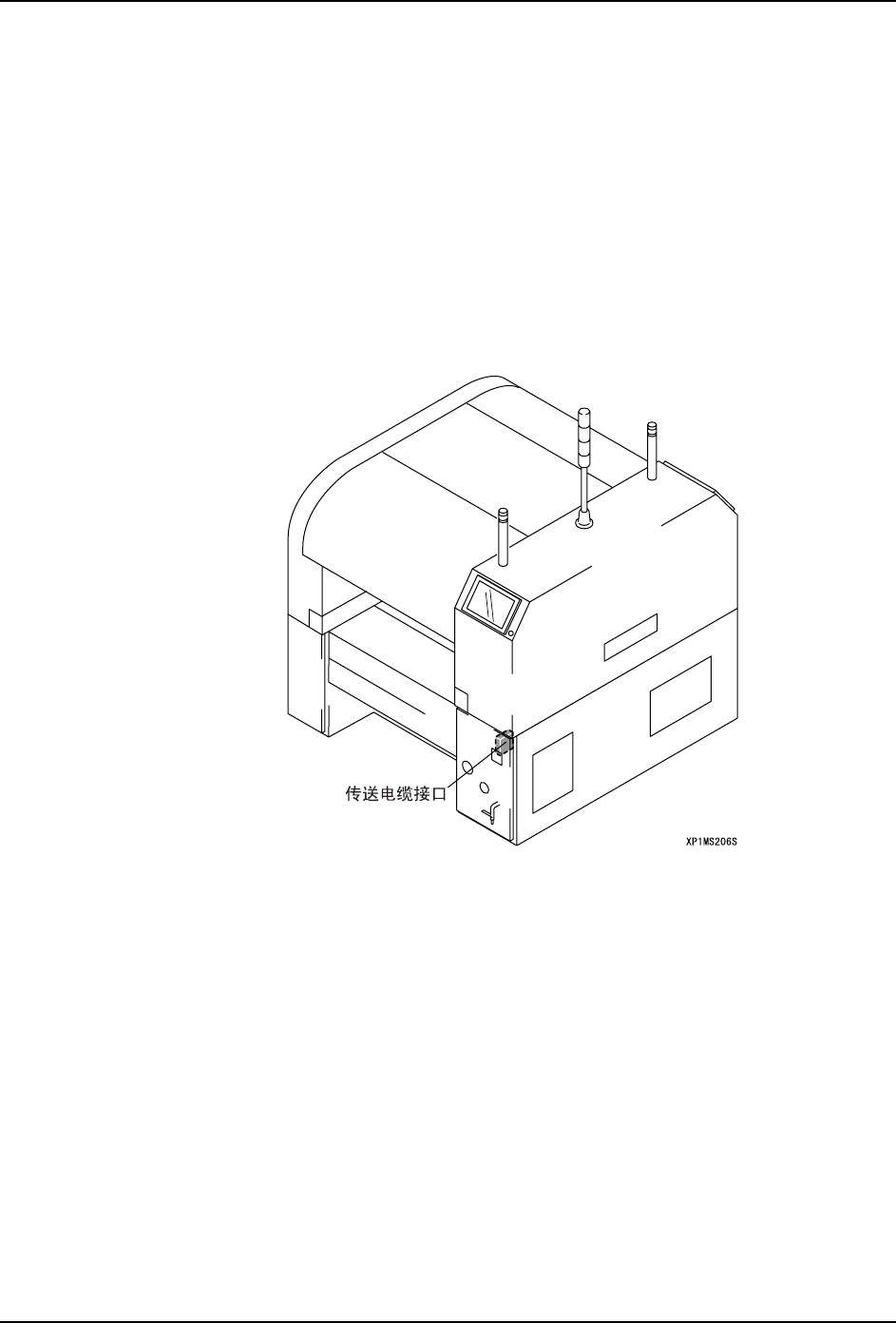
9.4 数据传送电缆的接线 (RS-232C)
9.4.1 要点
为了传输程序和收集生产记录,主机和主电脑之间,用 RS-232C 电缆来连接。
9.4.2 方法
1. 将主机在主电脑上进行线路描述符的注册。
备注 ) 有关对线路描述符的注册方法,请参考主电脑的使用说明书。
2. 把传送电缆一侧的连接器,接到主电脑上的指定通道端口,并把另一端的连接器接到传
送电缆接口上。
备注 ) 使用传送电缆以及使用其他接口电缆时,请使用屏蔽电缆。