CN_Nordson_EFD_E_Series_Operating_Manual.pdf - 第94页
E系列自动点胶系统 94 www.nordsonefd.com/cn china@nordsonefd.com +86 (21) 3866 9006 诺信 EFD 在全球范围内销售专业点胶系统并提供技术支持服务 05 线结束点(续) 05 线结束点(续) 关机距离 针头继续移动至线结束点处 点胶机在此处关闭 关机距离参数说明 Line End 3/4 ------------------------------ Backtrack Le…

E系列自动点胶系统
93
www.nordsonefd.com/cn china@nordsonefd.com +86 (21) 3866 9006 诺信EFD在全球范围内销售专业点胶系统并提供技术支持服务
04 圆弧点04 圆弧点
Arc Point
------------------------------
X: 130.93 mm
Y: 37.39 mm
Z: 45.54 mm
[F1] OK [F3] Current
按键按键 功能功能
>
将当前XYZ位置记录为一个圆弧中点。沿弧线或划圆路径进行圆弧中点点胶。
附录A,类型菜单参考(续)附录A,类型菜单参考(续)
05 线结束点05 线结束点
Line End 1/4
------------------------------
X: 130.93 mm
Y: 37.39 mm
Z: 45.54 mm
[F1] OK [F2] Next [F3] Current
Line End 2/4
------------------------------
Shutoff Distance: 0.00 mm
Shutoff Delay: 0.00 s
Dwell Time: 0.00 s
[F1] OK [F2] Next
Line End 3/4
------------------------------
Backtrack Length: 0.00 mm
Backtrack Gap: 0.00 mm
Backtrack Speed: 10.0 mm/s
Type 0| 1\ 2] 3/ 4[: 0
[F1] OK [F2] Next
按键按键 功能功能
>
将当前XYZ位置记录为一个线结束点点。
参数 描述
关机距离 为防止队列结束点处堆积过量流体,点胶机关机点距线结束点点的距离(如下图所示)。
范围: 0–100(s)
关机延迟 点胶机在队列结束点处停止后保持打开的时长。
范围: 0–100(s)
停留时间 点胶机关机后,线结束点点的延迟时间。这一延时可在针头移至下一节点之前均衡压力。
范围: 0–1000(s)
返回长度 点胶针头朝远离线结束点点方向移动的距离。
范围: 0–100(mm)
返回高度 点胶针头离开线结束点点时抬升的距离。此值必须小于该点的Z轴净空高度。
范围: 0–100(mm)
返回速度 点胶针头的缩进速度。
范围: 0.1–200(mm/s)
转下页

E系列自动点胶系统
94
www.nordsonefd.com/cn china@nordsonefd.com +86 (21) 3866 9006 诺信EFD在全球范围内销售专业点胶系统并提供技术支持服务
05 线结束点(续)05 线结束点(续)
关机距离
针头继续移动至线结束点处点胶机在此处关闭
关机距离参数说明
Line End 3/4
------------------------------
Backtrack Length: 0.00 mm
Backtrack Gap: 0.00 mm
Backtrack Speed: 10.0 mm/s
Type 0| 1\ 2] 3/ 4[: 0
[F1] OK [F2] Next
Line End 4/4
------------------------------
Retract Distance: 0.00 mm
Retract Low: 20.0 mm/s
Retract High: 80.0 mm/s
[F1] OK [F2] Next
按键按键 功能功能
>
查阅前页。
参数参数 描述描述
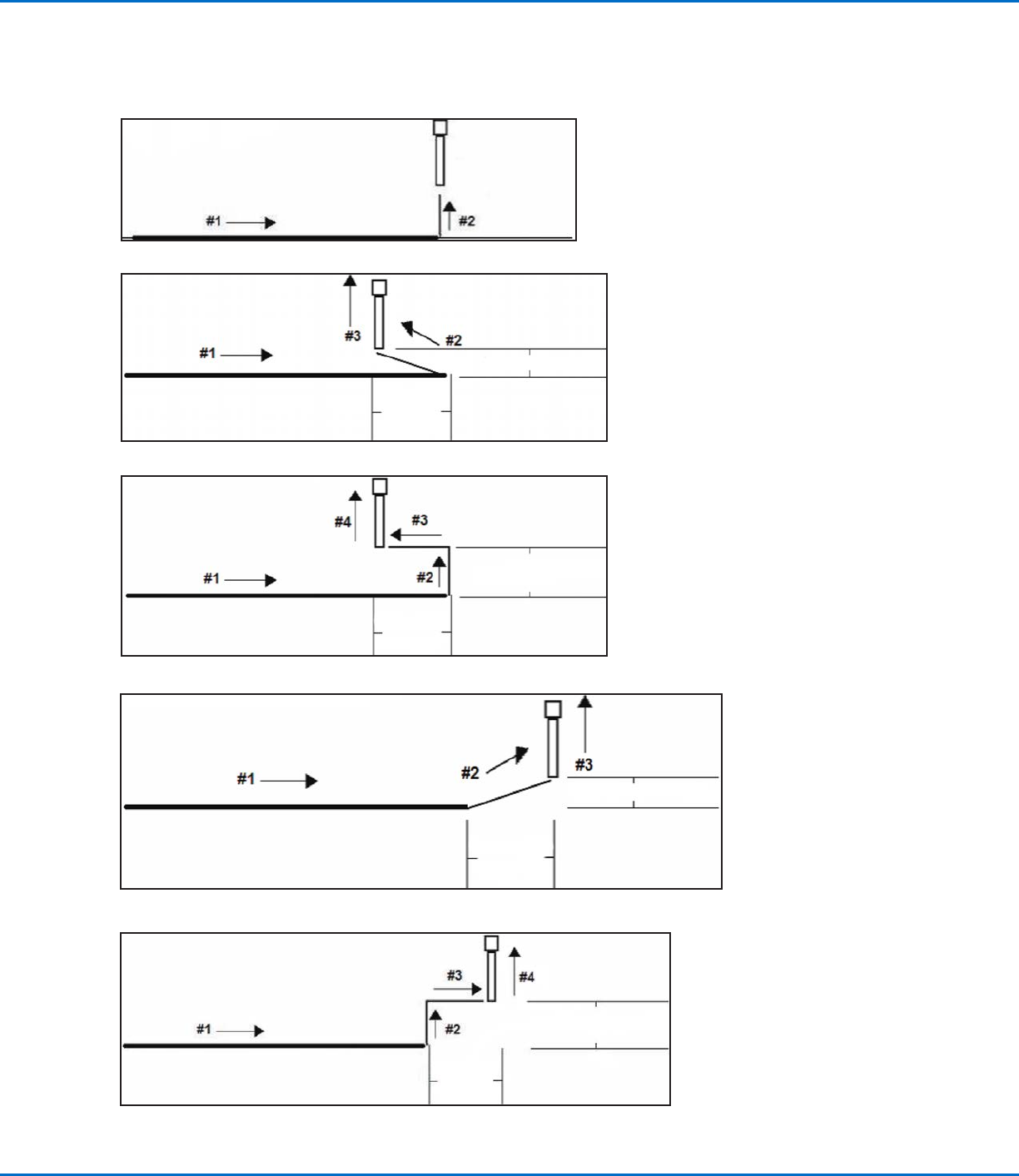
类型 参考第95页上的“缩进设置参数的示例”。
0(正常) 点胶针头垂直向上移动至缩进空隙的高度。
1(向后) 点胶针头以一定角度向后移动,移动距离及高度依照“缩进长度”
及“缩进空隙”中设定的值。
2(曲折式向后) 点胶针头向上移动,再向后移动,移动距离及高度依照“缩进长度”
及“缩进空隙”中设定的值。
3(向前) 点胶针头以一定角度向前移动,移动距离及高度依照“缩进长度”
及“缩进空隙”中设定的值。
4(曲折式向前) 点胶针头向上移动,再向前移动,移动距离及高度依照“缩进长度”
及“缩进空隙”中设定的值。
缩进距离 点胶之后,针头提升的距离。
范围: 0–50(mm)
缩进距离低 点胶之后,针头的提升速度。
范围: 0–200(mm/s)
缩进距离高 针头以“缩进距离低”中设定的速度抬升“缩进距离”中设定的缩进距离量之后,针头按
照此项设置中的速度继续抬升至Z轴净空高度。设置Z轴净空高度是为了提升针头至足够高
度,避免在移至下一点的途中遇到任何障碍物。查阅第103页上的“13 Z轴净空高度”。
范围: 30–200(mm/s)
附录A,类型菜单参考(续)附录A,类型菜单参考(续)

E系列自动点胶系统
95
www.nordsonefd.com/cn china@nordsonefd.com +86 (21) 3866 9006 诺信EFD在全球范围内销售专业点胶系统并提供技术支持服务
附录A,类型菜单参考(续)附录A,类型菜单参考(续)
0或空(正常)
返回高度
1(向后)
返回高度
返回长度
2(曲折式向后)
返回高度
返回长度
3(向前)
返回高度
返回长度
4(曲折式向前)
返回高度
返回长度
缩进设置参数的示例缩进设置参数的示例