MVIIF Parts list-Mechanical20101207.pdf - 第101页
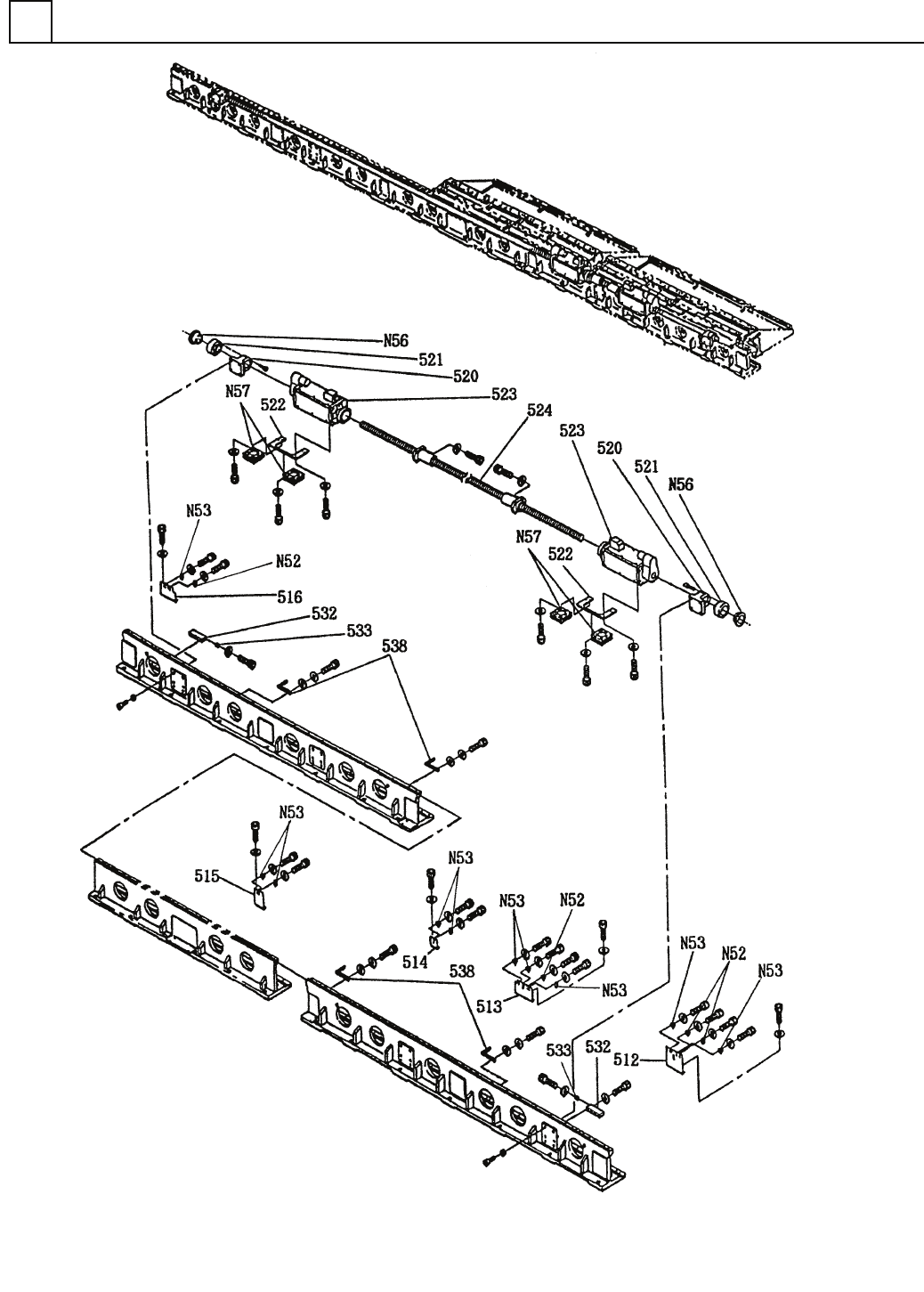
イラスト No. REF No. PART No. PART NAME REMAR KS Q'TY 9 部品供給部( 共通部2) FEEDER CARR IAGE SECT.(COM MON SECT.-2) 部 品 名 品 番 個数 備 考 512 1 102305001203 BRACKET(PH) ブ ラケット(PH) 513 1 102305001302 BRACKET(PH) ブラケット(PH) 514 1 10…

部品供給部(共通部2)
FEEDER CARRIAGE SECT.(COMMON SECT.-2)
9
F10266-50-500-AN-2
M81

イラスト
No.
REF
No.
PART No.
PART NAME
REMARKS
Q'TY
9
部品供給部(共通部2)
FEEDER CARRIAGE SECT.(COMMON SECT.-2)
部 品 名 品 番 個数
備 考
512 1 102305001203
BRACKET(PH) ブ
ラケット(PH)
513
1
102305001302
BRACKET(PH) ブラケット(PH)
514
1
102300701302
BRACKET(PH) ブラケット(PH)
515 1 102305001502
BRACKET(PH) フ
゙ラケット(PH)
516 1 1023050016
BRACKET(SENSOR) ブラケット
(センサ)
520
2
1025813006
BRACKET ブラケット
521
2
1022407005
FLANGE フランジ
522 2 102104002002
PLATE フ
゚レート
523 2 1025850523
MOTOR モータ
524
1
1023050024
BALL SCREW ボールネジ
532 2 1022413064
BLOCK(STOPPER) ブロック(ストッパ)
533 2 1017329066
STOPPER ストッハ
゚ー
538
4
102102004801
BRACKET ブラケット
N52
4
N310P921
SENSOR センサ P921
N53 10 N310P921AA
SENSOR フォトマイクロセンサ P921A-A
N56 2 N645MA40
COUPLING カッフ
゚リング
MA-40
N57
4
N2383610-044
FAN WITH MOTOR ファンモータ 3610PS-10T-B30-B02
M82
F10266-50-500-AN-2

部品供給部(共通部3)
FEEDER CARRIAGE SECT.(COMMON SECT.-3)
9
F10266-50-500-AN-3
M81