MVIIF Parts list-Mechanical20101207.pdf - 第94页
バルフ ゙制御部 VALVE CONTR OL SECT. 8 F10427-11-100-AJ-1 M77

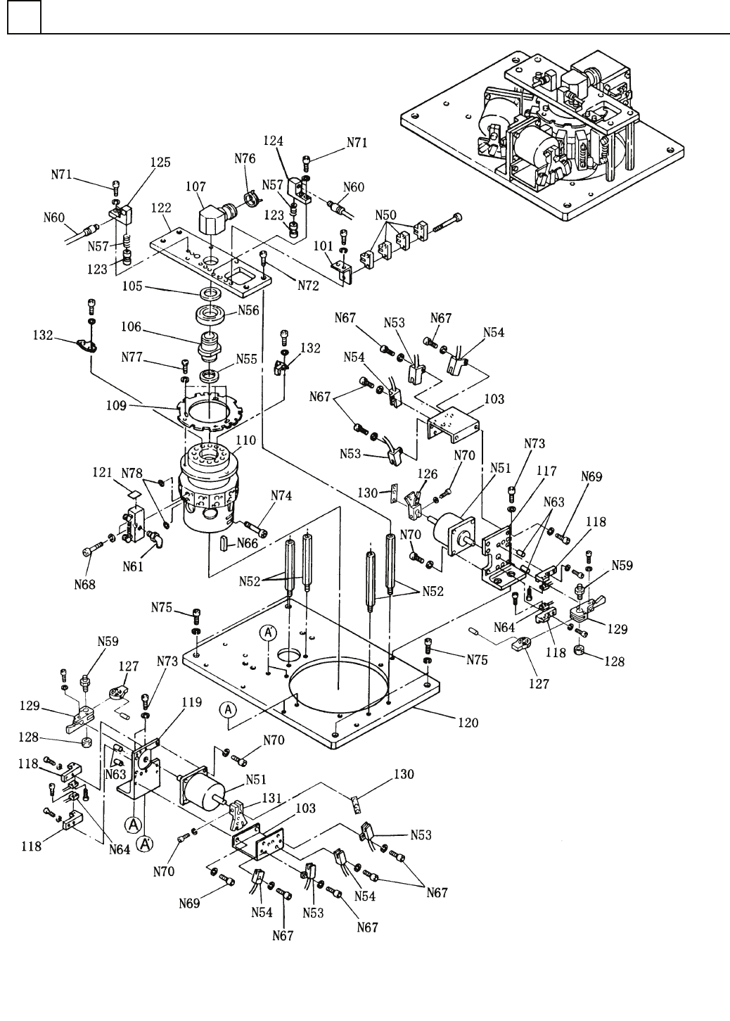
イラスト
No.
REF
No.
PART No.
PART NAME
REMARKS
Q'TY
7
ノズル部
NOZZLE SECT.
部 品 名 品 番 個数
備 考
123 12 102247948601
REFLECTING UNIT ハンシャハ
゙ン
D=5.5
126
12
102241013202
REFLECTING UNIT ハンシャバン D=1.6
127
12
102017956103
NOZZLE(M) ノズル(M) D=1.6
136 12 102247818104
NOZZLE(SS) ノス
゙ル(SS)
M70
F10427-10-100-BC-4

バルブ制御部
VALVE CONTROL SECT.
8
F10427-11-100-AJ-1
M77

イラスト
No.
REF
No.
PART No.
PART NAME
REMARKS
Q'TY
8
バルブ制御部
VALVE CONTROL SECT.
部 品 名 品 番 個数
備 考
1 1042711100
VALVE CONTROL UNIT バルフ
゙セイギョユニット
101
1
102811100201
SENSOR PLACEMENT センサマウント
103
3
1042711012
BRACKET(SENSOR) ブラケット(センサ)
105 1 1042711105
COLLAR カラー
106 1 104271110602
SHAFT シャフト
107
1
102811100602
FITTING ホースニップル
109
1
104271100302
DISK ディスク
110 1 104271111003
MANIFOLD マニホールト
゙
117 1 1042779197
BRACKET(MOTOR) ブラケット
(モータ)
118
6
1042779196
BRACKET(SENSOR) ブラケット(センサ)
119 2 1042779198
BRACKET(MOTOR) ブラケット(モータ)
120 1 104271100104
PLATE フ
゚レート
121
1
102240902801
LABEL ラベル
122
1
1042711122
PLATE プレート
123 2 1042711123
PLUNGER プランジャー
124 1 1042711124
BLOCK フ
゙ロック
125
1
1042711125
BLOCK ブロック
126
1
104271112601
CAM カム PHOTO SLIT
127 3 104271112705
LEVER レバー
128 3 104271112802
PIN ヒ
゚ン
129
3
104271112902
BLOCK ブロック
130
3
1042711130
SLIT スリット
131 2 104271113102
DOG FOR SENSOR センサト
゙グ
132 2 1042711132
SPRING ハ
゙ネ
N50
4
N310P923A
SENSOR センサ P923A
N51 3 N606PH26601B
MOTOR モータ PH266-01B
N52 4 N986LSBW-516
SCREW ロッカクタイフ
゚シチュウ
LSBW6-107-LKC
N53
6
N310P914C
SENSOR センサ P914C
N54
6
N310P914A
SENSOR フォトマイクロセンサ P914A
N55 1 N555AR40-004
SEAL シール AR400-P25-GC
N56 1 XLB6905UU
BALL BEARING ボールヘ
゙アリング
6905UU
N57
2
N986UF615
SPRING バネ UF6-15
N59
3
N986BSJ4
PLUNGER ボールプランジャ BSJ4
N60 2 N431PC6M5M
FITTING ツギテ PC6-M5M
N61 12 N431PL4M5M
FITTING ツキ
゙テ
PL4-M5M
N63
6
N986MS615
PARALLEL PIN ヘイコウピン MS6-15
N64
3
N310E3CS30W
SENSOR センサ E3C-S30W
N66 1 N986KEG825
KEY キー KEG8-25
N67 15 XVE3B8FP
HEX. SOCKET HEAD CAP BOLT ロッカクアナツキホ
゙ルト
M3X8,STEEL,P.C
N68
24
XVE3B25FP
HEX. SOCKET HEAD CAP BOLT ロッカクアナツキボルト M3X25,STEEL,P.C
N69 8 XVE4B10FP
HEX. SOCKET HEAD CAP BOLT ロッカクアナツキボルト M4X10,STEEL,P.C
N70 27 XVE4B12FP
HEX. SOCKET HEAD CAP BOLT ロッカクアナツキホ
゙ルト
M4X12,STEEL,P.C
N71
4
XVE4B15FP
HEX. SOCKET HEAD CAP BOLT ロッカクアナツキボルト M4X15,STEEL,P.C
N72
4
XVE6B12FP
HEX. SOCKET HEAD CAP BOLT ロッカクアナツキボルト M6X12,STEEL,P.C
N73 6 XVE6B16FP
HEX. SOCKET HEAD CAP BOLT ロッカクアナツキボルト M6X16,STEEL,P.C
N74 1 XVE8B25FP
HEX. SOCKET HEAD CAP BOLT ロッカクアナツキホ
゙ルト
M8X25,STEEL,P.C
N75
4
XVE12B40FP
HEX. SOCKET HEAD CAP BOLT ロッカクアナツキボルト M12X40,STEEL,P.C
N76
1
N9351
BAND バンド 1
N77 3 XVEN3M8FPZ
HEX. SOCKET BUTTON HEAD BOL ロッカクアナツキボタンボルト M3X8,STEEL,P.C
N78 24 N554C00501A
O-RING O
リング
C00501A
M78
F10427-11-100-AJ-1