MVIIF Parts list-Mechanical20101207.pdf - 第113页
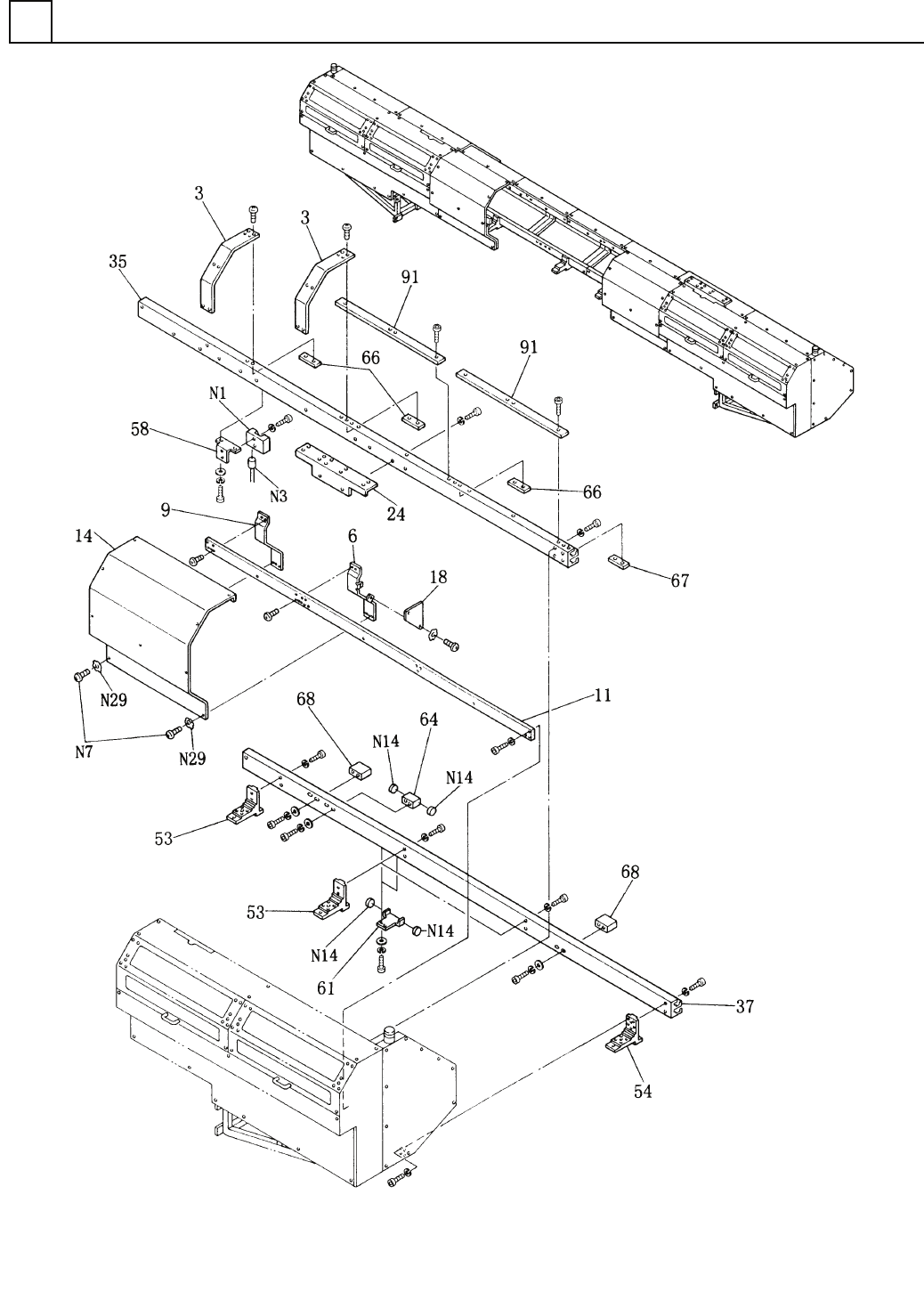
イラスト No. REF No. PART No. PART NAME REMAR KS Q'TY 9 部品供給部( 安全カバー部 2) FEEDER CARR IAGE SECT.(SAF ETY COVER SE CT.-2) 部 品 名 品 番 個数 備 考 3 2 104275100302 FRAME フレーム 6 1 1042751006 SAFETY GUARD アンゼンガード 9 1 1042751009…

部品供給部(安全カバー部2)
FEEDER CARRIAGE SECT.(SAFETY COVER SECT.-2)
9
F10427-51-000-AM_A-2
M93

イラスト
No.
REF
No.
PART No.
PART NAME
REMARKS
Q'TY
9
部品供給部(安全カバー部2)
FEEDER CARRIAGE SECT.(SAFETY COVER SECT.-2)
部 品 名 品 番 個数
備 考
3 2 104275100302
FRAME フレーム
6
1
1042751006
SAFETY GUARD アンゼンガード
9
1
1042751009
BRACKET ブラケット
11 1 104275101101
FRAME フレーム
14 1 104275101401
COVER カハ
゙ー
18
1
1042751018
PLATE プレート
24
1
104275102401
BRACKET ブラケット
35 1 104275103505
RAIL レール
37 1 104275103703
RAIL レール
53
3
1042751053
BRACKET ブラケット
54 1 1042751054
BRACKET ブラケット
58 1 1042751058
BRACKET フ
゙ラケット
61
2
1042751061
STOPPER ストッパー
64
1
104275106402
STOPPER ストッパー
66 3 1042751066
NUT ナット
67 3 1042751067
NUT ナット
68
2
104275106802
STOPPER ストッパー
91
2
1042751091
PLATE プレート
N 1 1 N300AZ15-013
SWITCH スイッチ AZ15ZVR-1747
N 3 1 N30025011
CONNECTOR コネクタ 250/11
N 7
24
XST5+8FY
TRUSS HEAD SCREW トラスコネジ M5X8,+,STEEL,Z.C.T
N14
15
N982TM7539
ADHESIVE SHEET セッチャクシート TM-182-7539
N29 16 XWC5BFY
TOOTHED LOCK WASHER ハツキサ
゙ガネ
5,B-TYPE,STEEL,Z.C.T
M94
F10427-51-000-AM_A-2

部品供給部(安全カバー部3)
FEEDER CARRIAGE SECT.(SAFETY COVER SECT.-3)
9
F10427-51-000-AM_A-3
M93