MVIIF Parts list-Mechanical20101207.pdf - 第57页
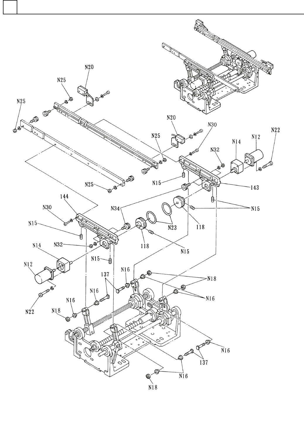
イラスト No. REF No. PART No. PART NAME REMAR KS Q'TY 4 ローダ・アンロータ ゙(ローダ本体部 2) LOADER & UN LOADER(LOADER BASE SECT.-2 ) 部 品 名 品 番 個数 備 考 118 2 1099705118 PULLEY フ ゚ーリー 137 4 1099705137 PIN ピン 143 1 109970514302 LI…

ローダ・アンローダ(ローダ本体部2)
LOADER & UNLOADER(LOADER BASE SECT.-2)
4
F10997-05-100-AH_A-2
M37

イラスト
No.
REF
No.
PART No.
PART NAME
REMARKS
Q'TY
4
ローダ・アンローダ(ローダ本体部2)
LOADER & UNLOADER(LOADER BASE SECT.-2)
部 品 名 品 番 個数
備 考
118 2 1099705118
PULLEY フ
゚ーリー
137
4
1099705137
PIN ピン
143
1
109970514302
LINK リンク
144 1 109970514402
LINK リンク
N12 2 M4RA1G4L
MOTOR モータ M4RA1G4L
N14
2
M4GA12.5F
GEAR HEAD ギヤーヘッド M4GA12.5F
N15
6
XXE4C8FP
HEX. SOCKET SET SCREW ロッカクアナツキトメネジ M4X8,STEEL,P.C
N16 8 N52080F0805
BUSHING フ
゙ッシング
80F-0805
N18 4 XNRNFUN008SS
LOCK-NUT ロックナット FUN-008-SS
N20
2
N310P919
SENSOR センサ P919
N22 4 XVE3B50FP
HEX. SOCKET HEAD CAP BOLT ロッカクアナツキボルト M3X50,STEEL,P.C
N23 2 N5541AP34N
O-RING O
リング
1AP34N
N25
4
XNG3AFY
HEXAGON NUT ロッカクナット M3,1-TYPE,STEEL,Z.C.T
N30
6
XVE5B20FY
HEX. SOCKET HEAD CAP BOLT ロッカクアナツキボルト M5X20,STEEL,Z.C.T
N32 4 XNG4AFY
HEXAGON NUT ロッカクナット M4,1-TYPE,STEEL,Z.C.T
N34 4 N648MB019000
PULLEY(TENSION) プーリー
(テンション)
MB019000
M38
F10997-05-100-AH_A-2

ローダ・アンローダ(アンローダ本体部1)
LOADER & UNLOADER(UNLOADER BASE SECT.-1)
4
F10997-05-100-AH_A-3
M37