MVIIF Parts list-Mechanical20101207.pdf - 第146页
部品認識部( 共通部3) COMPONENT R ECOGNITION SEC T.(COMMON SE CT.-3) 13 F10427-20-000-AL_A -3 M125

イラスト
No.
REF
No.
PART No.
PART NAME
REMARKS
Q'TY
13
部品認識部(共通部2)
COMPONENT RECOGNITION SECT.(COMMON SECT.-2)
部 品 名 品 番 個数
備 考
4 1 104272000406
SHUTTER シャッタ
5
1
104272000504
SHUTTER シャッタ
6
1
1028120006
PIN ピン
7 3 1028120007
BOLT ホ
゙ルト
8 1 1028120008
PIN ヒ
゚ン
12
1
104272001201
PLATE プレート
13
1
104272001301
HOLDER ホルダ
19 1 1042720019
SHAFT リニアシャフト
20 1 102812002004
BLOCK(SLIDE) ブロック(
スライド)
21
1
1028120021
BOLT ボルト
22 1 102812002201
CLAMP PIECE クランプビース
23 1 104272002306
BLOCK(SLIDE) ブロック
(スライド)
24
1
102812002401
BRACKET ブラケット
25
1
1028120025
KNUCKLE JOINT ナックルジョイント
26 1 1042720026
CONNECTING ROD コネクティングロッド
27 1 104272002701
LEVER レハ
゙ー
28
1
1042720028
CONNECTING ROD コネクティングロッド
29
1
1028120029
CONNECTING ROD コネクティングロッド
N 1 1 N942HL10-023
LIGHTING UNIT ショウメイユニット HL100RS-M1B
N 2 4 XNGNU6YSZ
LOCK-NUT ロックナット M6,2-TYPE,STAINLESS,STEEL,
N 3
1
XUB10FP
RETAINING RING C-TYPE C ガタジクヨウトメワ 10,STEEL,P.C
N 4
2
XLB6000UU
BALL BEARING ボールベアリング 6000UU
N12 1 N986MS415
PARALLEL PIN ヘイコウヒ
゚ン
MS4-15
N13 3 N513LM8UU
BUSHING ブ
ッシング
LM8UU
N14
10
XUBN1STW15
RETAINING RING C-TYPE,SHAFT C ガタジクヨウトメワ ISTW-15
N15 1 N544SFJ8155
SHAFT リニアシャフト SFJ8-155
N16 2 N513LM8SUU
BUSHING ブ
ッシング
LM8SUU
N19
3
N533PBR6FN
ROD END ロッドエンド PBR6FN
N20
2
N533PBRL6FN
ROD END ロッドエンド PBRL6FN
N22 1 N986YYYY-994
NUT U ナット M10SUS301,2-CLASS AISI1018
N33 4 XVE3B16FP
HEX. SOCKET HEAD CAP BOLT ロッカクアナツキホ
゙ルト
M3X16,STEEL,P.C
N36
2
XVE4B16FP
HEX. SOCKET HEAD CAP BOLT ロッカクアナツキボルト M4X16,STEEL,P.C
N37
1
XVE4B20FP
HEX. SOCKET HEAD CAP BOLT ロッカクアナツキボルト M4X20,STEEL,P.C
N38 3 XVE4B40FP
HEX. SOCKET HEAD CAP BOLT ロッカクアナツキボルト M4X40,STEEL,P.C
N39 3 XVE5B12FP
HEX. SOCKET HEAD CAP BOLT ロッカクアナツキホ
゙ルト
M5X12,STEEL,P.C
N41
6
XVE6B12FP
HEX. SOCKET HEAD CAP BOLT ロッカクアナツキボルト M6X12,STEEL,P.C
N50
3
XNG6DFP
HEXAGON NUT ロッカクナット M6,1-TYPE,STEEL,P.C
N51 3 XNGN6DFPL
HEXAGON NUT ロッカクナット M6,1-TYPE,STEEL,P.C (L.H.T
N53 11 XWG6FP
ROUND PLAIN WASHER ミガキマルヒラサ
゙ガネ
6,STEEL,P.C
V 1
1
N911LG3CF0
LIGHTING UNIT ショウメイユニット LG-3CFO
M126
F10427-20-000-AL_A-2

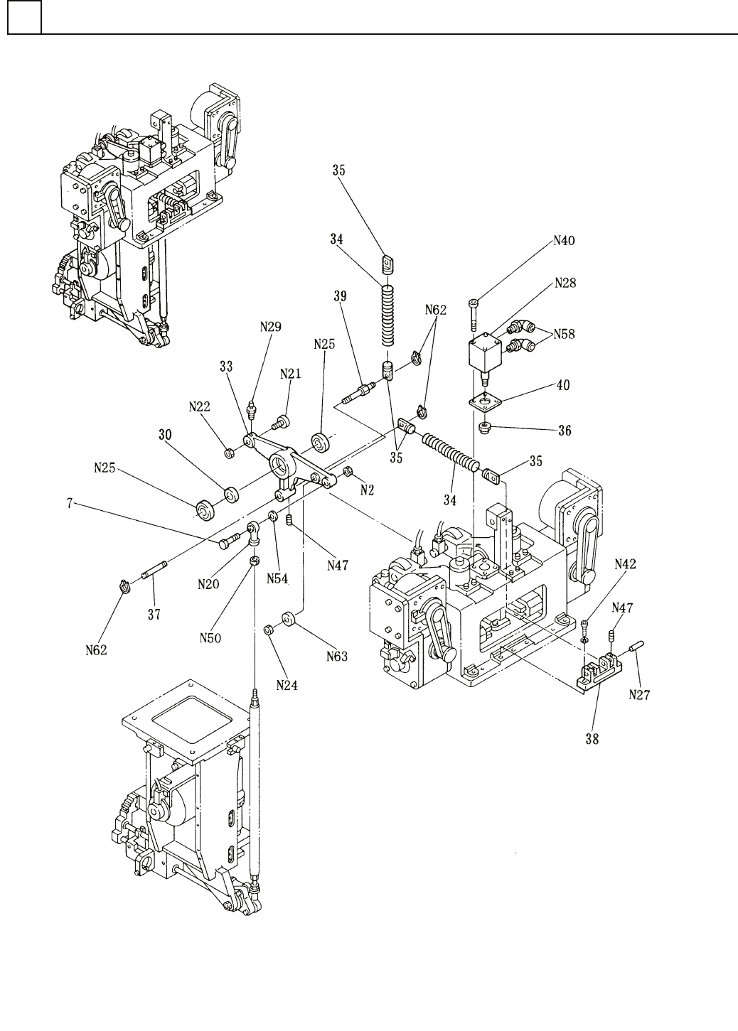
部品認識部(共通部3)
COMPONENT RECOGNITION SECT.(COMMON SECT.-3)
13
F10427-20-000-AL_A-3
M125

イラスト
No.
REF
No.
PART No.
PART NAME
REMARKS
Q'TY
13
部品認識部(共通部3)
COMPONENT RECOGNITION SECT.(COMMON SECT.-3)
部 品 名 品 番 個数
備 考
7 1 1028120007
BOLT ホ
゙ルト
30
1
1022416067
COLLAR カラー
33
1
102812003307
LEVER(CAM) レバー(カム)
34 2 102812003401
SPRING ハ
゙ネ
35 4 102812003502
HANGER ハンカ
゙ー
36
1
1028120036
STOPPER ストッパー
37
1
1042875912
PIN ピン
38 1 104272003801
BRACKET フ
゙ラケット
39 1 1042875913
PIN ヒ
゚ン
40
1
1042875916
SPACER スペーサ
N 2 1 XNGNU6YSZ
LOCK-NUT ロックナット M6,2-TYPE,STAINLESS,STEEL,
N20 1 N533PBRL6FN
ROD END ロット
゙エンド
PBRL6FN
N21
1
N531CF10-051
CAM FOLLOWER カムフォロア CF10RAS-240244
N22
1
N986YYYY-994
NUT U ナット M10SUS301,2-CLASS AISI1018
N24 1 XNGNU8VSZ
LOCK-NUT ロックナット M8,2-TYPE,STAINLESS,STEEL,
N25 2 XLB6003UU
BALL BEARING ボールヘ
゙アリング
6003UU
N27
1
N986MSTM820
PARALLEL PIN ヘイコウピン MSTM8-20
N28
1
N401CQSB-760
CYLINDER シリンダ CQSB25-25DCM
N29 1 N560NPT4
GREASE NIPPLE グリースニップル NPT4
N40 4 XVE5B50FP
HEX. SOCKET HEAD CAP BOLT ロッカクアナツキホ
゙ルト
M5X50,STEEL,P.C
N42
3
XVE6B20FP
HEX. SOCKET HEAD CAP BOLT ロッカクアナツキボルト M6X20,STEEL,P.C
N47
2
XXE4C5FP
HEX. SOCKET SET SCREW ロッカクアナツキトメネジ M4X5,STEEL,P.C
N50 1 XNG6DFP
HEXAGON NUT ロッカクナット M6,1-TYPE,STEEL,P.C
N54 1 XWG6FP
ROUND PLAIN WASHER ミガ
キマルヒラザガネ
6,STEEL,P.C
N58
2
N431KQL06M5
FITTING ツギテ KQL06-M5
N62 3 XUB8FP
RETAINING RING C-TYPE C ガタジクヨウトメワ 8,STEEL,P.C
N63 1 N531NART8UUR
ROLLER FOLLOWER ローラフォロア NART8UUR
M126
F10427-20-000-AL_A-3