MVIIF Parts list-Mechanical20101207.pdf - 第143页
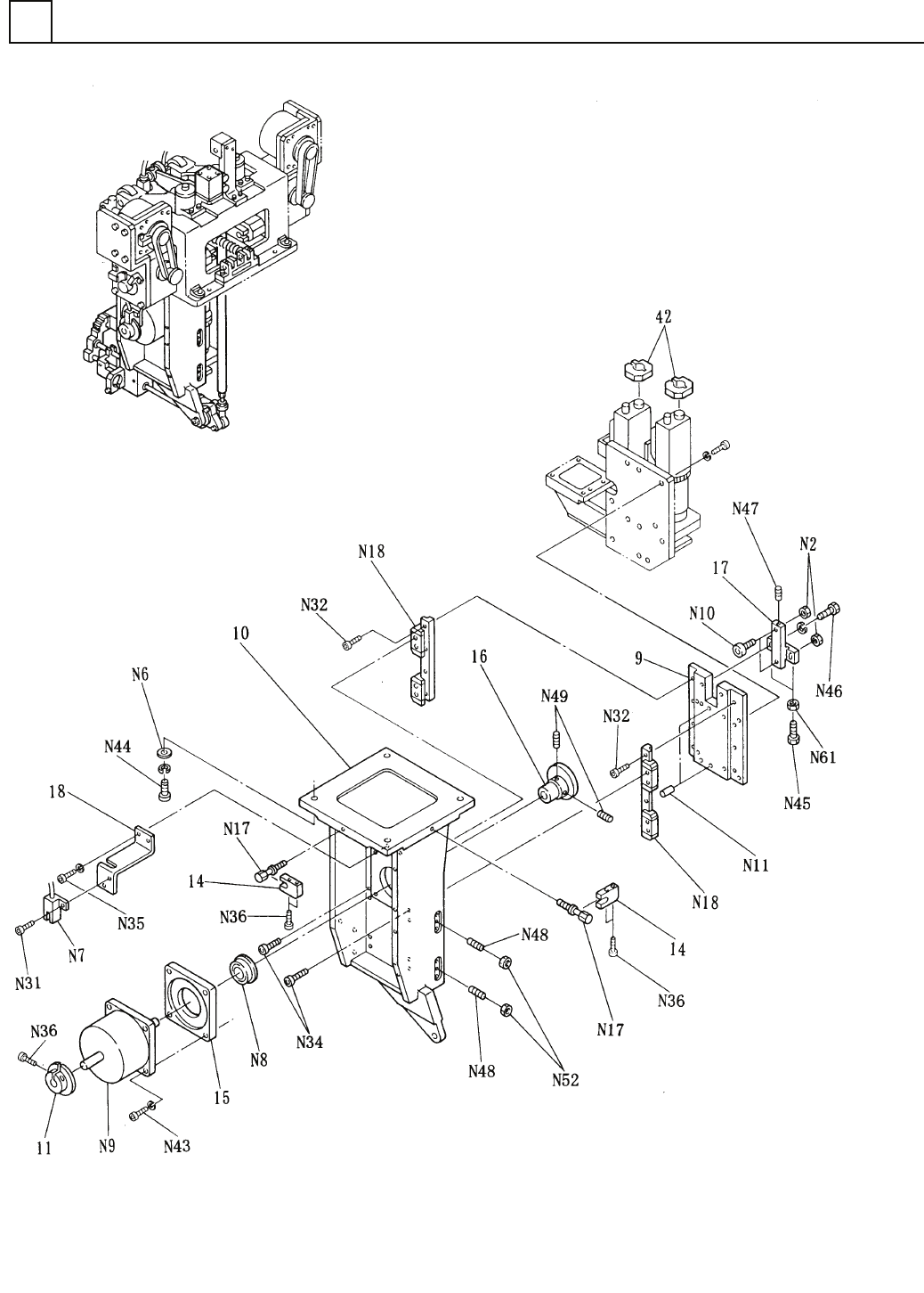
イラスト No. REF No. PART No. PART NAME REMAR KS Q'TY 13 部品認識部( 共通部1) COMPONENT R ECOGNITION SEC T.(COMMON SE CT.-1) 部 品 名 品 番 個数 備 考 1 1042720000 COMPONENT REC OGNITION UNIT ブヒンニンシキユニット 9 1 102812000902 PLATE プレート 10…

部品認識部(共通部1)
COMPONENT RECOGNITION SECT.(COMMON SECT.-1)
13
F10427-20-000-AL_A-1
M125

イラスト
No.
REF
No.
PART No.
PART NAME
REMARKS
Q'TY
13
部品認識部(共通部1)
COMPONENT RECOGNITION SECT.(COMMON SECT.-1)
部 品 名 品 番 個数
備 考
1 1042720000
COMPONENT RECOGNITION UNIT ブヒンニンシキユニット
9
1
102812000902
PLATE プレート
10
1
104272001003
BRACKET ブラケット
11 1 1042720011
SLIT DISK スリットテ
゙ィスク
14 2 1042720014
BLOCK ブロック
15
1
102812001501
HOLDER(BEARING) ホルダ(ベアリング)
16
1
1028120016
CAM カム
17 1 102812001703
HOLDER ホルタ
゙
18 1 1028120018
HOLDER(SENSOR) ホルダ
(センサ)
42
2
1044357968
HOLDER ホルダ
N 2 2 XNGNU6YSZ
LOCK-NUT ロックナット M6,2-TYPE,STAINLESS,STEEL,
N 6 4 N560SRW20
WASHER サ
゙ガネ
SRW20
N 7
1
N310P914A
SENSOR フォトマイクロセンサ P914A
N 8
1
XLBN6005VVNR
BALL BEARING ボールベアリング 6005VVNR
N 9 1 N606A486-089
MOTOR モータ A4860-9515N
N10 2 N531CF6UURA
CAM FOLLOWER カムフォロア CF6UUR-A
N11
2
N986MS615
PARALLEL PIN ヘイコウピン MS6-15
N17
2
N986AJST620
ADJUSTING BOLT アジャストボルト AJST6-20
N18 1 N5132HR1-283
LINEAR MOTION UNIT リニアモーションユニット 2HR1123+150L
N31 1 XVE3B8FP
HEX. SOCKET HEAD CAP BOLT ロッカクアナツキホ
゙ルト
M3X8,STEEL,P.C
N32
8
XVE3B10FP
HEX. SOCKET HEAD CAP BOLT ロッカクアナツキボルト M3X10,STEEL,P.C
N34
8
XVE3B20FP
HEX. SOCKET HEAD CAP BOLT ロッカクアナツキボルト M3X20,STEEL,P.C
N35 2 XVE4B12FP
HEX. SOCKET HEAD CAP BOLT ロッカクアナツキホ
゙ルト
M4X12,STEEL,P.C
N36 5 XVE4B16FP
HEX. SOCKET HEAD CAP BOLT ロッカクアナツキホ
゙ルト
M4X16,STEEL,P.C
N43
4
XVE6B35FP
HEX. SOCKET HEAD CAP BOLT ロッカクアナツキボルト M6X35,STEEL,P.C
N44 4 XVE8B35FP
HEX. SOCKET HEAD CAP BOLT ロッカクアナツキボルト M8X35,STEEL,P.C
N45 2 XVG4B12FP4
HEXAGON HEAD BOLT ロッカクホ
゙ルト
M4X12,STEEL,P.C,4T
N46
2
XVG6B20FP4
HEXAGON HEAD BOLT ロッカクボルト M6X20,STEEL,P.C,4T
N47
1
XXE4C5FP
HEX. SOCKET SET SCREW ロッカクアナツキトメネジ M4X5,STEEL,P.C
N48 2 XXE4C16FP
HEX. SOCKET SET SCREW ロッカクアナツキトメネジ M4X16,STEEL,P.C
N49 2 XXE6C10FP
HEX. SOCKET SET SCREW ロッカクアナツキトメネシ
゙
M6X10,STEEL,P.C
N52
2
XNG4AFP
HEXAGON NUT ロッカクナット M4,1-TYPE,STEEL,P.C
N61
2
XNG4CFP
HEXAGON NUT ロッカクナット M4,3-TYPE,STEEL,P.C
M126
F10427-20-000-AL_A-1

部品認識部(共通部2)
COMPONENT RECOGNITION SECT.(COMMON SECT.-2)
13
F10427-20-000-AL_A-2
M125