MVIIF Parts list-Mechanical20101207.pdf - 第88页
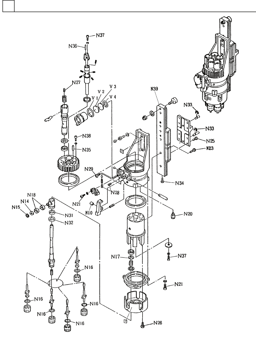
ノズル部 NOZZLE SECT . 7 F10427-10-100-BC-2 M69

イラスト
No.
REF
No.
PART No.
PART NAME
REMARKS
Q'TY
7
ノズル部
NOZZLE SECT.
部 品 名 品 番 個数
備 考
1 1042710100
NOZZLE UNIT ノス
゙ルユニット
102
13
102240902801
LABEL ラベル
103
12
104277774207
CASING ケーシング
104 12 104271000413
BRACKET フ
゙ラケット
105 60 104271000507
SHAFT(OUTER) シャフト(
アウター)
106
60
102811000602
PIN ピン
107
60
104277950001
SPRING バネ
109 12 104277774306
ROTARY BLOCK ロータリフ
゙ロック
110 12 102811001003
LEVER レハ
゙ー
111
12
1028110011
SPRING バネ
112 12 1042777864
COLLAR カラー
113 12 102241011901
SPRING ハ
゙ネ
114
12
104271001405
CAM(SIDE) カム(サイド)
115
60
1042710105
SHAFT(INNER) シャフト(インナ)
116 60 104277927303
CROSS GUIDE クロスガイド
117 12 104271001706
HOLDER(GUIDE) ホルタ
゙(ガイド)
119
12
104277774403
GEAR ギヤー
120
12
102241002201
PIN ピン
121 60 1042710122
SPRING バネ
122 60 102241012401
SPRING ハ
゙ネ
125
12
1025875279
WASHER ザガネ
134
60
1042775936
SPRING バネ
135 60 1042710035
FILTER フィルタ
138 12 104277529102
BLOCK(GUIDE) ブロック
(ガイド)
139
12
1042710039
PIN ピン
140 12 1042710040
PIN ピン
141 60 104277775602
COLLAR(THRUST) カラー
(スラスト)
142
12
104277775003
SHAFT シャフト
144
12
104277784903
PLATE SPRING イタバネ
148 24 1042710148
HEXAGON HEAD BOLT ロッカクボルト
149 24 1042710149
FITTING ニッフ
゚ル
N 1
12
XNGNU6ZVW
LOCK-NUT ロックナット M6,1-TYPE,STAINLESS
N 2
12
N531CFN6-057
CAM FOLLOWER カムフォロア CFN6RA-0251202
N 4 120 XLANMT15-003
BEARING ベアリング MT1510CG2*MS,AF2Q
N 5 24 XLANNB70-002
BALL BEARING ボールヘ
゙アリング
NB708SA NS7L
N 6
60
XUBN1STW10
RETAINING RING C-TYPE, SHAF C ガタアナヨウトメワ ISTW-10
N 7
12
N506D2.5
STEEL BALL コウキュウ 2.5
N 8 12 N506D18
STEEL BALL コウキュウ 1/8
N 9 12 N421PTFB8H
FILTER フィルタ PTFB-8H
M70
F10427-10-100-BC-1

ノズル部
NOZZLE SECT.
7
F10427-10-100-BC-2
M69

イラスト
No.
REF
No.
PART No.
PART NAME
REMARKS
Q'TY
7
ノズル部
NOZZLE SECT.
部 品 名 品 番 個数
備 考
N10 12 N520LFB0408
BUSHING ブ
ッシング
LFB-0408
N14
120
N560LRB60.2
WASHER ザガネ LRB6-0.2
N15
60
XUBN1STW6
RETAINING RING C-TYPE,SHAFT C ガタジクヨウトメワ ISTW-6
N16 60 N554C00508A
O-RING O
リング
C00508A
N17 60 N560LR100.5
WASHER ザ
ガネ
LR10-0.5
N18
120
XLANL1260
BALL BEARING ボールベアリング L-1260
N20
12
N431P0C4M5M
FITTING ツギテ POC4-M5M
N21 60 XVE3B8FZ
HEX. SOCKET HEAD CAP BOLT ロッカクアナツキホ
゙ルト
M3X8,STEEL,Z.B.P
N23 12 N986YYYY-694
BOLT ボルト(トルクスアナツキホ
゙タン)
M5X8
N25
96
XVE3B6FZ
HEX. SOCKET HEAD CAP BOLT ロッカクアナツキボルト M3X6,STEEL,Z.B.P
N26 48 XVEN3M8FZZ
HEX. SOCKET BUTTON HEAD BOL ロッカクアナツキボタンボルト M3X8,STEEL,Z.B.P
N27 60 XXE4C6FZ
HEX. SOCKET SET SCREW ロッカクアナツキトメネシ
゙
M4X6,STEEL,Z.B.P
N28
24
XXE3C4FZ
HEX. SOCKET SET SCREW ロッカクアナツキトメネジ M3X4,STEEL,Z.B.P
N29
24
XSB3+5FY
BINDING HEAD SCREW バインドコネジ M3X5,+,STEEL,Z.C.T
N31 60 XLANL1170
BALL BEARING ボールベアリング L-1170
N32 60 XLANL1280
BALL BEARING ボールヘ
゙アリング
L-1280
N33
24
XUC3FP
RETAINING RING E-TYPE E ガタトメワ 3,STEEL,P.C
N34
12
XVEN3M5FZZ
HEX. SOCKET BUTTON HEAD BOL ロッカクアナツキボタンボルト M3X5,STEEL,Z.B.P
N35 24 N986MS310
PARALLEL PIN ヘイコウピン MS3-10
N36 12 XPJ15A6FW
PARALLEL PIN ヘイコウヒ
゚ン
1.5X6,m6B,STEEL
N37
24
XVE3B5FZ
HEX. SOCKET HEAD CAP BOLT ロッカクアナツキボルト M3X5,STEEL,Z.B.P
N38
48
XVE3B20FZ
HEX. SOCKET HEAD CAP BOLT ロッカクアナツキボルト M3X20,STEEL,Z.B.P
N39 12 N513HRW1-840
LINEAR MOTION UNIT リニアモーションユニット HRW14LR1UCSMS
V 1 1 N554S16
O-RING O
リング
S-16
V 2
1
N421PTFBF
FILTER フィルタ PTFB-F
V 3 1 N421PTFB30
FILTER フィルタ PTFB-30
V 4 1 N5541AP12
O-RING O
リング
1AP12
M70
F10427-10-100-BC-2