MVIIF Parts list-Mechanical20101207.pdf - 第31页
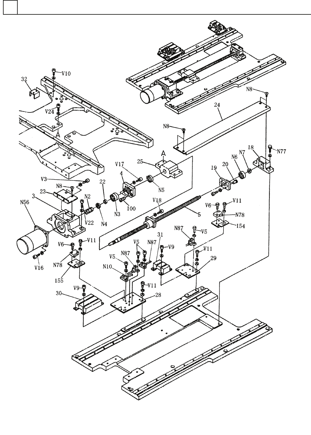
イラスト No. REF No. PART No. PART NAME REMAR KS Q'TY 3 X-Yテーブル部 (X軸駆動部 ) X-Y TABLE S ECT.(X-AXIS DR IVING SECT.) 部 品 名 品 番 個数 備 考 1 1042748000 X-Y TABLE UNI T X-Y テーブルユニット 4 1 1026648917 PLATE(STOPPER ) プレート(ストッパ) …

X-Yテーブル部(X軸駆動部)
X-Y TABLE SECT.(X-AXIS DRIVING SECT.)
3
F10427-48-000-AK_A-1
M13

イラスト
No.
REF
No.
PART No.
PART NAME
REMARKS
Q'TY
3
X-Yテーブル部(X軸駆動部)
X-Y TABLE SECT.(X-AXIS DRIVING SECT.)
部 品 名 品 番 個数
備 考
1 1042748000
X-Y TABLE UNIT X-Y
テーブルユニット
4
1
1026648917
PLATE(STOPPER) プレート(ストッパ)
7
1
102300452103
BALL SCREW ボールネジ
16 1 102664801601
HOUSING ハウシ
゙ング
19 1 1026648919
PLATE(STOPPER) プレート(
ストッパ)
20
4
1020102010
STOPPER ストッパー
22
1
1020102025
COLLAR カラー
26 1 104284802602
BRACKET(MOTOR) ブ
ラケット(モータ)
27 1 102015102302
BRACKET ブラケット
33
1
1042748033
PLATE プレート
34 1 1023871154
PLATE プレート
35 1 1042748035
PLATE フ
゚レート
36
1
1023871158
DOG FOR SENSOR センサドグ
153
1
1025871866
DOG FOR SENSOR センサドグ
N 2 1 N644N1014
COUPLING カップリング N-10-14
N 3 1 XLLN7201-000
BALL BEARING ボールヘ
゙アリング
7201ADBP5
N 4
1
XNRNFU01SUS
LOCK-NUT ロックナット FU01SUS
N 5
1
N55015G30A5
OIL SEAL オイルシール AG0596A0
N 6 1 XLC6201ZZ
BALL BEARING ボールベアリング 6201ZZ
N 7 1 XUB12FP
RETAINING RING C-TYPE C カ
゙タジクヨウトメワ
12,STEEL,P.C
N10
1
N310P9211
SENSOR フォトマイクロセンサ P921-1
N38
1
MSM042AJA
MOTOR モータ MSM042AJA
N71 2 XVEN3M6FPZ
HEX. SOCKET BUTTON HEAD BOL ロッカクアナツキホ
゙タンボルト
M3X6,STEEL,P.C
N87 3 N310P921B
SENSOR フォトマイクロセンサ P921B
V 4
2
XVE3B8FP
HEX. SOCKET HEAD CAP BOLT ロッカクアナツキボルト M3X8,STEEL,P.C
V 5 12 XVE3B10FP
HEX. SOCKET HEAD CAP BOLT ロッカクアナツキボルト M3X10,STEEL,P.C
V12 10 XVE4B12FP
HEX. SOCKET HEAD CAP BOLT ロッカクアナツキホ
゙ルト
M4X12,STEEL,P.C
V17
3
XVE5B12FP
HEX. SOCKET HEAD CAP BOLT ロッカクアナツキボルト M5X12,STEEL,P.C
V18
4
XVE5B14FP
HEX. SOCKET HEAD CAP BOLT ロッカクアナツキボルト M5X14,STEEL,P.C
V19 4 XVE5B15FP
HEX. SOCKET HEAD CAP BOLT ロッカクアナツキボルト M5X15,STEEL,P.C
V22 2 XVE5B20FP
HEX. SOCKET HEAD CAP BOLT ロッカクアナツキホ
゙ルト
M5X20,STEEL,P.C
V25
4
XVE6B20FP
HEX. SOCKET HEAD CAP BOLT ロッカクアナツキボルト M6X20,STEEL,P.C
M14
F10427-48-000-AK_A-1

X-Yテーブル部(Y軸駆動部)
X-Y TABLE SECT.(Y-AXIS DRIVING SECT.)
3
F10427-48-000-AK_A-2
M13