MVIIF Parts list-Mechanical20101207.pdf - 第51页
イラスト No. REF No. PART No. PART NAME REMAR KS Q'TY 3 X-Yテーブル 部(配線配管部 ) X-Y TABLE S ECT.(WIRING AN D PIPING SEC T.) 部 品 名 品 番 個数 備 考 V 2 12 XVE4B6FP HEX. SOCKET H EAD CAP BOLT ロッカクアナツキホ ゙ルト M4X6,STEEL,P.C V 3 24 XVE4…

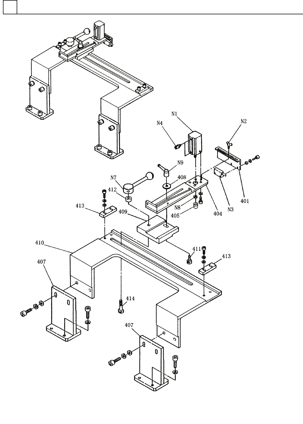
X-Yテーブル部(配線配管部)
X-Y TABLE SECT.(WIRING AND PIPING SECT.)
3
F10427-48-200-AH-2
M31

イラスト
No.
REF
No.
PART No.
PART NAME
REMARKS
Q'TY
3
X-Yテーブル部(配線配管部)
X-Y TABLE SECT.(WIRING AND PIPING SECT.)
部 品 名 品 番 個数
備 考
V 2 12 XVE4B6FP
HEX. SOCKET HEAD CAP BOLT ロッカクアナツキホ
゙ルト
M4X6,STEEL,P.C
V 3
24
XVE4B8FP
HEX. SOCKET HEAD CAP BOLT ロッカクアナツキボルト M4X8,STEEL,P.C
V 4
2
XVE5B8FP
HEX. SOCKET HEAD CAP BOLT ロッカクアナツキボルト M5X8,STEEL,P.C
V 5 2 XVE5B10FP
HEX. SOCKET HEAD CAP BOLT ロッカクアナツキホ
゙ルト
M5X10,STEEL,P.C
M32
F10427-48-200-AH-2

X-Yテーブル部(ストッパ部)
X-Y TABLE SECT.(STOPPER SECT.)
3
F10427-48-400-AC
M35