MVIIF Parts list-Mechanical20101207.pdf - 第156页
カッタ部 CUTTER SECT . 15 F10452-25-200-AA-1 M139

イラスト
No.
REF
No.
PART No.
PART NAME
REMARKS
Q'TY
14
ノズル選択部
NOZZLE SELECT SECT.
部 品 名 品 番 個数
備 考
N29 3 XVE4B16FP
HEX. SOCKET HEAD CAP BOLT ロッカクアナツキホ
゙ルト
M4X16,STEEL,P.C
N30
7
XVE5B12FP
HEX. SOCKET HEAD CAP BOLT ロッカクアナツキボルト M5X12,STEEL,P.C
N31
2
XVE5B16FP
HEX. SOCKET HEAD CAP BOLT ロッカクアナツキボルト M5X16,STEEL,P.C
N32 12 XVE8B12FP
HEX. SOCKET HEAD CAP BOLT ロッカクアナツキホ
゙ルト
M8X12,STEEL,P.C
N34 3 XNG3AFP
HEXAGON NUT ロッカクナット M3,1-TYPE,STEEL,P.C
N35
1
XNG8DFP
HEXAGON NUT ロッカクナット M8,1-TYPE,STEEL,P.C
N36
1
XNGN8DFPL
HEXAGON NUT ロッカクナット M8,1-TYPE,STEEL,P.C (L.H.T
N37 2 XXE5C10FP
HEX. SOCKET SET SCREW ロッカクアナツキトメネシ
゙
M5X10,STEEL,P.C
N39 1 XXE6C8FP
HEX. SOCKET SET SCREW ロッカクアナツキトメネシ
゙
M6X8,STEEL,P.C
N40
1
N531NART-016
ROLLER FOLLOWER ローラフォロア NART10R-040010
N41 1 N986LPT825
PARALLEL PIN ヘイコウピン LPT8-25
N42 1 N533SLBM8100
SHAFT シャフト SLBM8-100
N43
1
N986SWS21125
SPRING バネ SWS21-125
N44
1
N560SSWA-047
WASHER ザガネ SSWA13-3.0
N45 3 XXE4C6FP
HEX. SOCKET SET SCREW ロッカクアナツキトメネジ M4X6,STEEL,P.C
N47 2 XLLN5203ZZ
BALL BEARING ボールヘ
゙アリング
5203ZZ
N48
3
XVEN4M6FPZ
BOLT ロッカクアナツキボタンボルト M4X6,STEEL,P.C
M136
F10452-21-000-2

カッタ部
CUTTER SECT.
15
F10452-25-200-AA-1
M139

イラスト
No.
REF
No.
PART No.
PART NAME
REMARKS
Q'TY
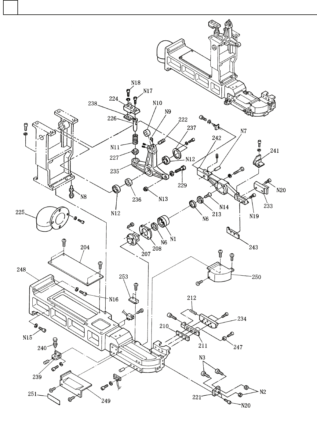
15
カッタ部
CUTTER SECT.
部 品 名 品 番 個数
備 考
1 1045225200
CUTTER UNIT カッターユニット
204
1
104272200401
COVER カバー
207
1
1042722007
PIN ピン
208 1 1042722008
COVER(BEARING) カハ
゙ー(ベアリング)
210 1 104272201003
PLATE(TAPER) プレート(
テーパー)
211
1
104272201104
PLATE プレート
212
1
1042722012
SPRING バネ
213 1 102812200901
CLAMP PIECE クランフ
゚ビース
221 1 104272502104
PLATE プレート
222
1
1042725222
PIN ピン
224 1 1042777704
BRACKET ブラケット
225 1 104272202503
FITTING ホースニッフ
゚ル
226
1
1042779380
PIN ピン
227
1
1042779388
GUIDE(SPRING) ガイド(スプリング)
229 1 1028116006
BOLT ボルト
233 1 104272523303
CUTTER(BLADE) カッター
(ブレード)
234
1
104272523402
CUTTER(BLADE) カッター(ブレード)
235
1
104272523502
LEVER レバー CUTTER
236 1 1042777753
COLLAR カラー
237 1 1042721038
COLLAR カラー
238
1
1042777701
PLATE プレート
239
1
1042722501
BRACKET ブラケット
240 1 102241150201
PIN(STAND) ピ
ン(スタンド)
241 1 1042725241
COVER カハ
゙ー
242
1
1042725242
LEVER(CUTTER) レバー(カッター)
243 1 1042725243
PLATE プレート
247 1 1042725247
COLLAR カラー
248
1
1045225248
BEAM DUCT ビームダクト
249
1
1045225249
COVER カバー
250 1 1045225250
COVER カバー
251 1 1042777689
LABEL ラヘ
゙ル
253
1
1045225253
BLOCK ブロック
N 1
1
XLLN7004ADB
BALL BEARING ボールベアリング 7004ADB
N 2 2 XNGNU6YSY
LOCK-NUT ロックナット M6,2-TYPE,STAINLESS,STEEL,
N 3 2 N531CFH6RA
CAM FOLLOWER カムフォロア CFH6R-A
N 6
2
N5600S25334
SEAL シール OS25334
N 7
1
N986MSTM825
PARALLEL PIN ヘイコウピン MSTM8-25
N 8 1 N986UST840
BOLT(STOPPER) ボ
ルト(ストッパ)
UST8-40
N 9 1 N560NPT4
GREASE NIPPLE グリースニッフ
゚ル
NPT4
N10
1
N531NART-016
ROLLER FOLLOWER ローラフォロア NART10R-040010
N11 1 N986SWS26110
SPRING バネ SWS26-110
N12 2 XLLN5203ZZ
BALL BEARING ボールヘ
゙アリング
5203ZZ
N13
1
XNGNU8VSP
LOCK-NUT ロックナット M8,2-TYPE,STAINLESS,STEEL,
N14
1
N986YYYY-485
BOLT ロッカクアナツキサラボルト M8X20
N15 2 XVE10B30FP
HEX. SOCKET HEAD CAP BOLT ロッカクアナツキボルト M10X30,STEEL,P.C
N16 2 XVE10B35FP
HEX. SOCKET HEAD CAP BOLT ロッカクアナツキホ
゙ルト
M10X35,STEEL,P.C
N17
2
XVE6B12FP
HEX. SOCKET HEAD CAP BOLT ロッカクアナツキボルト M6X12,STEEL,P.C
N18
2
XVE6B30FP
HEX. SOCKET HEAD CAP BOLT ロッカクアナツキボルト M6X30,STEEL,P.C
N19 2 XVE5B10FP
HEX. SOCKET HEAD CAP BOLT ロッカクアナツキボルト M5X10,STEEL,P.C
N20 4 XVE5B12FP
HEX. SOCKET HEAD CAP BOLT ロッカクアナツキホ
゙ルト
M5X12,STEEL,P.C
M140
F10452-25-200-AA-1