KE-3010A_KE-3020VA_KE-3020VRA-Rev06 (1)PDFA.pdf - 第107页
- 100 - REF.NO NOTE PART NO D E S C R I P T I O N 品 名 Qty 1 400 -48055 MINI PATLITE ASM ミニパトライト組 2 2 BT -0600400-EC URETHANE TUBE BLUE 6X4 ポリウレタン チューブ 青 6 X 4 0.15 3 BT -0400251-EA URETHANE TUBE BLUE 4X2.5 ポリウレタン チューブ 青 …

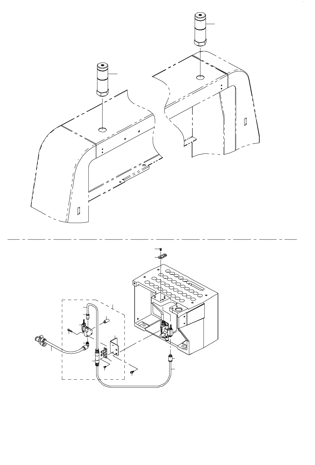
- 99 -
50.MINI PAT & SOT CHECK TABLE COMPONENTS
ミニパト・SOT 検査台関係
1
1
5
4
2
17
6
16
15
10
11
9
13
8
12
14
14
7
3

- 100 -
REF.NO NOTE PART NO D E S C R I P T I O N
品 名
Qty
1 400-48055 MINI PATLITE ASM
ミニパトライト組
2
2 BT-0600400-EC URETHANE TUBE BLUE 6X4
ポリウレタン チューブ 青 6 X 4
0.15
3 BT-0400251-EA URETHANE TUBE BLUE 4X2.5
ポリウレタン チューブ 青 4 X 2.5
0.25
4 400-45984 SOT CHECK BASE
SOT チェックベース
1
5 SM-1030601-SC SCREW M3 L=6
皿ねじ M 3 X 0.5 L =6
2
6 PJ-3010405-05 HALF UNION
ハーフユニオン
1
7 401-47666 SOT_VALVE_20VA_ASM
SOT バルブ 20 VA 組
1
8 PV-1305410-00 3-PORT SOLENOID VALVE
3ポート 電磁切替弁
(1)
9 PX-0505010-00 SILENCER
消音器
(1)
10 PJ-3010405-05 HALF UNION
ハ−フユニオン
(1)
11 PJ-3040605-02 ELBOW UNION 6XM5
エルボユニオン 6 XM 5
(1)
12 SM-6031202-TN SCREW M3X12
六角穴ボルト M 3 X 12
(2)
13 401-46942 CAL_VALVE_BRKT
CAL バルブブラケット
(1)
14 PF-0100030-A0 AIR SUCTION FILTER
エア サクション フィルタ
(1)
15 SM-1030601-SC SCREW M3 L=6
皿ねじ M 3 X 0.5 L =6
(2)
16 BT-0400251-EA URETHANE TUBE BLUE 4X2.5
ポリウレタン チューブ 青 4 X 2.5
(0.08)
17 SL-6030892-TN SCREW M3 L=8
座金付き六角穴ボルト M 3 L =8
2

- 101 -
51.FCS COMPONENTS
FCS 関係
3
1
19
19
17
6
15
18
2
4
7
8
9
10
26
14
16
14
15
20 22
13
23
25
12
24
11
5
27