JUKYX-193-5100_G5S2.pdf - 第184页
193-5100 JUKYX 4-68 V acuum V acuum Height overrun X0701 X0702 Robot Cable G5S2 Platform Multifunctional head nozzle 1 side valve break valve detection U07D(UC49) Con…

193-5100
JUKYX
4-67
-
OUT
+
BR
BK
BL
B6910
Y6912
1
2
CN12
X6910
CN10
1
2
3
3
2
1
CN11
X6911
X6915
1
2
CN15
X6918
1
2
CN18
X6919
1
2
CN19
3
2
1
CN13
B6913
3
2
1
CN14
X6914
3
2
1
CN16
X6916
3
2
1
CN17
X6917
X6905
1
2
CN5
3
4
5
6
Y6912
Feeder clamp
Feeder clamp (upper limit)
:6
:1
:10
:9
:8
:7
:2
:3
:4
:5
Bundle connector
X30F,X30B
10G
24G1,G2
X1
1
2
X69X1
7
9
6
8
FG
RTS
CTS
5
S.GND
4
3 TXD
2
RXD
1
1
3
2
6
X6906
X6908
CN6
CN8
U69
4
5
7
8
UP:RX+
UP:RX-
UP:TX+
UP:TX-
SG
High-speed IO
RS232C
[FB/02/4A]
from X30A-3,4
UP
I/O PCB
STLT_FB
:11
:12
C module
(12Pins)
ID15(25):Di12
DI
DI
DI
DI
DI
ID14(24):Di0
DO
DO
DO
*1
*1
Note1:In (), ID number on block 2 side
KYX-000-CC-079

193-5100
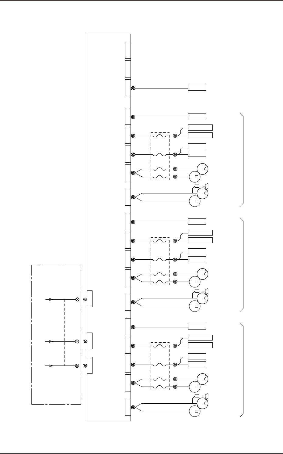
JUKYX
4-68
Vacuum
Vacuum
Height
overrun
X0701
X0702
Robot Cable
G5S2 Platform
Multifunctional head nozzle 1 side
valve
break valve
detection
U07D(UC49)
Connector PCB
CN9 CN11
CN1
SIG & DIOPW
CN2
20P 44P
CN4
Y145-1
Y145
Y146-1
CN10
B143-1(R)
B143
B143-1(T)
B144-1
CN3
3
M
M
SSG
M141-1
1Z(θ)
M141-P
M141
3
M
M
SSG
M142-1
1L(Z)
CN21
PW
8P
CN12 CN14CN5
Y145-2
Y145
Y146-2
CN13
B143-2(R)
B143
B143-2(T)
B144-2
CN6
3
M
M
SSG
M141-2
2Z(θ)
M141-P
M141
3
M
M
SSG
M142-2
2L(Z)
CN15 CN17CN23
Y145-3
Y146-3
CN16
B143-3(R)
B143-3(T)
B144-3
CN22
3
M
M
SSG
M141-3
3Z(θ)
M141-P
M141
3
M
M
SSG
M142-3
3L(Z)
CN18
N301
CN19 CN20
Y145 B143
X0704 X0703 X0709 X0710 X0711 X0705 X0706 X0712 X0713 X0714 X0723 X0722 X0715 X0716 X0717 X0718
X0712
Multifunctional head nozzle 2 side Multifunctional head nozzle 3 side
Height
detection
Vacuum
Vacuum
Height
overrun
valve
break valve
detection
Height
detection
Vacuum
Vacuum
Height
overrun
valve
break valve
detection
Height
detection
detection
Parts fall
KYX-000-CC-080-1

193-5100
JUKYX
4-69
CN1
A1
A2
A3
A4
A5
A6
A7
A8
A9
A10
B1
B2
B3
B4
B5
B6
B7
B8
B9
B10
U_4
V_4
W_4
SHD
10 (GND)
24A6 (24V)
F.G
B1_3
B2_3
B1_4
U_3
V_3
W_3
U_1
V_1
W_1
U_2
V_2
W_2
B2
A1
A2
B1
A5
B5
A3
B3
A6
A4
B6
CN3
M
3
B4
U_1
F.G
V_1
W_1
MR_1
MRR_1
SHD
SSG
M141-1
P5G
P5
Robot Cable
U07D
Connector PCB
Robot Cable
B2
A1
A2
B1
A5
B5
A3
B3
A6
A4
B6
CN4
M
3
B4
U_4
F.G
V_4
W_4
MR_4
MRR_4
SHD
SSG
M142-1
P5G
P5
U07D
Connector PCB
B2
A1
A2
B1
A5
B5
A3
B3
A6
A4
B6
CN22
M
3
B4
U_5
F.G
V_5
W_5
MR_5
MRR_5
SHD
SSG
M141-3
P5G
P5
Robot Cable
Robot Cable
B2
A1
A2
B1
A5
B5
A3
B3
A6
A4
B6
CN23
M
3
B4
U_6
F.G
V_6
W_6
MR_6
MRR_6
SHD
SSG
M142-3
P5G
P5
:3
:4
:5
:2
:1
:3
:4
:5
:2
:1
:3
:4
:2
:1
:3
:4
:2
:1
U07D
Connector PCB
B2
A1
A2
B1
A5
B5
A3
B3
A6
A4
B6
CN6
M
3
B4
U_4
F.G
V_4
W_4
MR_4
MRR_4
SHD
SSG
M141-2
P5G
P5
Robot Cable
Robot Cable
B2
A1
A2
B1
A5
B5
A3
B3
A6
A4
B6
CN5
M
3
B4
U_3
F.G
V_3
W_3
MR_3
MRR_3
SHD
SSG
M142-2
P5G
P5
:3
:4
:5
:2
:1
:3
:4
:2
:1
CR
CR
CR
B2_4
CN1
A1
A2
A3
A4
B1
B2
B3
B4
U_5
V_5
W_5
B1_6
U_6
V_6
W_6
B2_6
X0701
1Z Axis
1L Axis
3Z Axis
3L Axis
M141P
M141
M141P
M141
X0703
X0704
X0722
X0723
2Z Axis
2L Axis
M141P
M141
X0706
X0705
X0721
KYX-000-CC-081-1