JUKYX-193-5100_G5S2.pdf - 第61页
193-5100 JUKYX 1-1 1 4 5 2 3 1 Fig_1-21S

193-5100
JUKYX
1-10
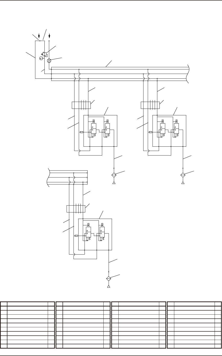
Nozzle 3
5
6
7
14
9
13
15
SETUP
0.025MPa
2
3
1
Air IN
Vacuum
11
Nozzle 1
5
6
7
10
8
12
14
9
13
15
Nozzle 2
5
6
7
14
9
13
15
Fig_1-19S_A

193-5100
JUKYX
1-11
4
5
2
3
1
Fig_1-21S

193-5100
JUKYX
1-12
1-41-1
1-3
1-2
2-8
2-6
2-5
2-9
2-6
2-1
2-10
2-2
2-9
3-4
3-3
3-2
3-1
3-1
3-6
3-5
3
1
2
2-4
2-7
2-3
2-11
2-11
Fig_1-4S