KE-750_KE-760-Rev07PDF.pdf - 第48页
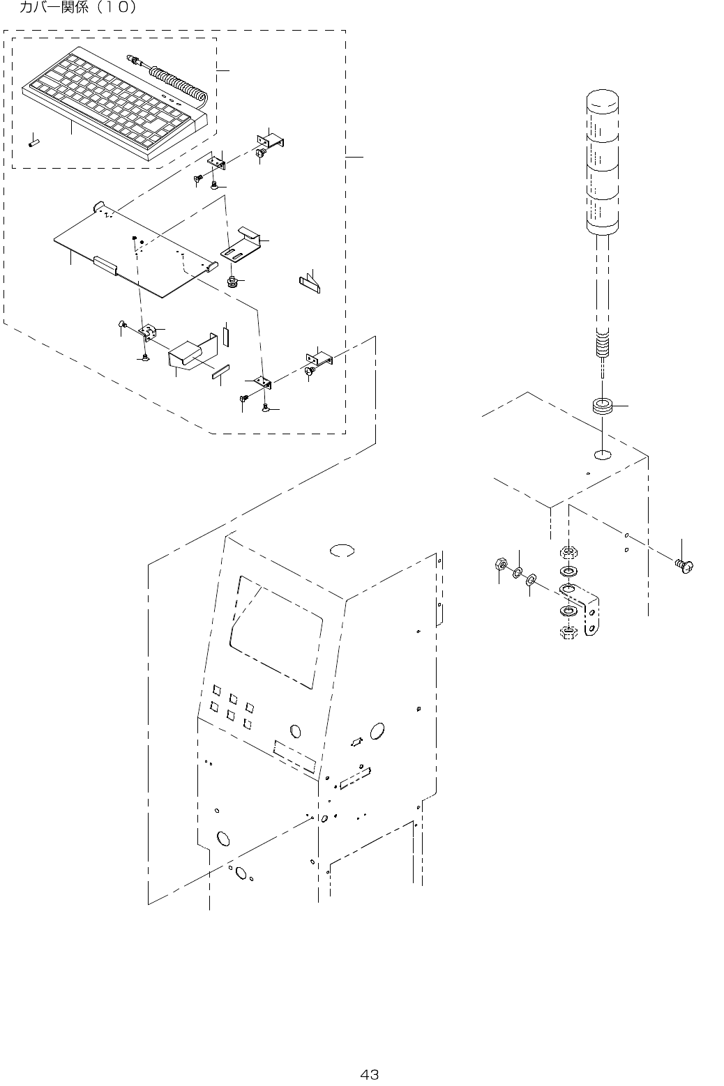
- - 22.COV E R COMPONENTS ( 10) 1 9 1 8 1 6 1 7 1 5 2 7 4 1 0 1 0 8 9 1 0 1 0 1 1 1 2 1 2 1 0 1 0 1 1 1 3 6 5 1 4 9 9 1 3 3 1

- -
REF.NO NOTE PART NO D E S C R I P T I O N Qty
1 E1340-725-BA0 OPERATION UNIT ASM.(ZC) 1
2 E1345-725-000 LCD SHEET (1)
3 E5776-172-000 TOP COVER PACKING PU (2)
4 HX-0050400-00 ROLLER (1)
5 E1340-725-000 PC BRACKET (1)
6 SM-1030601-SN SCREW M3X0.5 L=6 (4)
7 NM-3040520-SF FLANGE NUT M4 (6)
8 400-18945 PANEL COMPUTER (1)
9 E1310-725-000 FDD SUPPORT (1)
10 SM-0061201-SC SCREW (3)
11 SL-4030691-SC SCREW M3X6 (8)
12 E9431-725-0A0 KEYBOARD TRUNK CABLE ASM. (1)
13 E9432-725-0A0 BACK LIGHT TRUNK CABLE ASM. (1)
14 E9433-725-0A0 FDD CONNECT CABLE ASM. (1)
15 E8611-725-0A0 ARCNET BOARD ASM. (1)
16 E9616-721-000 MS-DOS LICENES SEAL (1)
17 E8603-725-AA0 OPERATION BOARD ASM. (1)
18 E8604-725-BA0 OPERATION BOARD B ASM. (1)
19 E8604-725-CA0 OPERATION SW BOARD C ASM. (1)
20 SM-6030602-TN HEX SCREW M3 X 6 (5)
21 E9606-715-000 FLOPPY DISC DRIVE (1)
22 400-33712 VISION MONITOR COMPLETION ASM (1)
23 E9454-721-0A0 PORTRAIT MONITOR CABLE ASM. (1)
24 E9521-725-0A0 HOD TRUNK CABLE ASM. (1)
25 E9525-725-0A0 R EMERGENCY SW CABLE ASM. (1)
26 NM-6860003-SC NUT M2.6 (2)
27 SL-4030691-SC SCREW M3X6 (2)
28 E9523-725-0A0 E EMERGENCY SW CABLE ASM. (1)
29 E9412-725-0A0 F OPER ATION SW CABLE ASM. (1)
30 E9420-725-AA0 R OPER ATION SW CABLE ASM. (1)
31 E9404-725-0A0 AIR SENSOR TRUNK CABLE ASM. (1)
32 E9402-725-AA0 SIGNAL LIGHT TRUNK CABLE ASM. (1)
33 HA-0045400-00 SWITCH (8)
34 HA-0045400-30 LED FOR SWITCH (4)
35 HA-0045400-20 SWITCH OPERATION (2)
36 HA-0045400-2A SWITCH OPERATION (2)
37 HA-0045400-2B SWITCH OPERATION (2)
38 HA-0045400-40 SWITCH OPERATION (2)
39 SL-4040891-SC SCREW M4 L=8 (8)
40 E9632-715-D00 ZIPPER TUBE (GPJ-30) (0.35)
41 E9236-725-0A0 RELAY CABLE ASM. (1)
42 E9437-725-0A0 PRINTER RELAY CABLE ASM. (1)
43 SL-4040891-SC SCREW M4 L=8 (4)
44 E9511-725-0A0 F SET UP SW CABLE ASM. (1)
45 E9516-725-0A0 R SET UP SW CABLE ASM. (1)
46 E9512-725-0A0 F COVER OPEN SW CABLE 1 ASM. (1)
47 E9513-725-0A0 F COVER OPEN SW CABLE 2 ASM. (1)
48 E9514-725-0A0 F COVER OPEN SW CABLE 3 ASM. (1)
49 E9517-725-0A0 R COVER OPEN SW CABLE 1 ASM. (1)
50 E9518-725-0A0 R COVER OPEN SW CABLE 2 ASM. (1)
51 E9519-725-0A0 R COVER OPEN SW 3 ASM. (1)
52 HX-0050000-00 CONDUIT (2)
53 HA-0045500-00 DOOR SWITCH (2)
54 SM-1042501-SC SCREW M4X0.7 L=25 (4)
55 HK-0122900-0B HOLDER (2)
56 HN-0014900-00 CLAMP FILTER(L) (4)
57 E1141-725-000 PC COVER(CE) (1)
58 HX-0050100-00 EMI GASKET (1.5)
59 E1142-725-000 OP PWB COVER(CE) (1)
60 HX-0005600-0C SPACER (4)
61 E1143-725-000 OP SW PWB COVER(CE) (2)
62 HX-0035400-0C BASE PARTS (8)
63 E1144-725-000 FDD COVER(CE) (1)
64 SL-6030692-TN BOLT (2)
65 HX-0036700-00 BUSH (0.15)
66 HK-0253200-90 CONNECTOR 9P (1)
67 EA-9635B00-00 SOCKET (2)
68 115-03505 RUBBER CUSHION (1)
69 E1143-721-000 WOOLEN CLOTH PAPER (1)
70 HX-0036700-00 BUSH (0.1)
71 HX-0029400-00 FIXED BASE (5)
72 E9614-725-AA0 HARD DISK ASM (CE) (1)
73 400-81262 SOLID STATE DRIVE 256MB (1)
74 E1140-725-000 HDD BRACKET (CE) (1)
75 E9237-725-0A0 HDD INTERFACE CABLE ASM. (1)
76 SL-4030891-SC SCREW M3X8 (8)
77 CM-3001000-01 LABEL 4

- -
22.COVER COMPONENTS (10)
1 9
1 8
1 6
1 7
1 5
2
7
4
1 0
1 0
8
9
1 0
1 0
1 1
1 2
1 2
1 0
1 0
1 1
1 3
6
5
1 4
9
9
1 3
3
1

- -
REF.NO NOTE PART NO D E S C R I P T I O N Qty
1 E1341-721-0A0 KB BRACKET ASM. 1
2 400-12514 KB BRACKET (1)
3 400-03318 KEY BOARD SP ASM (1)
4 400-03284 KEY BOARD (1)
5 HX-0033500-0G SPACER (2)
6 400-01440 KB CLAMP (1)
7 SL-4040891-SC SCREW M4 L=8 (2)
8 E1347-721-000 KB STAND R (1)
9 E1349-721-000 KEYBOARD HINGE (3)
10 SM-1030501-SC SCREW M3 L=5 (12)
11 E1344-721-000 KEYBOARD MOUNTING PLATE (2)
12 SM-0040601-SC SCREW M4X0.7 L=6 (4)
13 E1346-721-000 KEYBOARD MAGNET (2)
14 400-12382 KEYBOARD SEAL (1)
15 SM-0061201-SC SCREW 2
16 NM-6060003-SC NUT M6 2
17 WS-0610002-KN SPRING WASHER 6.1X12.2X1.5 2
18 WP-0841601-SC WASHER 8.4X17.4X1.6 2
19 HX-0005500-0N RUBBER BUSHING 1