KE2040 Instruction Manual_ver1.30.pdf - 第841页
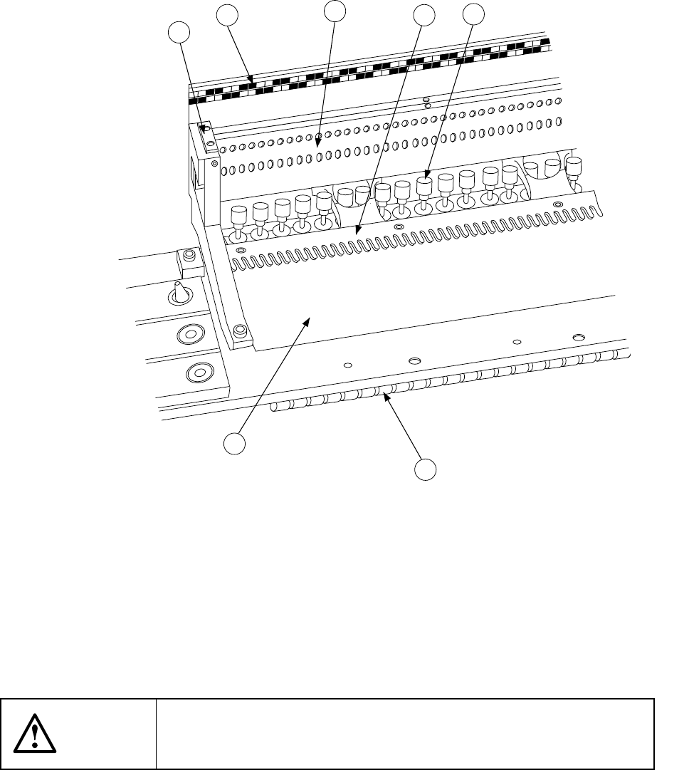
14 − 20 14.3.5 A TC bracket 1 5 6 8 7 9 10 11 12 4 3 2 13 15 14 16 20 21 23 22 24 25 26 27 19 18 17 28 30 29 ① ATC brack et ⑥ ATC O FF sensor ② Slide plate ⑦ ATC ON sensor ③ Nozzle outer support ⑧ ATC no. (1 to 3 0, A, B…

14 − 19
Applying Machine Oil to a Nozzle After Cleaning It
Moisture contained in ethanol or IPA (isopropyl alcohol) may rust the inner pats of a
nozzle if you leave the nozzle without drying it after cleaning it in a supersonic cleaning
bath. Therefore, be sure to apply New Deflex Oil No. 1 (JUKI part number is
MDFRX1001L0) to the nozzle slider.
Use a cotton swab lightly dampened with New Deflex Oil No. 1 to apply this oil to the
part of the nozzle shown below (the part popped up from the nozzle inner section when
you push the nozzle slider). After that, move the nozzle slider up and down 20 to 30
times to apply oil to the nozzle slider thoroughly. Next, remove oil stuck to the exterior
of the nozzle inner section and excessive oil with a clean wiping rag.
Note that nay oil should not be stuck to the nozzle diffuser and rubber section
(shaded section in the figure below).
Be sure to apply only New Deflex Oil No. 1 to the nozzle. If you apply any high
viscosity of oil such as grease to the nozzle, the nozzle slider cannot move back to the
original position easily.
WARNING
Solvent may be flamed. Be careful to handle it. Never use acetone.
Or the diffuser may be discolored. Be sure to wear a mask for organic
gas before cleaning a device. Some ingredient of IPA is hazardous to
humans.
WARNING
To prevent the body from injury which can be caused by accidental
activation of the machine, cut off the power to the machine before
starting to work.
Cotton swab
Cotton swab
Small tray
Part to which oil
should be applied
Nozzle inner section
Diffuser
Nozzle slider
Diffuser
Rubber section
20 to 30 times
Clean wiping

14 − 20
14.3.5 ATC bracket
1
5
6
8
7
9
10
11
12
4
3
2
13
15
14
16
20
21
23
22
24
25
26
27
19
18
17
28
30
29
① ATC bracket ⑥ ATC OFF sensor
② Slide plate ⑦ ATC ON sensor
③ Nozzle outer support ⑧ ATC no. (1 to 30, A, B)
④ Air cylinder ⑨ Nozzle
⑤ Speed controller
If chips or dirt remains on the ATC bracket ①, nozzle mounting may fail.
Clean the ATC bracket with gauze or similar material lightly damped with alcohol.
WARNING
To prevent the body from injury which can be caused by accidental
activation of the machine, cut off the power to the machine before
starting to work.
④
③
⑤
⑥
⑦
⑧
⑨
②

14 − 21
14.3.6 Feeder bank
Clean the surface of the feeder bank with dry cloth before mounting feeders such a
tape feeder there.
Clean the feeder bank with dry cloth so that the fixing plate B ③ is free from
obstacles.
Using a vacuum cleaner, clean the feeder bank if there are chips or some foreign
matters remained on it.
6
2
4
1
5
3
7
① Feeder bank ⑤ Drive cylinder
② Fixing plate ⑥ Position label
③ Fixing plate B ⑦ Bank mark
④ Lock shaft
WARNING
To prevent the body from injury which can be caused by accidental
activation of the machine, cut off the power to the machine before
starting to work.