KE2040 Instruction Manual_ver1.30.pdf - 第854页
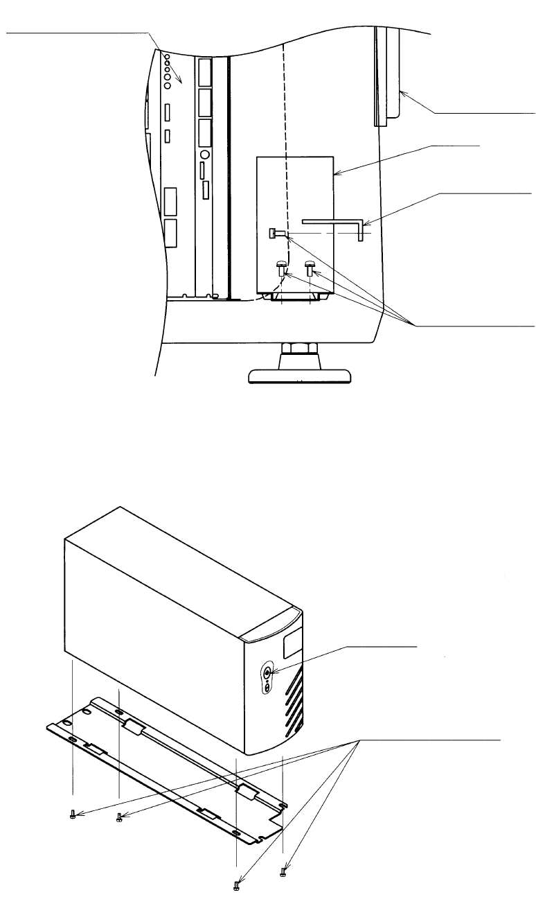
14 − 33 Figure 14.5.1. 3 Figure 14.5.1. 4 Control unit Remove scre ws. Main break er Ter m inal plate UPS Pow er swi tch Remove scre ws.

14 − 32
Figure 14.5.1.1
Figure 14.5.1.2
FB cover
UPS attaching position
Disconnect the
communication
connector.
Disconnect the
relay connector.
Disconnect the
relay connector.
Disconnect the power
plug from the AC

14 − 33
Figure 14.5.1.3
Figure 14.5.1.4
Control unit
Remove screws.
Main breaker
Terminal plate
UPS
Power switch
Remove screws.

14 − 34
14.5.2 Replacing Batteries
The following steps explain how to replace the batteries. Consider all warnings,
cautions, and notes before replacing batteries.
WARNING
Batteries can present a risk of electrical shock or burn from high short
circuit current.
The following precautions should be observed :
1) Remove watches, rings or other metal objects.
2) Use tools with insulated handles.
3) Do not lay tools or metal parts on tip of batteries.
1. Place the UPS on its side, and remove the screw that fixes the lid of the battery
located on the bottom of the UPS. Slide the lid to remove it (see Figure
14.5.2.1).
2. Hold the disconnect tabs to pull down the battery slowly.
3. Disconnect two lead lines connecting the battery to the UPS.
4. Connect the lead lines to a new battery: connect the red line to the (+) side
and the black line to the (-) side. Put a new battery into the case gently.
5. Slide the battery lid to fit it to the case, and fix it with the screws that were
removed at Step 3.
Black (-)
Red (+)
Figure 14.5.2.1