5OM-1603-005_w.pdf - 第112页
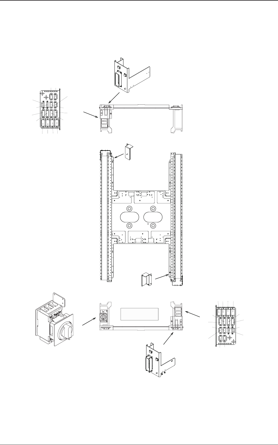
5OM-1603 3-9 Parts Location 1 102-003J(01300) Layout under the Base (Surrounding Area – Rear Area) U07 Front/Rear I/F BOX Intermediate Conveyor I/F (L) Intermediate Conveyor I/F (R) OP Panel RB Exhaust FAN M106 X195 X185…

5OM-1603
3-8
Parts Location
1102-004J(01300)
Layout under the Base (Surrounding Area – Front Area)
X16501
X16502
X16503
U165
U95
LED Lighting Control PCB
Noise Filter
Z01
M105
X721
LAN I/F
Air Inlet FAN
Z02
CPU-Mst1
(option)

5OM-1603
3-9
Parts Location
1102-003J(01300)
Layout under the Base (Surrounding Area – Rear Area)
U07
Front/Rear I/F BOX
Intermediate Conveyor I/F (L)
Intermediate Conveyor I/F (R)
OP Panel RB
Exhaust FAN
M106
X195
X18512
X196
X18514
K90B
K90A
F50A
F50B

5OM-1603
3-10
Parts Location
1102-003J(01300)
Layout over the Base (General View)
X2300
SV-NET Converter
SV-NET Converter
U181F
U181R
X2200
X2100
X231P1
X22501
Q200
X1311B
X1E39
X12410
Robot Cable Relay Panel
Robot Cable Relay Panel
Front Side Bundled Connector
Rear Side Bundled Connector
Main Breaker
X1311A
X12301
X12201
X12102
X22507
X13601
Front View
X1311B
X1311A
X12301
X12201
X231P1
X2100
X2300
X22501
X1E39
X12410
X13601
X12102
X22507
X2200