XPF POP使用说明.pdf - 第33页
INS-XPFRDF-3.0S 6. 生产 XPF 旋转式浸渍助焊剂单元使用说明书 23 6.1.4 使自动运转的时候的吸嘴尺寸检查有效 1. 请选择 [ 设定 / 管理 ]-[ 工作条件设定 ] 画面。 2. 请选择 「自动运转开始的时候进行吸嘴尺寸检查」 。 6.1.5 废弃动作 浸渍的元件上涂敷了助焊剂和锡膏 。如果想要 与没有被浸渍的元件分别废弃到大型不良元 件排出盘时,请设定以下的固有 值。 备注 )浸渍的元件排出到中型不良元…

6. 生产 INS-XPFRDF-3.0S
22 XPF 旋转式浸渍助焊剂单元使用说明书
参考)关于浸渍动作设定和助焊剂传送时间
这里,对每个设定的机器动作和助焊剂传送时间进行说明。在设定动作模式时请参考。
6.1.3 测定下锡位置高度
1. 请选择 [ 设定 / 管理 ]-[ 测定助焊剂下锡位置高度 ] 画面。
2. 请按下 [ 测定助焊剂下锡位置高度 ] 按键开始测定。
备注 )这个处理请在每个浸渍助焊剂单元进行。
注意 )测定下锡位置高度的时候,请注意以下的要点进行测定。测定地方有伤痕时,请在将
浸渍助焊剂单元的电源 OFF 的状态下手动旋转下锡台,变更测定地方到没有伤痕的位
置。
1.根据工厂内的照明环境不同,在下锡台上偶尔有因为照明发出的点光而不能进行测
定的情况。测定错误时,不要在机器本体内射入照明光,请将 Side1 侧安全盖板上部
遮光后重新测定。
2.根据使用环境的不同点光 LED 单元的镜子有时会弄脏。如果镜子脏时,因为不能正确
的测定,所以请清扫镜子后进行测定。
08NST-0039S

INS-XPFRDF-3.0S 6. 生产
XPF 旋转式浸渍助焊剂单元使用说明书 23
6.1.4 使自动运转的时候的吸嘴尺寸检查有效
1. 请选择 [ 设定 / 管理 ]-[ 工作条件设定 ] 画面。
2. 请选择 「自动运转开始的时候进行吸嘴尺寸检查」。
6.1.5 废弃动作
浸渍的元件上涂敷了助焊剂和锡膏。如果想要与没有被浸渍的元件分别废弃到大型不良元
件排出盘时,请设定以下的固有值。
备注 )浸渍的元件排出到中型不良元件排出盘时,自动进行分别废弃。
08NST-0040S
固有值名 输入范围 初始值 说明
__RefuseSegregation 0 ~ 1 1 0:进行分别废弃
1:不进行分别废弃

6. 生产 INS-XPFRDF-3.0S
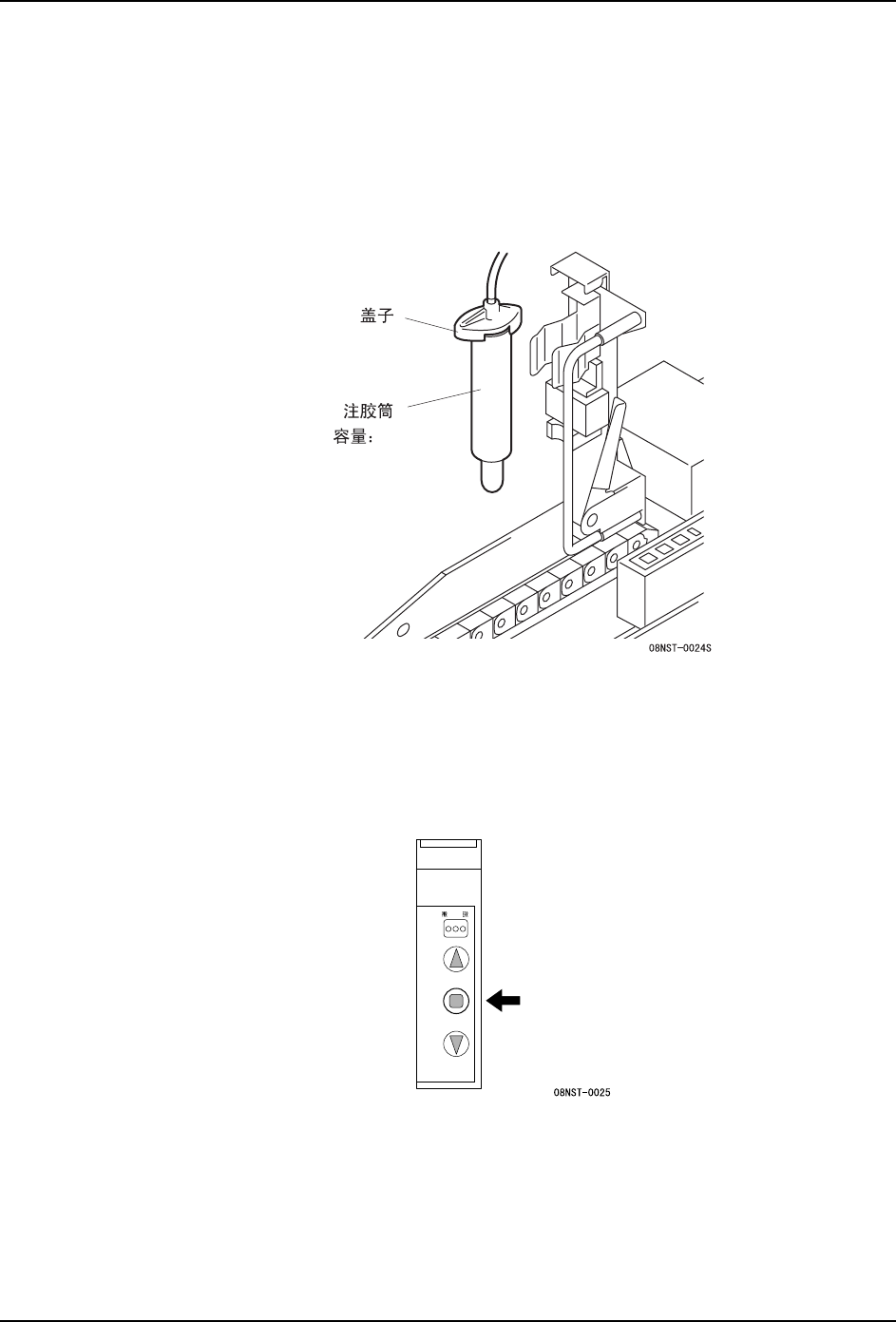
24 XPF 旋转式浸渍助焊剂单元使用说明书
6.2 助焊剂的供应
作为运转前准备,存在着自动供应助焊剂和手动供应助焊剂两种方法。
6.2.1 在运转前准备中自动供应助焊剂
重新充填助焊剂时或变更助焊剂种类时,请使用 [ 运转前准备功能 ],进行助焊剂供应。
1. 从浸渍助焊剂单元上拆下注胶筒,上部的盖子旋转约 90 度后拆下。
2. 向注胶筒充填助焊剂。
3. 盖好盖子,并安装到浸渍助焊剂单元上。
4. 按住[■]开关(2秒以上),变成生产前准备动作模式。
反复以设定时间传送助焊剂和下锡台旋转动作,直到余量检测传感器进行检测为止 (最
多20次)。
备注 )在生产前准备动作中,请不要开始生产。
30 cc