XP142机械手册.pdf - 第6页
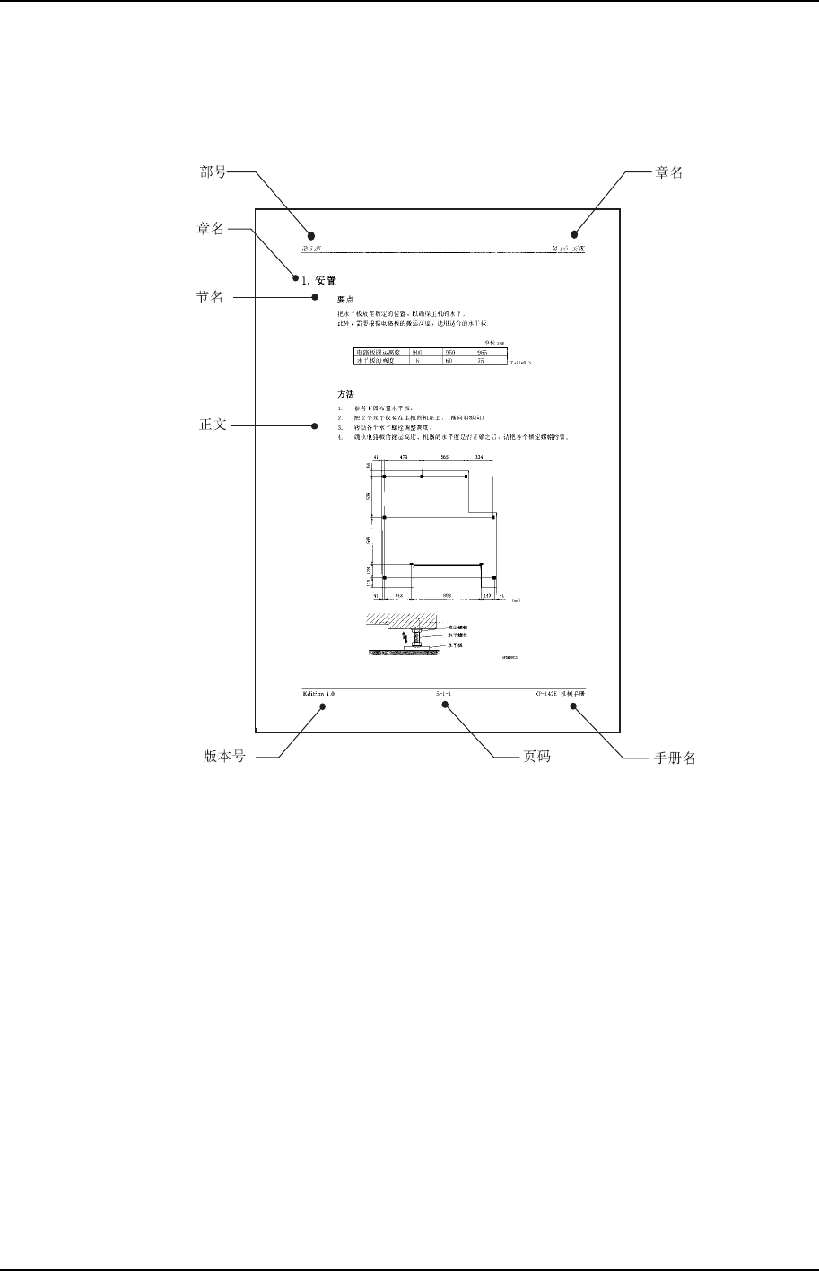
本手册的有关事宜 XP-142E 机械手册 ii Edition 1.0 各页的构成 各页中除了正文以外有部号、章名、 节名、版本号、页码以及手册名构成 。 XP1MF201S 部 号 : 该页所属的部名在页眉处表 示。 章 名 : 表示该页所属的章的名称。 每 1 部是有章来构成 的。 节 名 : 节的编号和名称。每 1 章分 为几个节。 正 文 : 用图和文字记录操作中所需 要的信息。 手 册 名 : 表示机器的名称和手册的种类。 …

本手册的有关事宜
Edition 1.0 i XP-142E 机械手册
本手册的有关事宜
本手册是针对用户在进行机器的维护保养时, 对所需的信息进行说明。手册所记载的内容以
及使用的用语的难度是以日常从事于电子元件装贴业务的专业技术人员为对象。请务必充分理解手
册的内容以实现安全且高效维护保养作业。
为了能在操作机器中随时能阅读,请把本手册放在手头。
手册的构成
该手册是由如下 6 部所构成。
安全指南
第 1 部 机器主体
第 2 部 基本操作
第 3 部 维修保养
第 4 部 故障排除
第 5 部 安装

本手册的有关事宜
XP-142E 机械手册 ii Edition 1.0
各页的构成
各页中除了正文以外有部号、章名、节名、版本号、页码以及手册名构成。
XP1MF201S
部 号: 该页所属的部名在页眉处表示。
章 名: 表示该页所属的章的名称。每 1 部是有章来构成的。
节 名: 节的编号和名称。每 1 章分为几个节。
正 文: 用图和文字记录操作中所需要的信息。
手 册 名: 表示机器的名称和手册的种类。
页 码: 有部、章、页编号 3 个内容构成。各号码之间用“-”连接。比如:3-3-1 是表示第 3
部、第 3 章、第 1 页。

本手册的有关事宜
Edition 1.0 iii XP-142E 机械手册
版 本 号: 发行后每修改一次,版本号都要更新。比如,对于只有一部分内容的的变更,版本
号只作小的更新,从 Edition 1.0 变为 Edition 1.1。(对于此种修改只要将修改部分
替换就可以。)
对大范围的修改,版本号从 1.0 升为 2.0。(此种情况下,需将手册的所有页都替换
为新的内容。)
备注) 各图的右下角的英文数字是图片的编号。与正文无关。
表示单位和换算率
本手册里使用的表示单位和其他单位之间的换算率如下所示。
力
手册里的表示 与其他单位之间的换算率 备注
Kg 1 kg = 9.80665 N
转矩
手册里的表示 与其他单位之间的换算率 备注
N·m
1 N·m = 0.10197 kgf·m
1 N·m = 10.19720 kgf·cm
压力
手册里的表示 与其他单位之间的换算率 备注
Mpa 1 Mpa = 10.19716 kgf/cm
2
真空压力
手册里的表示 与其他单位之间的换算率 备注
-kPa -1 kPa = -7.5 mmHg
XP1MF202S