RX-6_6B_6R_OperationManual1_Rev02_C.pdf - 第84页
操作手册 I 4- 44 14 )请安装下部排出导轨。 顶到底再安装 下部排出导轨

操作手册 I
4-43
12)请按照相反步骤安装切带单元。
13)请安装供料器台架(台架上升状态),调 整 上部排出轨道的排出轨道板与固定块的间隙为 0.5~
1mm。
顶住安装
上部排出导轨
把固定供料器台架支撑用的螺
丝,及固定切带单元支撑板用的
螺丝拧松,调整间隙后再拧紧。
0.5
~
1
固定块(供料器台架)
排出导轨板
上部排出导轨
切带器下面

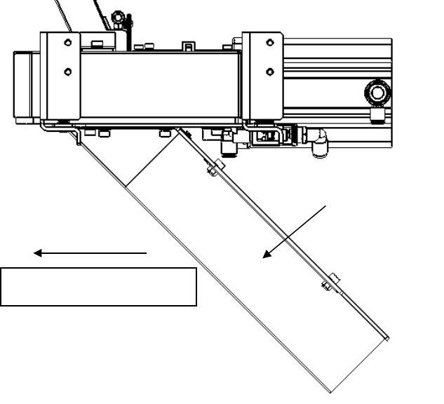
操作手册 I
4-44
14)请安装下部排出导轨。
顶到底再安装
下部排出导轨

操作手册 I
4-45
由于损耗,可能造成以下零件压力降低。
<损耗零件一览>
更换零件组
件号:40138045
检查部位 使用数量 检查内容 检查方法
碗形密封垫圈 2 有无异常磨损、硬化、龟裂等现象 目检
气缸密封圈 2 有无变形、硬化、龟裂等 目检
吸排气阀 2 有无变形、硬化、缺损 目检
O 环 S-67 2 有无变形、磨损、硬化、龟裂等 目检
Head 密封圈 2 有无变形、硬化、龟裂等 目检
●真空泵的更换准备
1) 请按照前一项的「切带单元的更换」,拆下下部排出导轨。
2) 确认真空泵没有运转。(刚停止运转后泵内部会很热,请停止后放置 30 分钟左右,确认泵冷却之后再
开始作业。)
3) 请拆下机器主机后侧中央下部的安全盖(安全罩)。
4) 请拔下安全盖(安全罩)内侧风扇的插头。
检查・更换
4-7-2 真空泵零件的更换
使用工具 :
六角扳手、螺丝刀
更换周期 :1 年
风扇
风扇
安全盖
(螺钉×7)