KE-3010_KE-3020V_KE-3020VR-Rev06.pdf - 第164页
- - 78. FPICOMPON ENTS(1) 1 4 1 5 1 6 1 7 4 5 6 5 5 5 6 1 0 9 8 2 1 8 1 1 1 3 1 2 1 2 1 3 1 1 2 1 1 9 2 0 2 1 1 9 2 0 3 7 1 2 4 2 5 2 7 2 6 2 6 2 6 2 7 2 6 3 9 3 0 2 9 3 1 3 4 3 3 3 2 3 4 3 3 3 2 3 6 3 7 3 5 3 8 2 8 2…

- -
REF.NO NOTE PARTNO DESCRIPTION Qty
1 400-97422 COPLANARITYSENSOR 1
2 400-97624 COPLANARITYUNITCPUASM 1
3 400-97209 CPUBOARD (1)
4 400-97878 DIMM1GB (1)
5 401-09407 COPLASSDBR (1)
6 400-99895 COPLASSDASM (1)
7 SL-4030691-SC SCREWM3L=6 (4)
8 HX-0048600-0C SPACER (4)
9 SL-4860681-SC SCREWM2.6X6 (4)
10 SM-4860501-SB SCREWM2.5L=5 (4)
11 400-99486 COPLANARITYSENSORBASEASM 1
12 400-94694 COPLAHOLDBLOCK (1)
13 400-94690 COPLAHOLDBASE (1)
14 SM-6051202-TN SCREWM5X0.8L=12 (3)
15 SL-6061292-TN SCREW 2
16 SM-4041001-SC SCREWM4X0.7L=10 2
17 SM-6062002-TN SCREWM6L=20 2
18
#03
SL-6082092-TN BOLT 4
19
#02
400-99487 COPLANARITYSENSORPSU 1
20
#06
401-13994 COPLANARITYSENSORPSUUNIT 1
21
#02
400-98181 COPLAPOWERBOXBR (1)
22
#06
401-11658 COPLAPOWERBOXBR (1)
23 SL-4040891-SC SCREWM4L=8 (2)
24 HX-0029400-00 FIXEDBASE (4)
25 SM-4040601-SC SCREWM4X0.7L=6 (4)
26 HX-0057700-00 POWERSUPPLY (1)
27 SL-4030691-SC SCREWM3L=6 (4)
28 E5348-033-100 CABLEPROTECTOR106MM (0.12)
29 400-98182 COPLAPOWERBOXCOVER (1)
30 E1038-871-000 PLATENLOCKCAMSCREW (2)
31 HA-0052700-00 CIRCUITPROTECTOR (1)
32
#06
401-14258 COPLAOPTINPLATE 2
33
#02
400-99490 COPLA_OPTION_PLATE 1
34 HX-0034400-00 HARNESSPARTS 4
35 SL-6041292-TN SCREW 1
36 NM-6040001-SC NUTM4X0.7TYPE1 1
37 400-99903 PILOTLAMP 2
38 EA-9500B02-00 CABLEBAND150 20
39 E4595-855-000 VACSPONGE 1
40
#01
401-14028 COPLASELECTPCBBR 1
41
#05
401-34640 COPLA_SELECT_PCB_BR 1
42 SL-4030691-SC SCREWM3L=6 6
43 SL-6061292-TN SCREW 2
44 HX-0041800-0C SPACER 6
45 400-97434 COPLAMONITORSWITCHBOARD 1
46 E1038-871-000 PLATENLOCKCAMSCREW 2
47 E1038-871-000 PLATENLOCKCAMSCREW 2
48 SL-4851091-SC SCREW 4
49
#04
SM-9082003-SC SCREWM8L=20 4
50
#04
WP-0841601-SC WASHER8.4X17.4X1.6 4
51
#04
WS-0820002-KN SPRINGWASHERM8 4
52 400-99488 APERTURELABEL 1
53 400-97423 CPCIBACKBOARD 1
54 PH-0600282-U0 PARALLELPIN 2
55 400-94691 COPLABRR 1
56 400-94692 COPLABRL 1
57 SL-6041092-TN SCREW 4
58
#02
400-99529 SELECTORBR 1
59
#02
HX-0041800-0C SPACER 6
60
#02
SL-4030691-SC SCREWM3L=6 6
61
#02
SL-6061292-TN SCREW 2
62
#02
400-97434 COPLAMONITORSWITCHBOARD 1
63 400-99904 KEYSWITCHCABLEASM 1

- -
78.FPICOMPONENTS(1)
1 4
1 5
1 6
1 7
4
5
6
5
5
5
6
1 0
9
8
2
1 8
1 1
1 3
1 2
1 2
1 3
1 1
2 1
1 9
2 0
2 1
1 9
2 0
3
7
1
2 4
2 5
2 7
2 6
2 6
2 6
2 7
2 6
3 9
3 0
2 9
3 1
3 4
3 3
3 2
3 4
3 3
3 2
3 6
3 7
3 5
3 8
2 8
2 3
4 1
4 2
4 2
4 0
4 0
4 1
2 2

- -
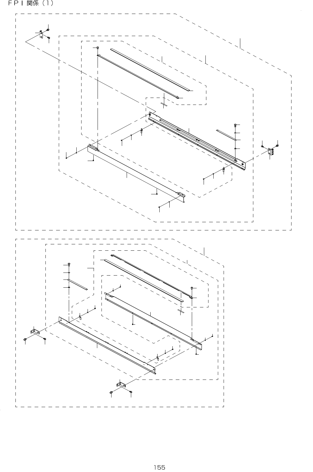
REF.NO NOTE PARTNO DESCRIPTION Qty
1 401-14946 FPIFASM 1
2 401-14948 FPIFSUBASM (1)
3 401-10740 FPIBRB (1)
4 401-10741 FPICOVERB (1)
5 SM-6030402-TN SCREWM3X4 (9)
6 WP-0320501-SC WASHERM3 (4)
7 E6025-729-0A0 FPICOVERU20ASM (1)
8 E6025-729-000 FPICOVERU20 (1)
9 E6028-729-000 FPIPLATEU20 (1)
10 SM-6030402-TN SCREWM3X4 (2)
11 400-94870 HARNESSCLAMPA (2)
12 SM-6030402-TN SCREWM3X4 (2)
13 WP-0320501-SC WASHERM3 (2)
14 E8626-729-0A0 FPILEDBOARDASM. (4)
15 SM-5030801-SC SCREWM3X0.5L=8 (8)
16 E2143-715-000 TIMERSPACERA (8)
17 E4901-760-000 POLYSLIDERTHRUSTWASHER (8)
18 E6033-729-000 FPIINSULATIONSHEET (0.2)
19 401-10738 FPIBRF (2)
20 SL-6051292-TN SCREWM5L=12 (4)
21 SL-6061292-TN SCREWM6L=12 (2)
22 401-14946 FPIFASM 1
23 401-14948 FPIFSUBASM (1)
24 401-10740 FPIBRB (1)
25 401-10741 FPICOVERB (1)
26 SM-6030402-TN SCREWM3X4 (9)
27 WP-0320501-SC WASHERM3 (4)
28 E6025-729-0A0 FPICOVERU20ASM (1)
29 E6025-729-000 FPICOVERU20 (1)
30 E6028-729-000 FPIPLATEU20 (1)
31 SM-6030402-TN SCREWM3X4 (2)
32 400-94870 HARNESSCLAMPA (2)
33 SM-6030402-TN SCREWM3X4 (2)
34 WP-0320501-SC WASHERM3 (2)
35 E8626-729-0A0 FPILEDBOARDASM. (4)
36 SM-5030801-SC SCREWM3X0.5L=8 (8)
37 E2143-715-000 TIMERSPACERA (8)
38 E4901-760-000 POLYSLIDERTHRUSTWASHER (8)
39 E6033-729-000 FPIINSULATIONSHEET (0.2)
40 401-10738 FPIBRF (2)
41 SL-6051292-TN SCREWM5L=12 (4)
42 SL-6061292-TN SCREWM6L=12 (2)