KE-3010_KE-3020V_KE-3020VR-Rev06.pdf - 第165页
- - REF.NO NOTE PARTNO DESCRIPTION Qty 1 401-14946 FPIFASM 1 2 401-14948 FPIFSUBASM (1) 3 401-10740 FPIBRB (1) 4 401-10741 FPICOVERB (1) 5 SM-6030402-TN SCREWM3X4 (9) 6 WP-032 0501-SC WASHER…

- -
78.FPICOMPONENTS(1)
1 4
1 5
1 6
1 7
4
5
6
5
5
5
6
1 0
9
8
2
1 8
1 1
1 3
1 2
1 2
1 3
1 1
2 1
1 9
2 0
2 1
1 9
2 0
3
7
1
2 4
2 5
2 7
2 6
2 6
2 6
2 7
2 6
3 9
3 0
2 9
3 1
3 4
3 3
3 2
3 4
3 3
3 2
3 6
3 7
3 5
3 8
2 8
2 3
4 1
4 2
4 2
4 0
4 0
4 1
2 2

- -
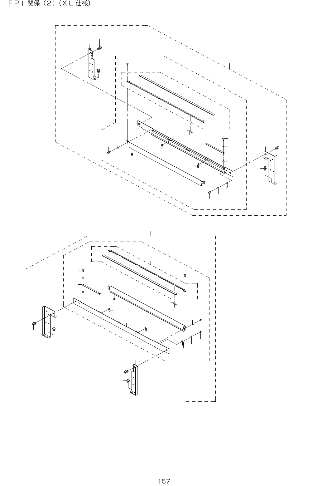
REF.NO NOTE PARTNO DESCRIPTION Qty
1 401-14946 FPIFASM 1
2 401-14948 FPIFSUBASM (1)
3 401-10740 FPIBRB (1)
4 401-10741 FPICOVERB (1)
5 SM-6030402-TN SCREWM3X4 (9)
6 WP-0320501-SC WASHERM3 (4)
7 E6025-729-0A0 FPICOVERU20ASM (1)
8 E6025-729-000 FPICOVERU20 (1)
9 E6028-729-000 FPIPLATEU20 (1)
10 SM-6030402-TN SCREWM3X4 (2)
11 400-94870 HARNESSCLAMPA (2)
12 SM-6030402-TN SCREWM3X4 (2)
13 WP-0320501-SC WASHERM3 (2)
14 E8626-729-0A0 FPILEDBOARDASM. (4)
15 SM-5030801-SC SCREWM3X0.5L=8 (8)
16 E2143-715-000 TIMERSPACERA (8)
17 E4901-760-000 POLYSLIDERTHRUSTWASHER (8)
18 E6033-729-000 FPIINSULATIONSHEET (0.2)
19 401-10738 FPIBRF (2)
20 SL-6051292-TN SCREWM5L=12 (4)
21 SL-6061292-TN SCREWM6L=12 (2)
22 401-14946 FPIFASM 1
23 401-14948 FPIFSUBASM (1)
24 401-10740 FPIBRB (1)
25 401-10741 FPICOVERB (1)
26 SM-6030402-TN SCREWM3X4 (9)
27 WP-0320501-SC WASHERM3 (4)
28 E6025-729-0A0 FPICOVERU20ASM (1)
29 E6025-729-000 FPICOVERU20 (1)
30 E6028-729-000 FPIPLATEU20 (1)
31 SM-6030402-TN SCREWM3X4 (2)
32 400-94870 HARNESSCLAMPA (2)
33 SM-6030402-TN SCREWM3X4 (2)
34 WP-0320501-SC WASHERM3 (2)
35 E8626-729-0A0 FPILEDBOARDASM. (4)
36 SM-5030801-SC SCREWM3X0.5L=8 (8)
37 E2143-715-000 TIMERSPACERA (8)
38 E4901-760-000 POLYSLIDERTHRUSTWASHER (8)
39 E6033-729-000 FPIINSULATIONSHEET (0.2)
40 401-10738 FPIBRF (2)
41 SL-6051292-TN SCREWM5L=12 (4)
42 SL-6061292-TN SCREWM6L=12 (2)

- -
79.FPICOMPONENTS(2)(TYPEXL)
4
5
5
6
7
8
9
1 2
1 3
1 4
1 5
1 6
1 8
3
2
2 2
2 1
2 1
3 3
3 4
3 2
3 8
3 9
4 0
2 5
3 6
2 6
2 7
2 8
2 9
3 1
3 5
4 2
4 4
4 3
4 4
2 5
2 4
2 3
3 7
1
1 7
1 1
2 0
2 1
2 1
4 4
4 4
1 0
1 9
1 0
3 0
3 0
4 1