KE-3010_KE-3020V_KE-3020VR-Rev06.pdf - 第198页
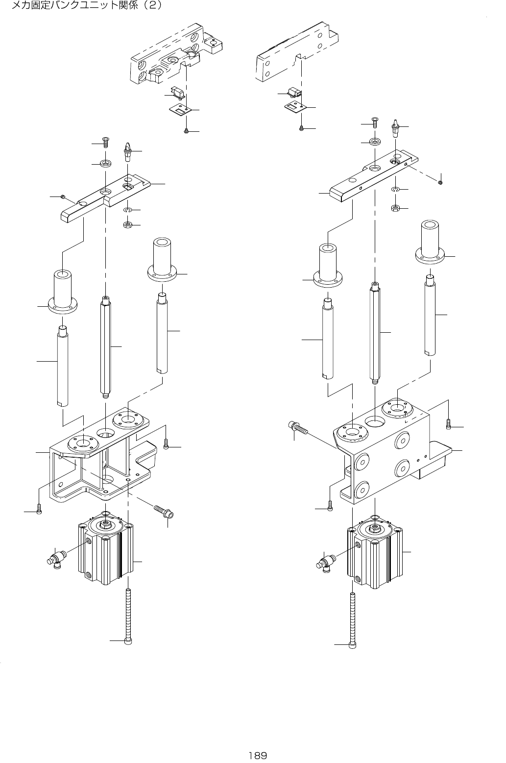
- - 95. MFIXEDBANK UNITCOMPON ENTS(2) 2 3 2 7 2 5 2 4 4 2 6 1 0 1 1 2 9 3 0 1 3 1 4 1 5 1 6 1 7 1 6 6 6 6 3 1 3 1 3 2 3 2 3 3 3 3 2 2 2 2 2 1 2 1 7 7 8 8 1 8 1 9 2 0 2 3 2 8 9 1 2 2 7 5

- -
REF.NO NOTE PARTNO DESCRIPTION Qty
1 E2501-729-AA0-D FEEDERBANKASM. 1
2 E2501-729-0B0 FEEDERBANK(30)COMPL. (1)
3 E2502-729-000 PLATESTANDL (1)
4 E2503-729-000 PLATESTANDR (1)
5 E2515-729-000 FIXINGPLATE(30) (1)
6 E2516-729-000 NUMBERPLATE (1)
7 E2505-729-0A0 MARKASM. (2)
8 E2601-725-000 MARK (1)
9 E2505-729-000 MARKBASE (1)
10 E2504-729-000-A LOCKSHAFT(30) (1)
11 E2513-729-000-A FIXINGPLATEB(30) (4)
12 E2608-721-000 PLATESUPPORT (4)
13 E2609-721-000 BANKLOCATEPINA (1)
14 E2610-721-000 BANKLOCATEPINB (1)
15 400-98252 POSITIONLABEL (1)
16 SM-8041402-TP SCREWM4X0.7L=14 (4)
17 SM-6040802-TN SCREW (17)
18 SL-6031292-TN SCREWM3L=12 (12)
19 SL-6041292-TN SCREW (5)
20 SL-6041692-TN SCREWM4L=16 (8)
21 SL-6041292-TN SCREW (4)
22 SL-6052092-TN SCREW (4)
23 SM-4040655-SN SCREWM4X0.7L=6 (8)
24 SM-6030552-KS SCREW (5)
25 NM-6080003-SC NUTM8 (2)
26 WP-0841601-SC WASHER8.4X17.4X1.6 (2)
27 WS-0820002-KN SPRINGWASHERM8 (2)
28 E2732-721-000 BANKGUIDEROLLER 4
29 SM-6062002-TN SCREWM6L=20 2
30 WS-0610002-KN SPRINGWASHER6.1X12.2X1.5 2
31 NM-6060003-SC NUTM6 2
32 E2734-721-000 BANKSPRING 2
33 401-14138 BANKSUPPORTUNIT 1
34 401-09098 BANKSUPA (2)
35 HX-0029400-00 FIXEDBASE (4)
36 SL-6104042-TN BOLT (8)
37 WP-1052001-SC WASHER10,5X21X2 (8)
38 401-14139 BANK_SUP_B_L_ASM (2)
39 401-09099 BANK_SUP_B_L (1)
40 E2623-721-000 BANKLOCATEBUSHB (1)
41 401-14140 BANKSUPBRASM (2)
42 401-09100 BANKSUPBR (1)
43 E2623-721-000 BANKLOCATEBUSHB (1)
44 SL-6083092-TN SCREW (16)
45 SM-4040801-SC SCREWM4X0.7L=8 (4)
46 400-93849 SENSOR_PLATE (4)
47 400-92511 SWITCHD3DC-3 (4)
48 SM-3040652-TN SCREWM4L=6 (8)
49 400-00574 DRIVECYLINDERASSY 1
50 SL-6052092-TN SCREW (6)
51 SL-6051292-TN BOLT (2)
52 400-23687 DRIVECYLINDERCABLE (2)
53 PV-1303050-00 3-PORTSOLENOIDVALVE (80)
54 400-23687 DRIVECYLINDERCABLE (4)
55 SM-4861001-SC SCREWM2.6L=10 (4)
56 400-00575 DRIVECYLINDERL (1)
57 400-00576 DRIVECYLINDERR (1)
58 400-08458 DRIVERSUPPORT (1)
59 401-09985 MECHBANKCABLEASM 1
60 SL-4030891-SC SCREWM3X8 4
61 E2904-700-000 SOCKET 1
62 PJ-3010651-06 FEMALEUNION 1
63 L126E-821-000 HOLEPLUGSHP14 1
64 400-93799 HOLEPLUGSHP18 1
65
#01
HK-0429901-9A CAP 1
66 401-11313 BANKCONNECTORP 1
67 SM-0040601-SC SCREWM4X0.7L=6 4
68 401-09985 MECHBANKCABLEASM 1
69 SL-4030891-SC SCREWM3X8 4
70 E2904-700-000 SOCKET 1
71 PJ-3010651-06 KNIFEUNION 1
72 L126E-821-000 HOLEPLUGSHP14 1
73 400-93799 HOLEPLUGSHP18 1
74
#01
HK-0429901-9A CAP 1
75 E2634-721-0A0 DRIVERBRACKETSUPPORTAASM. 2
76 E2634-721-000 DRIVERBRACKETSUPPORTA (2)
77 SL-6052092-TN SCREW (4)
78 SL-6053592-TN BOLT (4)

- -
95.MFIXEDBANKUNITCOMPONENTS(2)
2
3
2 7
2 5
2 4
4
2 6
1 0
1 1
2 9
3 0
1 3
1 4
1 5
1 6
1 7
1
6
6
6
6
3 1
3 1
3 2
3 2
3 3
3 3
2 2
2 2
2 1
2 1
7
7
8
8
1 8
1 9
2 0
2 3
2 8
9
1 2
2 7
5

- -
REF.NO NOTE PARTNO DESCRIPTION Qty
1 401-10119 BLIFFRAMER 1
2 PA-6307503-00 AIRCYLINDER 1
3 PC-0152030-00 SPEEDCONTROLLER 2
4 400-93854 CYLINDERSCREWM8L=125 4
5 SL-6083092-TN SCREW 8
6 400-93838 LIFTERSHAFT 4
7 SB-8200003-00 BEARING 2
8 SM-6051602-TN SCREW 8
9 401-10295 LIFCYLSHAFT 1
10 E2622-729-000 LIFTERTHRUSTCOLLAR 1
11 SM-1062052-TP SCREWM6L=20 1
12 401-10297 BANKLIFTERR 1
13 400-93840 BANKLOCATEPINC2 1
14 NM-6080003-SC NUTM8 1
15 WS-0820002-KN SPRINGWASHERM8 1
16 SM-8060552-TP SCREWM6L=5 2
17 401-10117 BLIFFRAMEL 1
18 PA-6307503-00 AIRCYLINDER 1
19 PC-0152030-00 SPEEDCONTROLLER 2
20 400-93854 CYLINDERSCREWM8L=125 4
21 SB-8200003-00 BEARING 2
22 SM-6051602-TN SCREW 8
23 401-10295 LIFCYLSHAFT 1
24 E2622-729-000 LIFTERTHRUSTCOLLAR 1
25 SM-1062052-TP SCREWM6L=20 1
26 401-10296 BANKLIFTERL 1
27 SM-8060552-TP SCREWM6L=5 2
28 400-93839 BANKLOCATEPINB2 1
29 NM-6080003-SC NUTM8 1
30 WS-0820002-KN SPRINGWASHERM8 1
31 400-93849 SENSORPLATE 2
32 SM-3040652-TN SCREWM4L=6 4
33 400-92511 SWITCHD3DC-3 2