N7201A412C.pdf - 第157页
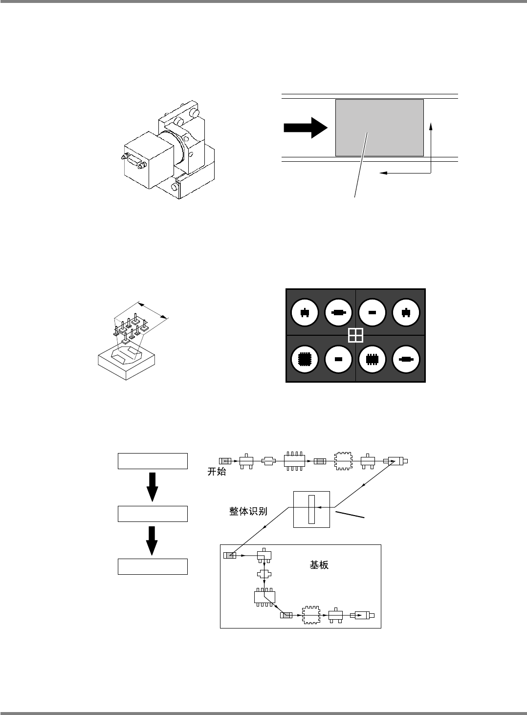
NPM-D 安装篇 2.1 各部的名称和功能 EJM1DC-MB-02I-00 Page 2-15 2.1.9 关于识别照相机 识别照相机中有吸头照相机、线性照 相机、 3D 传感器。 A) 吸头照相机 吸头照相机设置在 XY 装置上,识别正确的基板位 置。 Y X 4Z4C-009E 定位基准 基板 B) 线性照相机 线性照相机设置在主体架上,进行部 品 ( 位置偏移、倾斜、残缺等 ) 的识别。 ∗ 插图为 8 吸嘴吸头。 线性照相机…

NPM-D
安装篇
2.1
各部的名称和功能
Page 2-14 EJM1DC-MB-02I-00
2.1.8
安全盖
(
选购件
)
规格
本机准备有可以与交换台车、托盘供料器更换的选购件的安全盖。
No.
装置名称
功能
1
安全盖
(
选购件
)
前侧
在不使用交换台车和托盘供料器时,是用于封闭装置开口部,保证安全
的盖子。
∗
后侧安全盖分为托盘供料器等两种。
2
安全盖
(
选购件
)
后侧
<
托盘供料器
>
1
2

NPM-D
安装篇
2.1
各部的名称和功能
EJM1DC-MB-02I-00 Page 2-15
2.1.9
关于识别照相机
识别照相机中有吸头照相机、线性照相机、
3D
传感器。
A)
吸头照相机
吸头照相机设置在
XY
装置上,识别正确的基板位置。
Y
X
4Z4C-009E
定位基准
基板
B)
线性照相机
线性照相机设置在主体架上,进行部品
(
位置偏移、倾斜、残缺等
)
的识别。
∗
插图为
8
吸嘴吸头。
线性照相机
线性宽度
: 55 mm
4Z4C-001E
视图
识别图像
4Z4C-002E
视图
工序
在将吸头移动以横穿线性照相机的同时,一次扫描
8
个部品,并进行识别。
部品吸着
识别
实装
4Z4C-006C
线性照相机

NPM-D
安装篇
2.1
各部的名称和功能
Page 2-16 EJM1DC-MB-02I-00
C) 3D
传感器
(
选购件
)
3D
传感器设置在主体框架上,采用激光扫描方式检测
QFP
、
SOP
全引线的共面性、
XY
位置方向,
并检测
CSP
、
BGA
的球的位置及有无。
N610063657AA