4OM-1183-003.pdf - 第111页
/ × / × φ 超声波清洗方法 超声波清洗方法 超声波清洗方法 超声波清洗方法 超声波清洗方法 • 如下图所示,请在吸嘴清洗治具上放置吸嘴,连同治具沉入灌满 水的超声波清洗器内,清洗 1 5 分钟左右。 吸嘴清洗治具请用户自行准备。 • 超声波清洗后,请吹干吸嘴。 吸嘴上附着水分…

1.4.31.4.3
1.4.31.4.3
1.4.3
吸取吸嘴的清扫吸取吸嘴的清扫
吸取吸嘴的清扫吸取吸嘴的清扫
吸取吸嘴的清扫
为了能使元件的吸取以及装置的可靠性持续稳定,要定期进行吸嘴
清扫。
• 以约一周为周期进行定期清扫。
• 根据吸取吸嘴的使用频率以及周围环境,变动清扫频率。
• 吸取吸嘴的真空吸引力变弱,吸取及贴装发生不良现象时,请每
次确认后清扫。
Fig.4A63Fig.4A63
Fig.4A63Fig.4A63
Fig.4A63
清扫方法清扫方法
清扫方法清扫方法
清扫方法
(1) 拆卸吸取吸嘴。
(2)进行吹气,去除污垢。
吹气用的气,请使用不含有油分、水分的干净气体。
污垢严重时,进行在水中的超声波清洗或用沾有醇类的棉纱擦
拭。
(3)安装吸取吸嘴。
(a) 关于吸取吸嘴的拆卸与安装方法,请参考 “1.4.4 吸取
吸嘴的拆卸与安装 ” 章节。
(b) 吸取吸嘴的消磁,请先拆掉吸嘴后进行。
不要让安装头部受到其他外部磁场的影响。
例如
• 不要接近磁石。
• 不要接近消磁器。
1 .41 .4
1 .41 .4
1 .4
维护保养方法维护保养方法
维护保养方法维护保养方法
维护保养方法
0507-003 1-48
Note

/×
/×
φ
超声波清洗方法超声波清洗方法
超声波清洗方法超声波清洗方法
超声波清洗方法
• 如下图所示,请在吸嘴清洗治具上放置吸嘴,连同治具沉入灌满
水的超声波清洗器内,清洗 1 5 分钟左右。
吸嘴清洗治具请用户自行准备。
• 超声波清洗后,请吹干吸嘴。
吸嘴上附着水分时,请用棉纱等擦拭。
((
((
(
整体图整体图
整体图整体图
整体图
))
))
)
((
((
(
仰视图仰视图
仰视图仰视图
仰视图
))
))
)
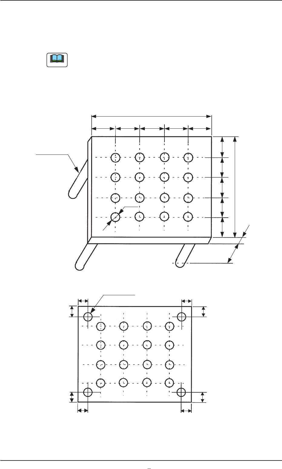
Fig.4A63-1 Fig.4A63-1
Fig.4A63-1 Fig.4A63-1
Fig.4A63-1
吸嘴清洗治具吸嘴清洗治具
吸嘴清洗治具吸嘴清洗治具
吸嘴清洗治具
((
((
(
示例示例
示例示例
示例
))
))
)
1 .41 .4
1 .41 .4
1 .4
维护保养方法维护保养方法
维护保养方法维护保养方法
维护保养方法
0507-001 1-48-1
Note
使用螺栓使用螺栓
使用螺栓使用螺栓
使用螺栓
材质材质
材质材质
材质
:A5052:A5052
:A5052:A5052
:A5052
使用螺栓使用螺栓
使用螺栓使用螺栓
使用螺栓
单位单位
单位单位
单位
:mm:mm
:mm:mm
:mm

1.4.41.4.4
1.4.41.4.4
1.4.4
吸取吸嘴的拆卸与安装吸取吸嘴的拆卸与安装
吸取吸嘴的拆卸与安装吸取吸嘴的拆卸与安装
吸取吸嘴的拆卸与安装
吸取吸嘴的拆卸以及安装在操作电源吸取吸嘴的拆卸以及安装在操作电源
吸取吸嘴的拆卸以及安装在操作电源吸取吸嘴的拆卸以及安装在操作电源
吸取吸嘴的拆卸以及安装在操作电源 “
接通接通
接通接通
接通 ”
状态状态
状态状态
状态
下进行。下进行。
下进行。下进行。
下进行。
危险,危险,
危险,危险,
危险,
请务必一个人进行操作。请务必一个人进行操作。
请务必一个人进行操作。请务必一个人进行操作。
请务必一个人进行操作。
拆卸、拆卸、
拆卸、拆卸、
拆卸、
安装吸取吸嘴前,安装吸取吸嘴前,
安装吸取吸嘴前,安装吸取吸嘴前,
安装吸取吸嘴前,
请在作业下部垫棉纱。请在作业下部垫棉纱。
请在作业下部垫棉纱。请在作业下部垫棉纱。
请在作业下部垫棉纱。
以免吸取吸嘴落下而丢失。以免吸取吸嘴落下而丢失。
以免吸取吸嘴落下而丢失。以免吸取吸嘴落下而丢失。
以免吸取吸嘴落下而丢失。
(1) 吸取吸嘴的拆卸
(1-1) [OPERATION]开关设为 “SETUP” 侧。
请确认正面操作台的[LOCK]灯是否亮灯。
1 .41 .4
1 .41 .4
1 .4
维护维护
维护维护
维护
保保
保保
保
养方法养方法
养方法养方法
养方法
0507-003 1-49
注意注意
注意注意
注意
Notice