CP643规格书.pdf - 第6页
(5) The simple design of the placing heads, each consisting of six nozzles, facilitates maintenance and expands the number of possible nozzle variations. (6) Press-in type tape feeders drastically reduce the changeover t…

1.2 Features
(1) The PCB loading time has been reduced to 1.4 seconds (a reduction of
approximately 65% when compared to previous models (CP-6, CP-642)).
Moreover, for small PCBs with a length of less than 220 mm (min. 50 x 80 mm) two
PCBs can be loaded simultaneously, reducing the effective loading time per PCB by
approximately 80% to 0.7 seconds. These improvements result in particularly
favorable loading times for small PCBs with between 100 and 300 placing
sequences.
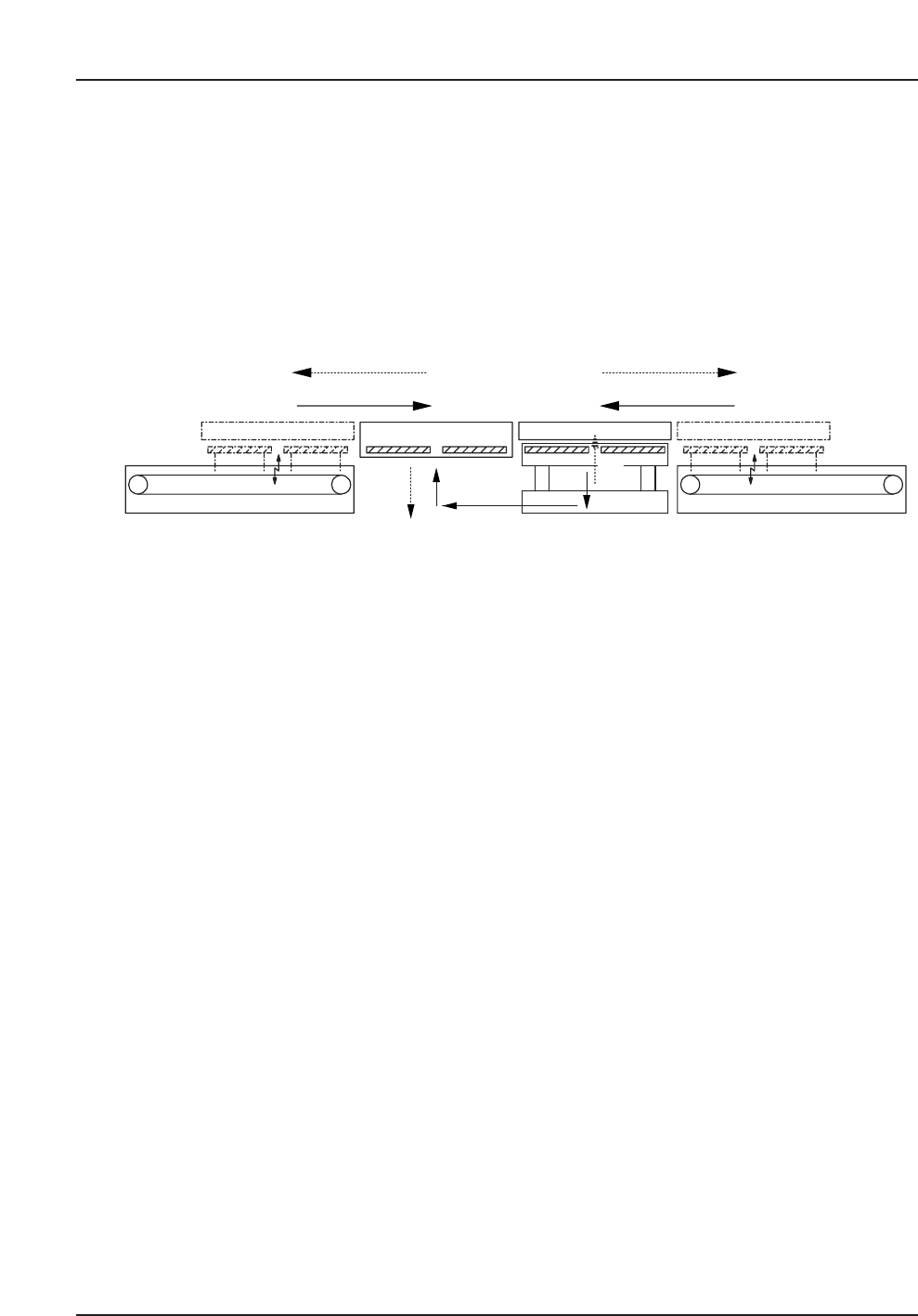
① During placement, the in-carrier is waiting with PCB(s) clamped. The out-
carrier is waiting with its clamps open.
➁ When production of the current PCB(s) is complete, the XY-table moves to the
loading position and is raised so that the out-carrier can pick up the completed
PCB(s).
➂ The emptied XY-table moves to the left and is raised so that the new PCB(s) can
be loaded from the in-carrier.
➃ The XY-table is lowered and moved to the production area where the
placement of parts begins.
➄ The in-carrier moves back to the in-conveyor and picks up new PCB(s). The
out-carrier moves to the out-conveyor and unloads the completed PCB(s).
(2) Due to the employment of a new camera with a resolution of 12 µm/pxl, the
machine is now able to meet the high placing accuracy requirements of 0603s (in.
0201s).
By additionally enhancing the frontlighting capabilities, 100% detection of missing
bumps is now possible for CSPs, such as micro BGAs.
(3) As a one-by-one chip shooter, the CP-643E achieves a placing cycle time of
0.09 sec./part.
(4) Computerized design analysis has resulted in a rigid machine structure. This rigid
structure, along with high-accuracy mechanical parts, facilitates the high placement
accuracy.
In-carrier
①①
Out-carrier
➃
➄
➄
➁
➂
XY-table Out-conveyorIn-conveyor
– 2 –
CP-643E/643ME Specifications
Edition 3.0

(5) The simple design of the placing heads, each consisting of six nozzles, facilitates
maintenance and expands the number of possible nozzle variations.
(6) Press-in type tape feeders drastically reduce the changeover time. Increased rigidity
of the 13 and 15-inch reel holders and speed control of the device tables minimize
feeder vibration, guaranteeing stable tape feed.
(7) Noise reduction measures and a noise reduction cover on the device table reduce
the noise level at the rear of the machine to 76 dB, thereby improving the working
environment for operators. (Results based on measurements conducted by Fuji.)
(8) The design of the XY-table has been improved in comparison to previous CP-642,
CP-642E models, so that two PCBs of up to 220 mm in length can be loaded and
produced simultaneously (‘double board production’). Optional support for PCBs
between 0.3 mm and 0.5 mm in thickness is also available.
The machine uses the lower surface of the PCB as the placing reference, meaning it
is no longer necessary to adjust the height of back-up pins during changeover. This
leads to a reduction in machine downtime at changeover.
– 3 –
CP-643E/643ME Specifications
Edition 3.0

2. Machine Data and Operating Environment
• Power & Air Requirements
Voltage: 200 V AC (± 10 %), three phase
Frequency: 50/60 Hz
Power consumption: 10 kVA
Air pressure: 0.5 MPa (5 kgf/cm
2
)
Air consumption: 46 l/min. (ANR)
• Control/Display Panels
CRT and control panels
Language: Japanese or English
Vision system monitor
Rear control panel
• System Components
XY-table, PCB conveyors, part supply tables, nozzles, placing heads, vision system cameras
• Machine Weight
CP-643E 6000 kg
CP-643ME Approx. 5400 kg
With rear cover
CP-643E 6500 kg
CP-643ME Approx. 5830 kg
With fence
CP-643E 6400 kg
CP-643ME Approx. 5760 kg
(The above weights do not include part
feeders.)
• Installation Environment
Temperature: 15° C to 35° C
Humidity: 30% to 80%
Protective features: Class IP22 equivalent
• Machine Color
Body: Ivory
Trim: Reddish brown
Notes: The built-in transformer has primary side taps of 200, 210, 220, 230, 380, 400, 415, 460 and
480 Volts.
A dedicated power source, not shared with other large equipment, should be used in order to
avoid electrical noise, voltage fluctuations, high-frequency distortions, and other related
problems.
IP22: IEC compliant (protection against intrusion by body parts, solid objects and water).
– 4 –
CP-643E/643ME Specifications
Edition 3.0