Hybridklemmung mit Vakuumabfrage (Funktionsbeschreibung).pdf - 第20页
Funktionsbeschreibung Hybr idklemmung mit Vakuumabfrage Ausgabe 02/2006 20 1.6.2 Einbau zusätzliche Baugruppen Steuer ung V akuum-T ooling 1 Die S teuerung V akuum-T ooling wird im Klemmfeld montiert. 1 1 1 Digit ale Hal…

Funktionsbeschreibung Hybridklemmung mit Vakuumabfrage
Ausgabe 02/2006
19
1
Norm
Gepr.
Datum
Bearb.
=
Aenderung
Blatt
Bl.
SIEMENS
Urspr. Ers. f. Ers. d.Zustand
+
Datum Name
A1
A1 X2kb 1
A4 X5kg 6
X2kf 7A3
X6kg 5A4
A1 X2ka 2
12:43
Wago-Klemme
$PROJECT/0036/00364115-01/00364115-010201LD3/schematic/sheet115.2.2006
C
1 32
B
--> 24V vom MB setzen das Hubtisch-Signal auf "unten"
solange, bis Relaiskontakt über den Vakuumsensor geöffnet wird.
( Maschine bestückt erst, wenn Hubtisch "oben" -Signal)
wenn aktiv --> Vakuum OK
E
D
6
D
E
F F
8
A
2 781 3
5
C
4
7654
B
A
Transportsteuerung LP1/2
Hubtisch X13
00326068
ye
gy
bn
zur
Umsetztplatine
Transportsteuerung LP1/2
Hubtisch X12
00326069
wh
rd
vt
Zustand vor Umverdrahtung :
Mittenbero
Komponenten im E/A-Einschub
Bero Hubtisch
Bero Hubtisch
Motor
Bero Hubtisch
Bero MB
Bero EB
E/A Verteiler
Breitenverstellung
Wenn Hubtisch hochfährt (Signal Hubtisch hochfahren),
wird das Vakuum eingeschaltet.
Hubtisch oben 0V
Hubtisch unten 24V
Hubtisch
Funktion : Hubtisch-Signal "oben" wird verzögert bis OK vom Vakuumsensor (Vakuum aufgebaut)
- Anzeigefarbe : 2 Colour-Modus
- Sollwert A = - 0,550 bar
b unbenutzt
Vakuumsensor
Keyence
AP31 PNP
24V
0V
bubk
Relais
+ Relaisfassung Schraubanschluß 00317258-01
A1 X2kb 1
Klemmenfeld E/A Verteiler
A3 X2kf 7
bn
zur
Umsetztplatine
Transportsteuerung LP1/2
Hubtisch X12
00326069
rd
wh
V1 und V2 :
Wago 280-613 / 281-410
Durchgangsklemme 1polig :
Siemens 8WA1011-6DG11
auf
0V
Klemmenfeld
zur
Umsetztplatine
2
Tek
Tek
RS02
US01 neu
15.02.06
25.07.01
27.04..2001
Tekin
Wollgarten
#
Projekt Bosch-Ansbach 2
00364115-010201LD3
2
Vakuum-Abfrage
Einstellungen Vakuumsensor :
- Einheit : bar
- Meßmodus : F3 ( 2-Independent-Ausgabe modus )
- N. O. Auswahl
- Vibrationsvermeidung 100ms
X2ka 1
A&D

Funktionsbeschreibung Hybridklemmung mit Vakuumabfrage
Ausgabe 02/2006
20
1.6.2 Einbau zusätzliche Baugruppen
Steuerung Vakuum-Tooling 1
Die Steuerung Vakuum-Tooling wird im Klemmfeld montiert. 1
1
1
Digitale Halbbrücke 1
1

Funktionsbeschreibung Hybridklemmung mit Vakuumabfrage
Ausgabe 02/2006
21
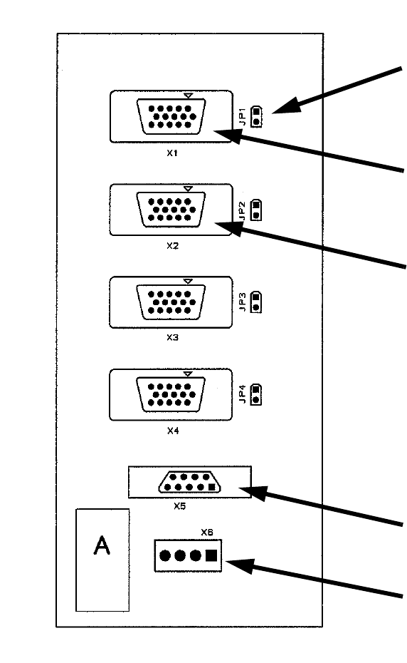
LP-Barcode-Verteiler-Platine 1
1
Abb. 1 - 1 Verteiler LP-Barcode
Die Baugruppe wird über dem Starkstromeinschub eingebaut. 1
1
1
1
1
Jumper entfernen
Kabel 00364931 zum
Opticon-Barcodeleser
Kabel 00359664 zum
Stopper Eingabeband
Kabel 00345333 zur
Transportsteuerung
Kabel 00345332 zum
E/A-Verteiler