PXH-1 5OM-1321-002_w.pdf - 第80页
2 - 19 Tg 1301 -ID-MD 供給コンベア部レイアウト 0602 - 001 -(M 831 YH--- 1001 ) 供給コンベア部レイアウト Table 5C10 記 号 名 称 B40 基板移載確認 B41 基板検出 B371 L コンベアレール幅オーバラン(+) M02 L コンベアモータ M37 L コンベア幅パルスモータ

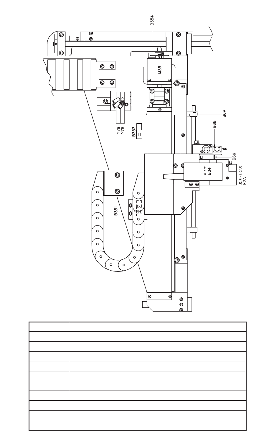
2-18
Tg1301-ID-MD
基板認識レイアウト
0602-001-(M831YG---1001)
基板認識レイアウト
Table 5C9
記 号 名 称
B68 基板ストッパ上限
B69 基板認識
B6A (基板 2 枚検出)
B351 基板認識 X 軸原点
B353 基板認識 X 軸オーバラン(-)
B354 基板認識 X 軸回転原点
M35 基板認識 X 軸パルスモータ
M33 基板認識 Y 軸パルスモータ
Y78 基板反り上押え上限電磁弁
Y79 基板ストッパ電磁弁

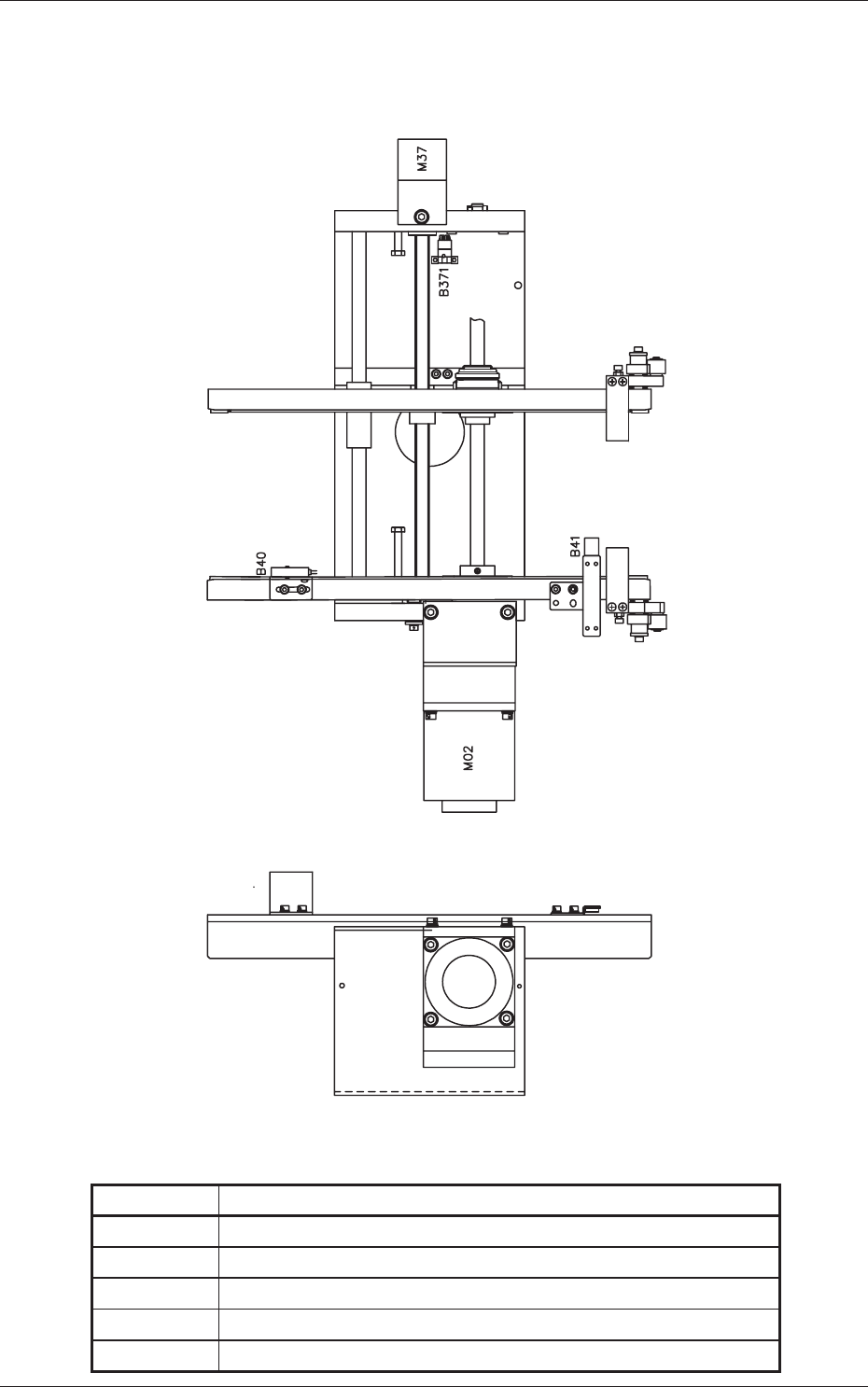
2-19
Tg1301-ID-MD
供給コンベア部レイアウト
0602-001-(M831YH---1001)
供給コンベア部レイアウト
Table 5C10
記 号 名 称
B40 基板移載確認
B41 基板検出
B371 L コンベアレール幅オーバラン(+)
M02 L コンベアモータ
M37 L コンベア幅パルスモータ

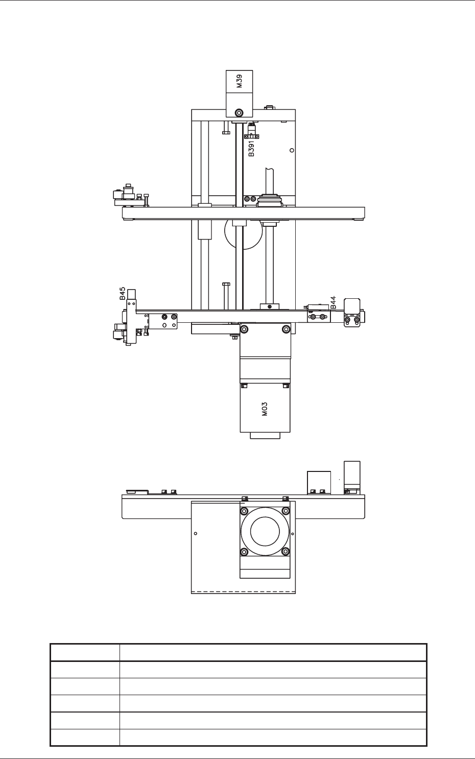
2-20
Tg1301-ID-MD
排出コンベア部レイアウト
0602-001-(M831YH---1002)
排出コンベア部レイアウト
Table 5C11
記 号 名 称
B44 基板到達確認
B45 基板通過確認
B391 R コンベアレール幅オーバラン(+)
M03 R コンベアモータ
M39 R コンベア幅パルスモータ