N7202A029B40_SPG_Parts List_零件部品一覽表.pdf - 第295页
Ref No. Remarks R 1 Q'ty 16-B ヘッドX駆動部:SPG Head X Dr ive:SPG イラスト No. Part No. 品 名 品 番 数量 R 2 パーツリスト Kit No. キット品番 Kit Name キット名称 N610140146AA Part Nam e 備 考 セク ション No . PARTS LIST Section No. R 3 COLLAR 2 1 N2101698…

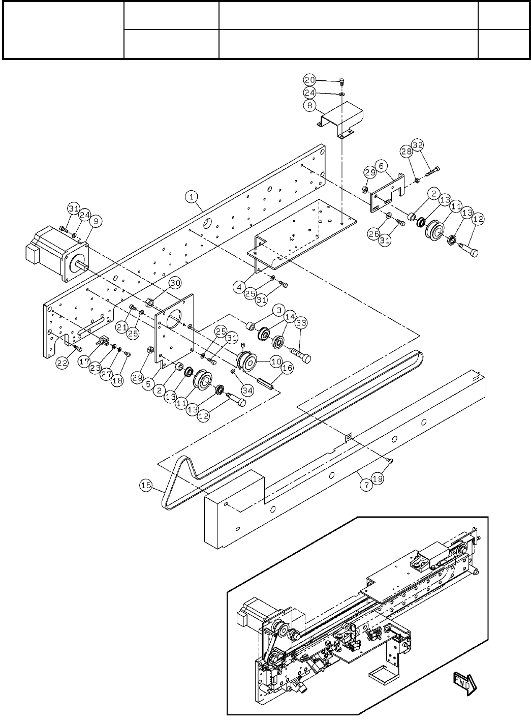
16-B
ヘッドX駆動部:SPG
Head X Drive:SPG
パーツレイアウト
Kit No.
キット品番
Kit Name
キット名称
N610140146AA
セクションNo.
PARTS LAYOUT
Section No.
--
O39
( KN610140146AA-05-2 )

Ref
No.
Remarks R
1
Q'ty
16-B
ヘッドX駆動部:SPG
Head X Drive:SPG
イラスト
No.
Part No.
品 名品 番 数量
R
2
パーツリスト
Kit No.
キット品番
Kit Name
キット名称
N610140146AA
Part Name
備 考
セクションNo.
PARTS LIST
Section No.
R
3
COLLAR
2
1 N210169871AA
PLATE
1
2 N210175662AC
PLATE
1
3 N210145479AA
BLOCK
1
4 N210175663AC
BLOCK
1
5 N210175664AA
COVER
1
6 N210175673AB
BRACKET
1
7 N210175674AA
DOG
1
8 N210175675AA
DOG
1
9 N210175678AA
SENSOR(SX951:1500mm)
2
10 N610149484AB
A
LINEAR-WAY
1
11 N510064554AA 2SRS15WMUUC1E+670LM(02850182K000)
SPACER
2
12 N510057508AA 3382330-50250
BOLT
4
13 N510017514AA
SSS 003 Hexagon socket button head screw M3X8-10.9 A2J (Trivalent)
CABLE-VEYOR
1
14 N510064550AA B15.025.038.0-14-1025.34P
BOLT
4
15 N510017554AA
SSS 003 Hexagon socket button head screw M6X10-10.9 A2J (Trivalent)
PIN
1
16 KXF052NAA00 SPP4-10
SPACER
4
17 N510048712AA CF-402.5ZE
CAM-FOLLOWER
1
18 N531CF6MUURA CF6MUUR-A
BOLT
2
19 N510050553AA SSC-M6X25
PIN
2
20 N986MMS410 MMS4-10
BOLT
4
21 N510017344AA
Hexagon socket head cap screw M4X10-10.9 A2J (Trivalent)
WASHER
4
22 N510018478AA
Small round-plain washer 3 10H A2J (Trivalent)
WASHER
14
23 N510018479AA
Small round-plain washer 4 10H A2J (Trivalent)
WASHER
4
24 N510018497AA
Round finish plain washer 4 10H A2J (Trivalent)
WASHER
4
25 N510018501AA
Round finish plain washer 6 10H A2J (Trivalent)
WASHER
2
26 N510020099AA Thick washer M4
WASHER
4
27 N510018327AA Spring lock washer No.2 3 S A2J (Trivalent)
WASHER
5
28 N510018334AA Spring lock washer No.2 6 S A2J (Trivalent)
BOLT
20
29 N510017381AA
Hexagon socket head cap screw M4X8-10.9 A2J (Trivalent)
BOLT
34
30 N510017346AA
Hexagon socket head cap screw M4X12-10.9 A2J (Trivalent)
BOLT
2
31 N510017359AA
Hexagon socket head cap screw M4X25-10.9 A2J (Trivalent)
BOLT
2
32 N510017403AA
Hexagon socket head cap screw M5X35-10.9 A2J (Trivalent)
NUT
1
33 N510017867AA
Hexagon nut Type-1 Best class M6-6H-4T A2J (Trivalent)
O40
--
( KN610140146AA-05-2 )

16-C
ヘッドX駆動部:SPG
Head X Drive:SPG
パーツレイアウト
Kit No.
キット品番
Kit Name
キット名称
N610140146AA
セクションNo.
PARTS LAYOUT
Section No.
--
O41
( KN610140146AA-05-3 )