N7202A029B40_SPG_Parts List_零件部品一覽表.pdf - 第378页
56 基板下受けピンL(一括交換) Board-Support Pins L (Collectively C hanging) パーツレイアウト Kit No. キット 品番 Kit Name キット名称 KXFX04CDA00 セクションNo. PARTS LAYOUT Section No. - - O123 ( KKXFX04CDA00-04 )

Ref
No.
Remarks R
1
Q'ty
55
基板下受けピンセット(350×300):SPD
Board-Support Pins Set(350x300):SPD
イラスト
No.
Part No.
品 名品 番 数量
R
2
パーツリスト
Kit No.
キット品番
Kit Name
キット名称
N610118475AA
Part Name
備 考
セクションNo.
PARTS LIST
Section No.
R
3
PIN
50
1 KXFB00FFA00
PLATE
1
2 N210146688AB
PLATE
6
3 N210146689AB
DOG
2
4 N210132576AA
DOG
12
5 N210132577AA
BOLT
14
6 N510049401AA SSC-M3X16
O122
--
( KN610118475AA-03 )

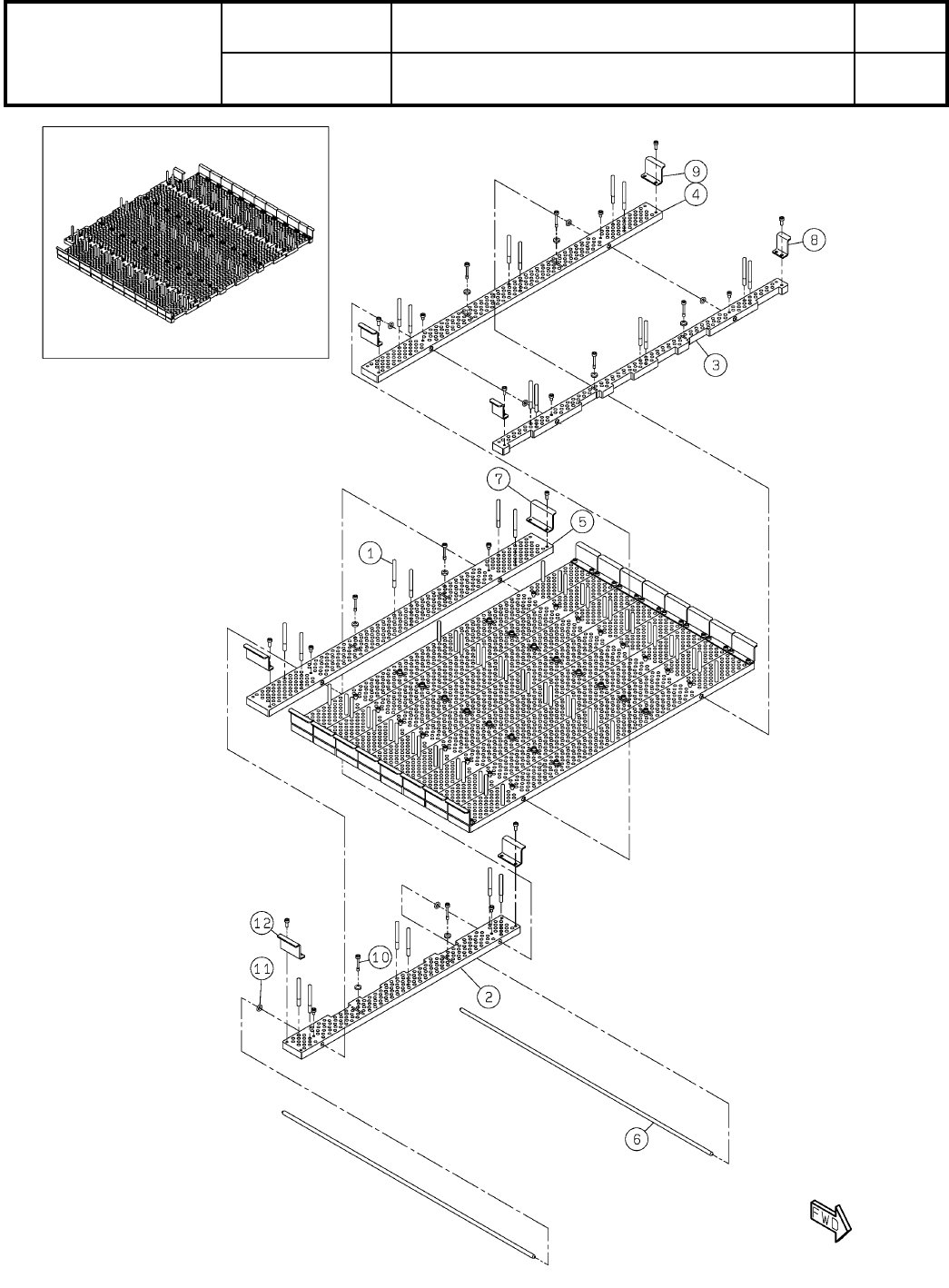
56
基板下受けピンL(一括交換)
Board-Support Pins L (Collectively Changing)
パーツレイアウト
Kit No.
キット品番
Kit Name
キット名称
KXFX04CDA00
セクションNo.
PARTS LAYOUT
Section No.
--
O123
( KKXFX04CDA00-04 )

Ref
No.
Remarks R
1
Q'ty
56
基板下受けピンL(一括交換)
Board-Support Pins L (Collectively Changing)
イラスト
No.
Part No.
品 名品 番 数量
R
2
パーツリスト
Kit No.
キット品番
Kit Name
キット名称
KXFX04CDA00
Part Name
備 考
セクションNo.
PARTS LIST
Section No.
R
3
PIN
200
1 KXFB00FFA00
PLATE
2
2 N210002941AA
PLATE
2
3 N210001555AA
PLATE
3
4 KXFB0AFQA00
PLATE
10
5 KXFB0AFRA00
SHAFT
4
6 MTPA015536AA
DOG
20
7 KXFB0259A02
DOG
4
8 KXFB0257A02
DOG
6
9 KXFB0258A02
BOLT
34
10 KXF09TBAA00 GUTB3-4-20
O-RING
34
11 KXF0DY5ZA00 P5
DOG
4
12 KXFB0HD3A00
O124
--
( KKXFX04CDA00-04 )