KE-3010_EPU使用说明.pdf - 第251页
EPU 使用说明书 第 6 章 通用图像元件 6-3 6-1-3 通用图像元件的数据制作概要 通过制作各元件 组的数据来制作 通用图像元件 的数据。 各元件组的数据 制作应输入下述 各项: ①元件的信息 ( 引脚或球、 以及其大小、形 状等 ) ②元件的数目与 元件间的间距 ③从元件识别中 心位置到首元件 ※ 的距离 ※ 首元件 的定义如下。 · 球元件 ⇒ 元件组内左下角的 球。 · 引脚元件 ⇒ 下边 最左、右边最下、 上边最右、左…

EPU 使用说明书 第 6 章 通用图像元件
6-2
6-1-2 通用图像元件的规格
1) 数量
· 每1个元件最多可以定义20个元件组。
· 每1元件组只能指定1种元件。
2) 尺寸规格
元件
项目
标准
VCS
选购件
VCS
引脚元件
间距
0.5
~
22.0mm
0.2
~
11.0mm
引脚宽度
0.22
~
10.0mm
0.08
~
5.0mm
引脚长度
0.4
~
10.0mm
0.14
~
5.0mm
数量
1
~
384
根
/1
元件组
球/平面元件
间距
1.0
~
22.0mm
0.25
~
11.0mm
直径
0.4
~
5.0mm
0.1
~
2.5mm
数量
3
~
10000
根
/1
元件组
3) 外形元件类的形状·尺寸规格
· 角、边的形状规格与外形识别元件相同。
(请参见「4-3-5-2-9 图像的 ※外形识别元件的识别条件」。)
· 标记采用圆形和正方形的涂色标记。其尺寸为可用标准VCS在2~10mm的范围内进行识别。

EPU 使用说明书 第 6 章 通用图像元件
6-3
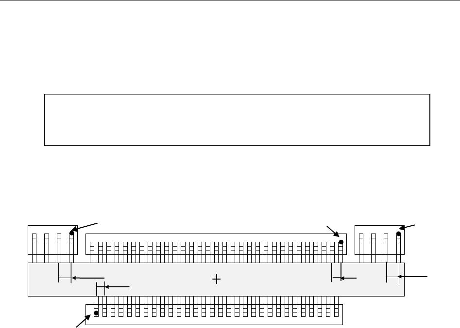
6-1-3 通用图像元件的数据制作概要
通过制作各元件组的数据来制作通用图像元件的数据。
各元件组的数据制作应输入下述各项:
①元件的信息(引脚或球、以及其大小、形状等)
②元件的数目与元件间的间距
③从元件识别中心位置到首元件
※
的距离
※
首元件
的定义如下。
·球元件 ⇒ 元件组内左下角的球。
·引脚元件 ⇒ 下边最左、右边最下、上边最右、左边最上的引脚。
例) 下列通用图像元件,需制作 4 个元件组数据(单位:mm)。
此处省略了上述①的元件信息输入方法。输入方法,请参见以下说明。
第 4 元件组
第 3 元件组
第 2 元件组
第 1 元件组
●第1元件组
·元件的数目及元件间的间距 ⇒ 数目:30,间距:1
·从元件识别中心位置到首元件的距离 ⇒ X:-14.5,Y:-4
●第2元件组
·元件的数目及元件间的间距 ⇒ 数目:4,间距:1.5
·从元件识别中心位置到首元件的距离 ⇒ X:21.5,Y:4
●第3元件组
·元件的数目及元件间的间距 ⇒ 数目:31,间距:1
·从元件识别中心位置到首元件的距离 ⇒ X:15,Y:4
●第4元件组的数据制作
·元件的数目及元件间的间距 ⇒ 数目:4,间距:1.5
·从元件识别中心位置到首元件的距离 ⇒ X:-17,Y:4
输入以上信息,即可完成通用图像数据的制作。
※括号内的数字为到元件
识别中心位置的距离
元件识别中心位置
(
0,0)
(
-14.5,-4)
(
-17,4)
(15,4)
(21.5,4)
1.5
1
1.5
1

EPU 使用说明书 第 6 章 通用图像元件
6-4
6-2 通用图像的输入项目
在「元件数据」里设置元件的通用图像后,「通用数据」的表格上将会显示「元素要素」按钮。
点击「元件要素」按钮后,将显示如下元件数据的制作画面。
●元件类型:选择 QFP 等引脚元件或 BGA 等的球元件或外形识别元件。
●定义数据格式
◇元件组/元件格式:是指定引脚、球等识别要素(元件),定义(间距、数量)相同识别要素的集合
(元件组),指定该组的方向、位置的数据定义。在制作“多引脚元件”和
“复合阵列元件”数据时选择。
◇扩展列数据格式: 用 X、Y 坐标来逐一指定、配置识别要素(球、平面)
的数据定义。在制作
“随机配置元件”数据时选择。
●元件组一览表: 用一览表来显示制作完成的元件组。
制作新建元件组时,请单击“追加”按钮,并在已存在的元件组编辑上单击“编辑”按钮。