KE2020取扱説明書VER.2.01.和文Rev.08.pdf - 第746页

13 - 6 13-5. マトリクス・トレイチェンジャ( マトリクス・トレイチェンジャ( マトリクス・トレイチェンジャ( マトリクス・トレイチェンジャ( MTC )の設置方法 )の設置方法 )の設置方法 )の設置方法 注意 不意の起動による事故を防ぐため,電源を切って行って下さい。 図 図 図 図 13-5- 1 1) 本体正面から 見て右奥部の MTC ガイドカバー①の中に MT C シャ トル部③が入るよ うに後方から MTC 本体…

100%1 / 1112
13 - 5
13-4. マトリクス・トレイホルダのフィーダバンクへの取り付け手順
マトリクス・トレイホルダのフィーダバンクへの取り付け手順マトリクス・トレイホルダのフィーダバンクへの取り付け手順
マトリクス・トレイホルダのフィーダバンクへの取り付け手順
(図
(図(図
(図13-4-1参照)
参照)参照)
参照)
注意
不意の起動による事故を防ぐため,電源を切って行って下さい。
1) サイドプレート①と,ロックレバー②をにぎり,ロックホルダ③を開きます。
2) リアバンクのフィクシングプレートに前面のピン④を差し込みます。
3) ピン④が差し込まれフロントプレート⑤がフィクシングプレートに突き当たった所で,サイドプレ
ート①とロックレバー②を離し,ロックホルダ③によりロックします。
4) 取りはずし方は,取り付け方の1)∼3)の逆を行って下さい。
13-4-1
󰑉
人身及び装置への損傷を防ぐため,トレイの取り付けは,マトリクストレイホ
ルダをフィーダバンクから取り外して行うか,または,本体が完全に停止して
いることを確認してから行って下さい。
フィーダバンクにマトリクストレイホルダをセットしたままトレイを取り付け
る場合,作業中の人以外が誤って操作することにより,不意の起動が起きない
よう,周囲に充分注意してから取り付け作業を行って下さい。
基準ピン
サイドプレート
トレーロックレバー
ロックホルダー
ピン
フロントプレート
フィッシングプレート
13 - 6
13-5. マトリクス・トレイチェンジャ(
マトリクス・トレイチェンジャ(マトリクス・トレイチェンジャ(
マトリクス・トレイチェンジャ(MTC)の設置方法
)の設置方法)の設置方法
)の設置方法
注意
不意の起動による事故を防ぐため,電源を切って行って下さい。
13-5-1
1) 本体正面から見て右奥部の MTC
ガイドカバー①の中に MTC シャ
トル部③が入るように後方から
MTC 本体④を移動します。
2) MTC 本体④を出来るだけカバー
RUR②に寄せて設置します。
3) ャトル部先端の切込み高さがフ
ィクシングプレート⑤の上面の高
さになるように MTC 本体のアジ
ャスタフットを調整します。
13-5-2.A矢視図
.A矢視図.A矢視図
.A矢視図
MTC ガイドカバー
カバーRUR
MTC シャットル部
MTC 本体
フロントプレート
A
MTC の操作方法については,別冊の
取扱説明書を参照して下さい。
注意
注意注意
注意 :
13 - 7
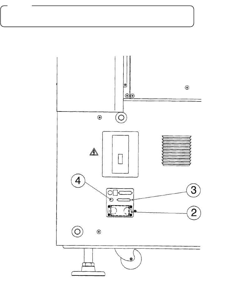
4) 本体右側面のインターフェースパネルに MTC 電源コネクタ②と信号コネクタ③と MTC 用エアー
継手④にエアーチューブを接続します。
ケーブルとエアーチューブは,MTC 添付品を御使用下さい。
13-5-3
MTC 用電源コネクタ
MTC 用インターフェースコネクタ
MTC φ 6 チューブ取出口
注意
注意注意
注意 :