5OM-1321-005_w.pdf - 第82页
2 - 21 Tg 1301 -ID-MD メカ周り部レイアウト 1 0602 - 001 -(M 831 YK--- 1001 ) メカ周り部レイアウト 1

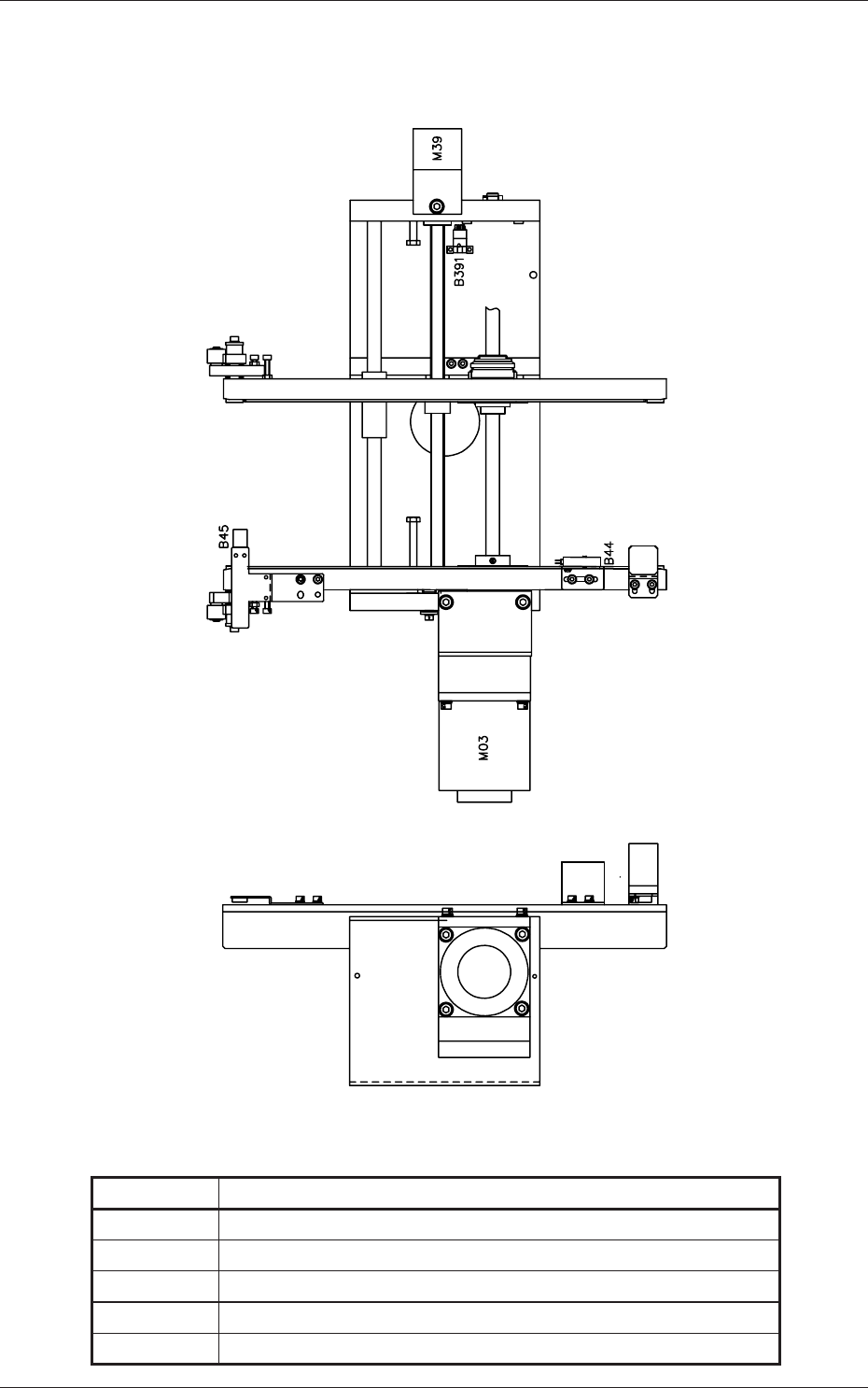
2-20
Tg1301-ID-MD
排出コンベア部レイアウト
0602-001-(M831YH---1002)
排出コンベア部レイアウト
Table 5C11
記 号 名 称
B44 基板到達確認
B45 基板通過確認
B391 R
コンベアレール幅オーバラン(+)
M03
R コンベアモータ
M39
R コンベア幅パルスモータ

2-21
Tg1301-ID-MD
メカ周り部レイアウト 1
0602-001-(M831YK---1001)
メカ周り部レイアウト 1

2-22
Tg1301-ID-MD
0602-001-(M831YK---1002)
メカ周り部レイアウト 2
メカ周り部レイアウト 2
Table 5C12
記 号 名 称
B46 基板認識 Y
軸インタロック
B331 基板認識 Y
軸原点
B334 基板認識 Y
軸回転原点