XP142E 系统手册 SYS-XP142-1.0S.pdf - 第32页
第 1 部 概要 此部分对操作面板触摸屏、按钮开关等机 器的特长进行说明。 1. 机器 --------------------------------------------- 1-1-1 1.1 开关类的使用方法 ----------------------------- 1-1-1 1.2 触摸屏的阅读方法·使用方法 -------------- 1-1-3 2. 用语集 -----------------------------…

安全指南
XP-142E 系统手册 16 Edition 1.0
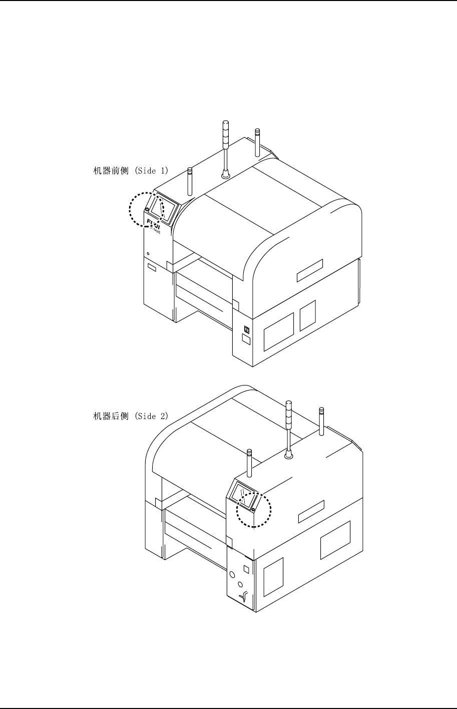
5. [紧急停止]按钮
发生紧急情况时,请按下任何一个红色的[紧急停止]按钮,使机器停止。[紧急停止]按钮的
位置如下图所示。
XP1MZ011S

第 1 部
概要
此部分对操作面板触摸屏、按钮开关等机
器的特长进行说明。
1. 机器--------------------------------------------- 1-1-1
1.1 开关类的使用方法 ----------------------------- 1-1-1
1.2 触摸屏的阅读方法·使用方法 -------------- 1-1-3
2. 用语集------------------------------------------ 1-2-1

第 1 部 第 1 章 机器
Edition 1.0 1-1-1 XP-142E 系统手册
1. 机器
1.1 开关类的使用方法
本机器采用触摸屏与按钮操作相结合的方式进行机器的控制。下面对在操作面板上的各种按
钮的作用进行说明。
XP1S1001S
启动
按下此按钮后机器开始运转。此按钮只有当机器处于等待指令 (即启动呈闪烁状态) 时才有
效。
运转准备
按下此按钮后清除错误状态,并给伺服系统提供 200 V 电源。
周期停止
要使运转中的机器在这一动作周期结束后停止时使用。
与[紧急停止]按钮不同,即使按下[周期停止]按钮也不能切断 200 V 电源。另外,动作模式
为[暂停]时,生产过程处于暂时停止状态。
控制电源开
按下此按钮后机器接通电源,启动机器的控制软件。