XP142E 系统手册 SYS-XP142-1.0S.pdf - 第61页
第 1 章 基本操作 第 2 部 XP-142E 系统手册 2-1-22 Edition1.0 1.9 机器的停止和重新启动 机器的紧急停止 · 按下机器上的 [ 紧急停止 ] 按钮。 ·按 下 [ 紧急停止 ] 按钮后, 切断供应 给 伺服系统的 200V 电源, 机器立即停止运转。 该 按钮是锁定式的,解除时请将其顺时针旋转。 · 重新开始运转时, 解除 [ 紧急停止 ] 按钮后, 请依次按下 [ 运转准备 ] 以及 [ 启动 ] …

第 2 部 第 1 章 基本操作
Edition1.0 2-1-21 XP-142E 系统手册
机器信息
显示机器信息画面(自动生产初始画面)。
吸嘴/料站统计信息
显示吸嘴/料站统计信息画面。
子电路板跳过信息
显示不更改生产程序就能跳过任意的子电路板的编辑器。
排出位置复位
在中型不良元件排放盘处将废弃元件的位置暂时清除。
影像监视
进行影像处理的监视。
1.7 完成目前的电路板
生产中的电路板(在主搬运轨道上)的生产结束后,在进入排出搬运轨道时可以使机器自
动停止的运转。
操作步骤
1. 在机器自动运转过程中,依次选择[自动]和[完成目前的电路板]。并 且、取消这个
功能时,请选择[完成目前的电路板]。
2. 生产中的电路板的生产结束后,在进入排出搬运轨道时机器会自动停止运转。
1.8 料尽料站的补充
生产过程中发生[料尽]、[影像处理错误]等问题时,机器会显示出错误信息画面。关闭
错误信息画面后,只要进行料尽的料站的元件补充(料站检查),就可以再次开始自动运
转。
此外,所谓料站检查是指选择 1.6 内的[运转中的画面显示]中的[更换完成]、[一次性更
换完成]键,使机器进入元件安装状态。
运行料站检查的条件可由固 有值“__DeviceSetChkUse”设定。
0:不进行料站检查。关闭错误 画面后,所有料站自动进入元件安装状态。
1、2: 只有发生料尽、吸取错误的料站才需要进行料站检查。发生影像处理错误
的料站会自动进入元件安装状态。
3: 发生料尽、吸取错误、画像处理错误的料站全部需要进行料站检查。

第 1 章 基本操作 第 2 部
XP-142E 系统手册 2-1-22 Edition1.0
1.9 机器的停止和重新启动
机器的紧急停止
· 按下机器上的[紧急停止]按钮。
·按下[紧急停止]按钮后,切断供应给伺服系统的 200V 电源,机器立即停止运转。
该按钮是锁定式的,解除时请将其顺时针旋转。
· 重新开始运转时,解除[紧急停止]按钮后,请依次按下[运转准备]以及[启动]按钮。
结束当前的周期后机器停止运转
·按下[周期停止]按钮。结束当前动作中的周期,机器停止运转。即使按下[周期停
止]按钮,也不能切断 200V 电源。
· 要使机器重新启动,请按下[启动]按钮,。
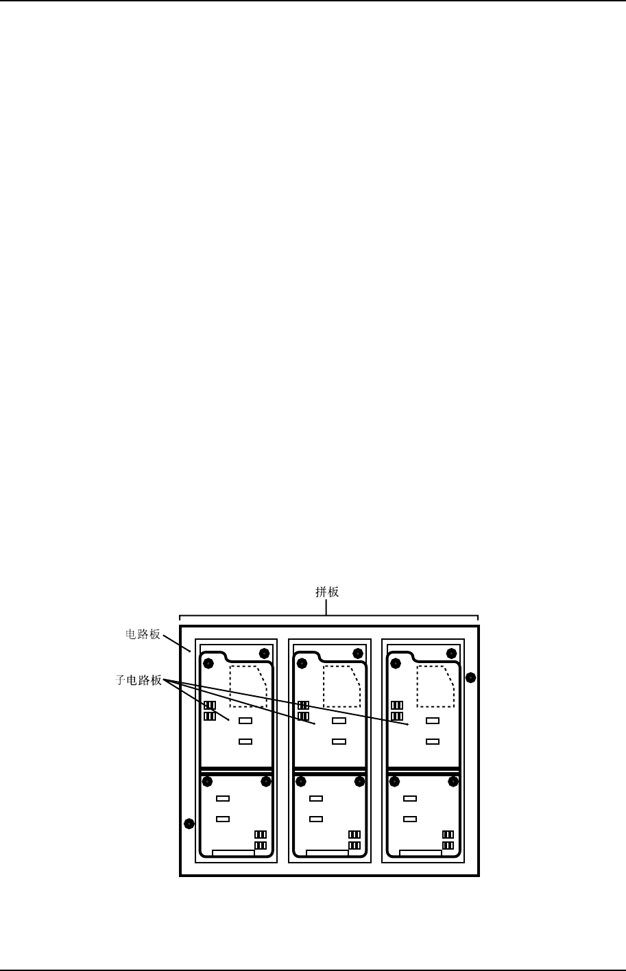
1.10 子电路板跳过
在进行拼板生产的时候,由于子电路板有缺陷等原因。可 以 指定某个子电路板不必生产
(跳过)。使用 2 种方法设置子电路板的跳过。
· 由生产程序进行子电路板跳过
设定子电路板跳过可在生产程序中预先设定要跳过的子电路板。
· 由跳过定位点自动进行子电路板跳过
· 在电路板上读取所设定的子电路板跳过定位点,当机器检验子电路板上相应的定
位点时,将自动跳过子电路板的生产。有关在程序上设定子电路板跳过定位点的
方法,请参照关于在程序上读取已设定的定位点的主机系统手册。
XP1S2032S

第 2 部 第 1 章 基本操作
Edition1.0 2-1-23 XP-142E 系统手册
1.10.1 子电路板跳过
使用主跳过定位点,可 以 缩短拼板生产时的 周期时间。使用者在生产程序上对子电路板
No.0 设定主跳过定位点后。生产时机器会首先检查有无主跳过定位点。操作者事先在
子电路板位置上设定跳过定位点后,机器由此确定要进行生产的电路板上是否存在需要
跳过的电路板,为了判断哪一块电路板需要跳过而对所有的子电路板跳过定位点进行读
取。在没有检出时主跳过定位点时,机器不进行没有必要的子电路板定位点的读取,而
立即进行所有电路板的贴装。由此省去了不必要的读取定位点的作业时间。有 关 跳过定
位点的设定方法,请参照监控电脑的有关手册。
1.10.2 由跳过定位点进行子电路板跳过
检测出跳过定位点时,生产中将会自动跳过所对应的子电路板。在使用主跳过定位点时,
机器在检测出主跳过定位点后进行在各个子电路板设定子电路板跳过定位点的检验,判
断对哪块子电路板进行跳过,对没有检验出子电路板跳过定位点的子电路板贴装元件后
排出电路板。
1.10.3 由子电路板跳过编辑器进行的子电路板跳过
使用子电路板跳过编辑器可不更改生产程 序就任意跳过电路板。
操作步骤
1. 从主画面的[生产]或者从[生产]→[自动]中选择[子电路板 跳过编辑]。
XP2S2248S