通用机械夹头使用说明书.pdf - 第14页
1. 概要 INS-MULTICHK-2.0S 4 NXT/AIM 通用机械夹头使用说明书 1.3 通用机械夹头套件 通用机械夹头套件有基本配置和 完整配置 2 种。 1.3.1 基本配置的内容 基本配置中包含 1 个夹头台座、3 种爪部件和 3 种爪块部件。 品名 型号、规格 个数 图号 机械夹头台座 - 1 AA61F** 爪块部件 A-2.5 2 PM05DW* 爪块部件 B-2.5 2 PM05DZ* 爪块部件 C-2.5 2 …

INS-MULTICHK-2.0S 1. 概要
NXT/AIM 通用机械夹头使用说明书 3
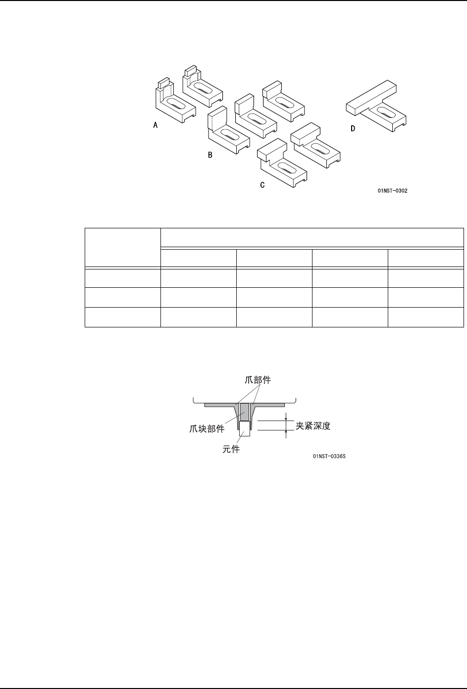
1.2.3 爪块部件
爪块部件根据夹紧深度和接触面尺寸存在 8 种类型。
型号
*:夹紧深度是由从爪前端到爪块的接触面间的距离决定的。爪块越高夹紧就越浅,反之,
爪块越低夹紧就越深。
夹紧深度
(mm) *
接触面尺寸 (mm)
3.0 x 0.8 5.0 x 1.4 7.0 x 3.0 14.0 x 3.0
1.5 A-1.5 B-1.5 - -
2.5 A-2.5 B-2.5 C-2.5 -
3.5 - B-3.5 C-3.5 D-3.5

1. 概要 INS-MULTICHK-2.0S
4 NXT/AIM 通用机械夹头使用说明书
1.3 通用机械夹头套件
通用机械夹头套件有基本配置和完整配置 2 种。
1.3.1 基本配置的内容
基本配置中包含 1 个夹头台座、3 种爪部件和 3 种爪块部件。
品名 型号、规格 个数 图号
机械夹头台座 - 1 AA61F**
爪块部件 A-2.5 2 PM05DW*
爪块部件 B-2.5 2 PM05DZ*
爪块部件 C-2.5 2 PM05EC*
爪部件 W016-S 2 PM05EH*
爪部件 W040-S 2 PM05EK*
爪部件 W160-S 2 PM05EM*
专用盒 - 1 AA71W**
黑色圆头小螺钉 M2 x 4 20 K52544
2D 代码标签 通用机械夹头用 2D 代码 2 PX0862*
转矩螺丝刀 RNTD30CN x 23cNm 1 T50610
转矩螺丝刀用转头 六角转头 B-W1.27 1 H2210A
修正笔 MH6707 黑色无光泽 13 ml 1 M1046W

INS-MULTICHK-2.0S 1. 概要
NXT/AIM 通用机械夹头使用说明书 5
1.3.2 完整配置的内容
完整配置中包含 1 个夹头台座、8 种爪部件和 8 种爪块部件。
品名 型号、规格 个数 图号
机械夹头台座 - 1 AA61F**
爪块部件 A-1.5 2 PM05DT*
爪块部件 A-2.5 2 PM05DW*
爪块部件 B-1.5 2 PM05DY*
爪块部件 B-2.5 2 PM05DZ*
爪块部件 B-3.5 2 PM05EA*
爪块部件 C-2.5 2 PM05EC*
爪块部件 C-3.5 2 PM05ED*
爪块部件 D-3.5 2 PM05EG*
爪部件 W016-S 2 PM05EH*
爪部件 W040-S 2 PM05EK*
爪部件 W080-S 2 PM05EL*
爪部件 W160-S 2 PM05EM*
爪部件 W240-S 2 PM05EN*
爪部件 W040-M 2 PM05ER*
爪部件 W080-M 2 PM05ES*
爪部件 W160-M 2 PM05ET*
专用盒 - 1 AA71W**
黑色圆头小螺钉 M2 x 4 20 K52544
2D 代码标签 通用机械夹头用 2D 代码 2 PX0862*
转矩螺丝刀 RNTD30CN x 23cNm 1 T50610
转矩螺丝刀用转头 六角转头 B-W1.27 1 H2210A
修正笔 MH6707 黑色无光泽 13 ml 1 M1046W