P-0237-001.pdf - 第55页
Key No. P AR T No. P AR T NAME Q’ty REMARKS NOTE MODEL TCM-X1 10M 0405-001 53 703 41 1 141 6705 WASHER SPR 5 2 818E--010-703 705 630 1 17 2132 SUPPORT(R) 1 818E--010-705 706 630 067 0240 BOL T 3 818E--010-706 707 41 1 14…

MODEL TCM-X110M
0405-001
52
中間ベース部
MIDDLE BASE SECTION
Fig. E-8
部品落下防止カバー
Component Drop Prevension Cover

Key No. PART No. PART NAME Q’ty REMARKS
NOTE
MODEL TCM-X110M
0405-001
53
703 411 141 6705 WASHER SPR 5 2 818E--010-703
705 630 117 2132 SUPPORT(R) 1 818E--010-705
706 630 067 0240 BOLT 3 818E--010-706
707 411 141 2905 WASHER SPR 4 4 818E--010-707
708 411 141 4008 WASHER V 4X9X0.8 4 818E--010-708
709 630 000 7749 BOLT,HEX-SCT 7 818E--010-709
710 630 117 2125 COVER 1 818E--010-710
712 630 115 0529 SPRING,FLAT 2 818E--010-712
713 630 070 9902 MACHINE SCREW 4 818E--010-713
714 630 117 0459 SUPPORT 1 818E--010-714
715 630 117 2156 SUPPORT 2 818E--010-715
716 630 117 2149 SUPPORT(L) 1 818E--010-716
717 630 112 2908 PLUNGER 2 818E--010-717
720 630 000 7619 BOLT,HEX-SCT 4 818E--010-720
721 630 122 6385 PLATE 1 818E--010-721
722 630 117 1586 SUPPORT 1 818E--010-722
723 411 002 2600 SCR FLT 3X6 4 818E--010-723
725 630 117 2279 GUIDE 1 818E--010-725
726 630 071 9161 BOLT,HEX-SCT 2 818E--010-726
727 630 113 9616 HOLDER 1 818E--010-727
728 630 113 9586 HANDLE 1 818E--010-728
729 630 001 3962 SPRING,COMP 1 1128 818E--010-729
730 630 117 7335 BRACKET 1 818E--010-730
731 630 000 7626 BOLT,HEX-SCT 2 818E--010-731
732 411 141 2905 WASHER SPR 4 2 818E--010-732
733 411 141 4008 WASHER V 4X9X0.8 2 818E--010-733
734 630 000 7756 BOLT,HEX-SCT 2 818E--010-734
735 411 141 6705 WASHER SPR 5 2 818E--010-735
736 630 029 1391 WASHER 2 818E--010-736
743 411 141 5609 WASHER F 2.5X5X0.5 4 818E--010-743
E-8

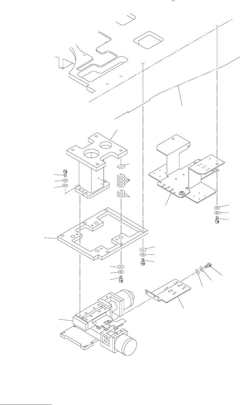
MODEL TCM-X110M
0405-001
54
認識ユニット部
RECOGNITION UNIT SECTION
Fig. EB-2
スコープXYユニット
Scope XY Unit
119
111
120
108
112
108
112
121
115
114
113
107
109
108
106
105
104
See Fig.L-1
Key No.12
118
117
103
110
102
101